Сигнал-генератор с контурами ударного возбуждения
А. Ковалев, Радио №9/1964, ст.39
При налаживании высокочастотной части радиоприемников широко используются генераторы стандартных сигналов. Главное требование, предъявляемое к ним, заключается в том, что погрешность отсчета по высокой частоте не должна превышать 1—2%. Поэтому наряду с ГСС можно использовать высокочастотные генераторы упрощенных типов. Разумеется, такие генераторы нельзя применять в измерительной аппаратуре, где требуется высокая стабильность и точность отсчета выходного напряжения.
Описываемый генератор надежен в эксплуатации, изготовление его доступно начинающему радиолюбителю. Он имеет три диапазона частот: длинноволновый (150—415 кгц), средневолновый (520— 1600 кгц) и коротковолновый (3,9— 7,4 Мгц). Кроме того, предусмотрена фиксированная настройка на частоту 465 кгц. Высокочастотное напряжение на выходе прибора изменяется в пределах диапазона от 2 в до 500 мв. Прибор питается от батареи КБС-Л-0,5, потребляемый ток 30 ма.
В генераторе использован способ ударного возбуждения параллельного контура. Как известно, при резком изменении величины тока I в неразветвленной цепи (рис. 1,а) в контуре возникает нестационарный колебательный процесс, представляющий собой серию затухающих колебаний (рис. 1, а, б).

Скорость затухания колебаний определяется сопротивлением контура и величиной шунтирующего сопротивления. Шунтирующее сопротивление нельзя выбирать очень малым, иначе в контуре возникает не колебательный, а апериодический процесс (рис. 1, в). Частота колебаний определяется параметрами контура ударного возбуждения.
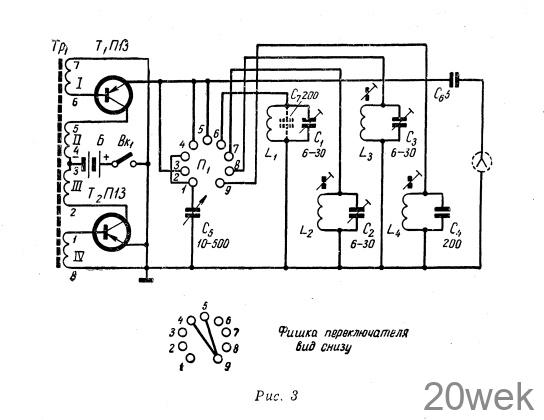
Таким образом, если на контур периодически подавать прямоугольные импульсы тока, колебания ВЧ окажутся промодулированными (рис. 2). Генератором импульсного тока в данном случае служит преобразователь напряжения, собранный на транзисторах Т1 и Т2 (рис. 3). Выводы обмоток трансформатора на схеме пронумерованы, так как очень важно правильно включить обмотки. Практически преобразователь не требует налаживания и устойчиво работает даже в том случае, если параметры транзисторов намного отличаются друг от друга.

Контур L1С1 работает в диапазоне 3,9—7,4 Мгц, L2C2 — в диапазоне 520—1600 кгц, L3C3—150—415 кгц, а контур L4C4 настроен на промежуточную частоту 465 кгц. Транзистор Tр1 работает в режиме ключа, создавая прямоугольные импульсы тока, которые возбуждают колебания ВЧ в соответствующем контуре.

Переключателем П1 выбирают нужный диапазон частот. Переменным конденсатором С5 можно плавно изменять частоту в пределах каждого диапазона. Напряжение ВЧ снимается непосредственно с контура и через конденсатор С6 подается на выход прибора.
Конструкция и детали. Генератор смонтирован на гетинаксовой плате размерами 115 X 80 мм, которая помещена в металлический футляр размерами 120 X 85 X 38 мм. Все органы управления выведены на верхнюю крышку. Нижняя крышка съемная. Детали припаяны к полым латунным заклепкам. Применен метод печатного монтажа, однако можно использовать обычные монтажные провода.
Конденсатор переменной емкости С5, трансформатор задающего генератора и переключатель диапазонов самодельные.
Конструкции малогабаритных переменных конденсаторов были подробно описаны в журнале Радио. Можно применить стандартные конденсаторы с воздушным диэлектриком, но при этом соответственно увеличиваются размеры прибора.
Трансформатор Tp1 выполнен на ферритовом кольце диаметром 8— 10 мм и магнитной проницаемостью m= 1000.
Обмотка I содержит 40 витков, обмотки II и III по 100 витков, обмотка IV—20 витков провода ПЭЛШО 0,08—0,1. Переключатель диапазонов изготовлен из девятиштырьковой ламповой панели и специальной фишки. Такой фишкой служит ручка типа «клювик».
В нижней части ручки сверлят 3 отверстия таким образом, чтобы они совпадали с 4,5 и 9 отверстиями ламповой панели. В них плотно вставляют отрезки медной или латунной проволоки диаметром 0,8 мм. Концы проволоки обрезают в 10 мм от торца ручки. Полученные таким образом штырьки соединяют тонким голым проводом так, как показано на рис. 3. Можно применить стандартный переключатель на пять положений, но это приведет к увеличению размеров прибора.
Контурные катушки L1—L3 —это катушки входных контуров длинных, средних и коротких волн радиоприемника «Урал-59». Вместе с контурными катушками на каркасах намотаны катушки связи с антенной, имеющие в 3—4 раза большее число витков. Их не используют. Намоточные данные катушек приведены в таблице

Можно использовать входные контуры любого другого приемника, работающего в тех же диапазонах.
Катушка контура промежуточной частоты намотана на каркасе диаметром 6,2 мм, высотой 7 мм. После намотки катушку вставляют в броневой сердечник СБ-1 а, обе половины которого склеивают клеем БФ-2.
В качестве выключателя питания Bk1 применен стандартный тумблер. Подстроечные конденсаторы C1—Сз типа КПК-1.
Транзисторы T1 и Т2 (П13) можно заменить любыми другими маломощными плоскостными транзисторами. Для шкалы настройки из дюралюминия или латуни толщиной 1,5— 2 мм вырезают диск диаметром 750 мм с отверстием в центре для оси конденсатора. Этот диск прикрепляют заклепками или пайкой к верхней крышке прибора таким образом, чтобы отверстия для оси конденсатора в крышке и на диске совпали. На диск наклеивают шкалу из плотной бумаги. К ручке конденсатора снизу клеем БФ приклеивают диск из органического стекла толщиной 1 мм и диаметром 750 мм. С нижней стороны по диаметру этого диска острой иглой наносят линию — указатель, которую заливают черной тушью. После высыхания туши ручку с диском надевают на ось конденсатора и закрепляют
Налаживание и градуировка. Если схема собрана правильно и все детали исправны, то прибор сразу начинает работать. При этом трансформатор Tp1 издает слабый звук высокого тона. В противном случае необходимо поменять местами концы обмоток I или IV. Для градуировки прибора в любительских условиях лучше всего воспользоваться радиоприемником, имеющим оптический индикатор настройки. Выход генератора соединяют с зажимами «антенна» и «земля» приемника. Сердечники катушек и роторы полупеременных конденсаторов генератора устанавливают в средние положения. Для данной конструкции безразлично, с какого диапазона начинать регулировку, например, можно начать со средневолнового. Предварительно настраивают приемник на начальную волну средневолнового диапазона. Устанавливают ротор переменного конденсатора С6 в положение, соответствующее минимальной емкости, и вращением ротора конденсатора С2 добиваются максимального напряжения сигнала на выходе приемника.
Максимум сигнала отмечают на слух или, что точнее, по минимальному теневому сектору оптического индикатора. После этого перестраивают приемник на конечную волну средневолнового диапазона, полностью вводят переменный конденсатор генератора и вращением сердечника катушки L2 также добиваются максимального напряжения сигнала на выходе приемника. В случае применения самодельных катушек возможно не удастся вращением сердечника добиться максимума, тогда необходимо изменить число витков. Так как изменение индуктивности катушки контура изменяет его настройку, необходимо проверить совпадение настроек в начале диапазона и в случае необходимости несколько подрегулировать емкость конденсатора С2. Установив границы диапазона, переходят к градуировке. Для этого приемник последовательно настраивают на длины волн, отличающиеся друг от друга на 50 м (200, 250, 300, 350 м и др.), и в каждой точке вращением ротора конденсатора С5 добиваются максимума сигнала на выходе приемника.. Отмечают эти точки на шкале генератора. Они соответствуют частоте, на которую настроен приемник.
Совершенно аналогично настраивают остальные диапазоны генератора. При настройке контура ПЧ первый фильтр ПЧ приемника соединяют с выходом генератора через конденсатор емкостью 5000 пф. Лампу преобразователя при этом надо отключить. Необходимо помнить, что эти контуры приемника находятся под высоким напряжением. Настраивают по максимуму выходного сигнала вращением сердечника катушки L4.
Если в распоряжении радиолюбителя есть ламповый вольтметр, то полезно снять амплитудно-частотную характеристику прибора и построить графики зависимости выходного напряжения от частоты. Для удобства пользования прибором шкалу следует градуировать одновременно в метрах и мегагерцах. Методы настройки радиоаппаратуры с помощью такого сигнал-генератор а ничем не отличаются от ранее описанных методов.





