«Рига-301»
С. РАЙШЕНОК, А. ВРАЧ, Ю. ИЗАК, Радио №7/1967, ст.17
Малогабаритный переносный транзисторный радиоприемник «Рига-301» разработан в двух вариантах — «Рига-301 А» и «Рига-301 Б». Оба варианта приемника рассчитаны для приема радиовещательных станций, работающих в диапазонах длинных волн (ДВ) 735—2000 м (408— 150 кгц) о средних волн (СВ) 187— 571,2 м (1605— 525 кгц). Максимальная чувствительность приемников при 5 мет выходной мощности в диапазоне ДВ не хуже 0,7 мв/м, в диапазоне СВ — не хуже 0,4 мв/м реальная чувствительность соответственно 2,0 мв/м и 1,2 мв/м. Избирательность но соседнему каналу при расстройке на ±Ю кгц в диапазонах ДВ и СВ — не менее 26 дб, по зеркальному каналу и на частоте, равной промежуточной,— не менее 20 дб. Промежуточная частота 465 ±2 кгц, номинальная выходная мощность 150 мвт, к. п. д. при максимальной выходной мощности — не менее 40%; коэффициент нелинейных искажений при номинальной выходной мощности по всему тракту — не более 8%; частотная характеристика по звуковому давлению по всему тракту усиления в диапазонах ДВ и СВ —3504-3 500 гц (при неравномерности соответственно 18 и 14 дб).

Питание приемника «Рига-301 А» осуществляется от 6 элементов типа «316», соединенных последовательно, а приемника «Рига-301 Б» — от двух соединенных последовательно батарей КБС-Л-0,5. В качестве источника питания в обоих вариантах приемника могут быть применены батареи «Крона» пли 7Д-0,1.
Основные параметры приемника сохраняются при снижении напряжения источника питания до 7,2 в, а реальная чувствительность и избирательность — при напряжении до 6,3 в. Работоспособность приемника обеспечивается при напряжении питания до 4 в.
В обоих вариантах приемника предусмотрена возможность подключения внешнего телефона или дополнительного громкоговорителя, внешней антенны и заземления.
Габариты модели «Рига-301 А» — 173X98X47 мм, вес 550 г, модели «Рига-301 Б»—203X110X52 мм, вес 750 г.
Принципиальная схема Входная цепь радиоприемника (рис. 1) представляет собой встроенную магнитную антенну с контурными катушками, имеющими трансформаторную связь с базой транзистора преобразователя частоты (Т1). Особенностью схемы включения входных контурных катушек является то, что средневолновая катушка выполнена в виде двух отдельных катушек (L1 и L2), а в диапазоне ДВ все три катушки (L1, L2 и L4) включаются последовательно; в диапазоне СВ длинноволновая контурная катушка L4 подключается параллельно катушке СВ (L2).

Такая схема включения контур ных катушек дает возможность полностью использовать эффективность магнитной антенны не только в диапазоне ДВ, но и в диапазоне СВ. В выпускаемых приемниках аналогичного типа, как правило, при работе в диапазоне СВ длинноволновая контурная катушка закорачивается, а это ведет к уменьшению действующей высоты магнитной антенны.
Преобразователь частоты собран на транзисторе типа ГТ309А. Его гетеродинная часть представляет собой индуктивную «трехточку». Напряжение гетеродина вводится в цепь эмиттера, а сигнала — в цепь базы Т1. Схема преобразователя «Риги-301» при своей простоте работает довольно устойчиво, однако при неправильной намотке катушек связи гетеродинных контуров (L7 и L9) в преобразователе могут возникнуть паразитные колебания (на высокочастотном конце диапазона). Для устранения паразитных колебаний коллекторную и эмиттерную части катушек связи максимально разносят (они наматываются на противоположных концах контурной катушки).
Усилитель ПЧ — двухкаскадный. Оба каскада собраны на транзисторах типа ГТ309 (T2, T3). Схема построения усилителя ПЧ, детектора сигнала и АРУ относительно проста и особого пояснения не требует.
Избирательность приемника в основном обеспечивается двухконтурным полосовым фильтром (L11С17; L12С19 и С18) включенным на выходе преобразователя и слабо связанным со входом усилителя ПЧ. В обоих каскадах усилителя ПЧ применена нейтрализация внутренней обратной связи транзисторов (С21 и С26).
Усилитель ПЧ — трехкаскадный. Его первые два каскада собраны на транзисторах типа ГТ108В (Т4, Т5), а последний каскад усилителя мощности — на транзисторах типа МП41 (Т6, Т7). Чувствительность усилителя НЧ при выходной мощности 50 мвт составляет 3—6 мв, входное сопротивление па частоте 1 000 гц — 6—7 ком, коэффициент нелинейных искажений при выходной мощности 150 мвт. — не более 3% в диапазоне частот 350—3500 гц.
Режимы транзисторов по постоянному току приведены в табл. 1.

Приемник собран в прямоугольном корпусе из литого ударопрочного полистирола марки УП. «Рига-301 А» имеет горизонтальную шкалу, расположенную на передней панели. На правой боковой стенке корпуса расположены ручка настройки, гнезда наружной антенны и заземления. Ручка регулятора громкости с выключателем питания и гнездо для внешнего телефона вынесены на левую боковую стенку. «Рига-301 Б» имеет тоже горизонтальную шкалу, но она расположена на верхней стенке корпуса. Справа на шкале находится ручка настройки, а слева — ручка регулятора громкости с выключателем питания. Гнезда внешнего телефона, наружной антенны и заземления расположены на правой боковой стенке корпуса. Шкала диапазонов ДВ и СВ в обоих вариантах приемника отградуирована в килогерцах. Переключатель диапазонов размещен с задней стороны корпуса приемника. «Рига-301 А» комплектуется специальной кассетой для батарей типа «316», а «Рига-301 Б» — контактной пластиной для подключения двух батарей типа КБС-Л-0,5. Общий вид обоих вариантов приемника показан на фото (см. 2-ю стр. вкладки).

Монтаж приемника выполнен на одной печатной плате. Размещение узлов и деталей на плате и монтажная схема приемника приведены на 2-й странице вкладки.
Катушки входных контуров L1—L5 намотаны на трех отдельных каркасах, размещенных на круглом стержне из феррита Ф-600 диаметром 8 и длиной 140 мм. На одном из каркасов, изготовленном из кабельной бумаги, намотана катушка L1 длина каркаса 32 мм, длина намотки 30 мм. На втором каркасе, тоже из кабельной бумаги, намотаны катушки L2 L3; Длина каркаса 25,5 мм, длина намотки 23,5 мм. На третьем каркасе (из полистирола) намотаны катушки L4, L5; обмотки размещены в восьми секциях, ширина каждой секции—2 мм. Катушки фильтров и трансформаторов ПЧ намотаны на броневых сердечниках из феррита Ф-600 диаметром 8,3 мм и помещены в экраны. Гетеродинные катушки диапазонов ДВ и СВ намотаны на стандартных четырехсекционных каркасах из полистирола. Обмотки контурных катушек L6 и L8 размещены равномерно во всех четырех секциях. Катушка связи СВ (L7) размещена поверх катушки L6: во второй секции 3,5 витка, в третьей — 1 виток и в четвертой —6.5 витка. В таком же порядке размещена и катушка связи ДВ L9 (4,5+2+7,5 витков).
Намоточные данные всех катушек приведены в табл. 2, а распайка их выводов показана на рис. 2.


Согласующий (Tp1) и выходной (Тр2) трансформаторы намотаны на сердечниках из пермаллоя марки 50Н с сечением магнитопровода 5X6 мм. Индуктивность обмотки I Тр1 при токе подмагничивания 1,5 ма составляет 1,8—2,0 гн, а обмотки I Тр2—0,7—0,8 гн. У обоих трансформаторов первичные обмотки размещены между вторичными обмотками. Намоточные данные трансформаторов приведены в табл. 3, а распайка их выводов показана на рис. 3.


В приемнике применены резисторы типа УЛМ, конденсаторы типа КТ-la, К10-7В, К50-6 и ПМ-2, блок конденсаторов переменной емкости типа КПТМ-1 с твердым диэлектриком. Минимальная емкость конденсатора 6 пф, максимальная —260+5 пф. Переключатель диапазонов — типа МДПВ-1-1-6. Верньерное устройство обеспечивает 7-кратное замедление передачи с ручки настройки на ось блока КИЕ. Громкоговоритель 0.25 ГД-РРЗ, примененный в приемнике, имеет номинальную мощность 0,25 вт, сопротивление его звуковой катушки постоянному току — 10 ом±10% , номинальный диапазон частот при неравномерности 14 дб —350-4000 гц.
Короткие волны
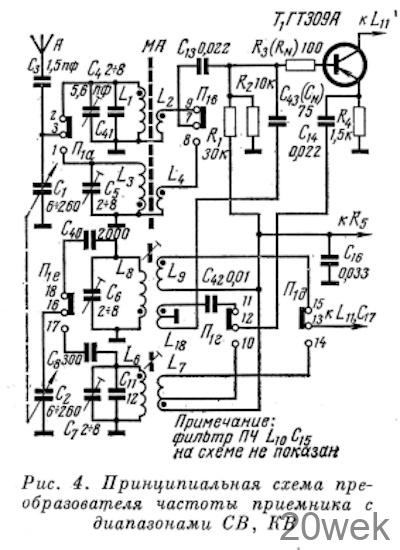
Конструкция и схема приемника «Рига-301» позволяет без существенных переделок выпускать модель с диапазоном коротких волн 25—75 м (пли другим). При этом печатная плата приемника остается без изменения. Изменения касаются лишь шкалы и входного и гетеродинного контуров. Схема входных цепей и преобразователя частоты варианта приемника с диапазонами СВ, КВ приведена на рис. 4. Связь входных контуров с транзистором Т1 преобразовательного каскада — трансформаторная.

Схема гетеродинной части, как и в варианте ДВ, СВ — индуктивная «трехточка» с подачей напряжения гетеродина в цепь эмиттера, то есть транзистор (гетеродин) работает в схеме с общей базой.
Однако, как видно из схемы преобразователя (рис. 4), база транзистора Т1 не находится под «нулевым» потенциалом, так как она соединена с обмоткой связи входного контура. И, если в диапазонах ДВ и СВ это почти не оказывает влияния на работу гетеродина, то на КВ диапазоне, вследствие относительно малой разности частот сигнала и гетеродина, входной контур оказывается близко настроенным к частоте гетеродина, и на катушке связи, а следовательно, и на базе появляется значительное напряжение частоты гетеродина, резко меняющееся с настройкой входного контура, что нарушает нормальную работу преобразователя (появляется паразитная генерация; срываются колебания гетеродина; наблюдается уход частоты).
Примененная в приемнике схема гетеродина на КВ диапазоне отличается от обычной наличием дополнительной обмотки (нижняя половина аняет влияние входного контура на гетеродин. На рис. 5 приведена эквивалентная схема гетеродинной части диапазона КВ. Рассматриваемая схема является мостовой; мост состоит из двух катушек (половин L18), связанных с контурной катушкой гетеродина и имеющих противоположное направление витков, причем правая катушка является катушкой обратной связи. Кроме того, в мост входит цепочка нейтрализации CnRn (в нашем случае С43, R3); одной диагональю моста является эквивалентная схема участка эмиттер-база транзистора. При балансе моста (устанавливается изменением CN) напряжение в диагонали моста «А»—«Б», определяющее напряжение гетеродина на базе, равно нулю.

Необходимо коротко остановиться на особенностях настройки описанной мостовой схемы. У различных экземпляров транзисторов имеется разброс проводимости участка «эмиттер-база», а проводимость в свою очередь зависит от режима транзистора (IЭ) и частоты. Поэтому в каждом отдельном случае необходимо производить настройку моста пли же мириться с некоторой разбалансировкой моста при установке средних значений CN, RN. В последнем случае будет наблюдаться некоторое влияние настройки входных цепей на гетеродин. Обычно элементы нейтрализации рассчитываются и подбираются на высокочастотном конце КВ диапазона, где взаимное влияние цепей максимально.
Для проверки правильности настройки моста к точкам «эмиттер-земля» подключают высокочастотный вольтметр (например, ВЗ-4), затем конденсатором в 0,01—0,033 мкф замыкают точки «база-земля»; при хорошей балансировке показания вольтметра почти не меняются. Проверка и регулировка моста на «нуль» напряжения гетеродина на базе не всегда дает правильный результат, так как на входной контур наводится напряжение гетеродина по другим каналам (магнитная связь с контуром гетеродина; связь по общим цепям). Эта наводка вредно сказывается не только на КВ диапазоне, но и на ДВ и СВ, поэтому при конструировании и монтаже приемника следует свести к минимуму цепи с общим прохождением токов входного и гетеродинного контуров, а также по возможности исключить магнитную связь между ними (разнос; ориентировка магнитных полей; экранировка; применение гетеродинных катушек с броневыми сердечно вамп).
Катушки входных контуров L1— L4 в варианте приемника с СВ, КВ диапазонами размещены па стержне из феррита 150-ВЧ диаметром 8 и длиной 125 мм. Катушка L1 входного контура КВ намотана на гладком картонном каркасе и содержит 11 витков провода Г1ЭВ 0,64 с шагом намотки 1,4 мм. Катушка связи L2 имеет 1 виток провода ПЭЛШО 0,18. Катушка входного контура СВ (L3) этого варианта приемника содержит 85 витков провода ПЭВ-2 0,18 с шагом намотки 0,36 мм, а катушка связи L4 — 8 витков такого же провода, намотанных виток к витку. Конструкция магнитной антенны варианта СВ, КВ приведена на рис. 6.

Катушки гетеродинного контура КВ диапазона намотаны на гладком цилиндрическом каркасе диаметром 6 мм с сердечником из феррита Ф-100 диаметром 2,8 и длиной 14 мм. Катушки содержат: L8 — 21 виток провода ПЭЛШКО 0,2, индуктивность катушки 5,1 мкгн’, — 6 витков провода ПЭЛШКО 0,2; L18— 2 витка провода ПЭЛШКО 0,1 с отводом от середины.
Общий вид приемника «Рига-301 А» (варианта с ДВ, СВ диапазонами) со снятой задней крышкой показан на рис. 7, а, а приемника «Рига-301 Б» — на рис. 7, 6.

