РЕГЕНЕРАТИВНЫЙ ПРЕСЕЛЕКТОР-ПРЕОБРАЗОВАТЕЛЬ
Р. Гаухман, И. Танакин, Радио №2/1965, ст. 17
Преселектор-преобразователь используется в качестве приставки к связному КВ приемнику. Он состоит из регенеративного усилителя ВЧ с катодным повторителем и гетеродина, который включается в том случае, если в приемнике отсутствуют какие-нибудь диапазоны. В этом случае преселектор работает как конвертер, сохраняя все свои свойства. Возможно также установить преселектор непосредственно в приемнике в виде отдельного блока.
Принцип работы регенеративных преселекторов (усилителей ВЧ с обратной связью), их преимущества и недостатки, а также особенности настройки были рассмотрены в «Радио», 1960, № 9 и 1962, № 4. Однако следует сделать некоторые дополнительные разъяснения. Как известно, в двадцатых и тридцатых годах большинство коротковолновиков имело приемники прямого усиления. Основным узлом таких приемников, определявшим их чувствительность и избирательность, был регенеративный каскад. Эффективность регенераторов, как сокращенно называют такие приемники, такова, что даже простейший 0-V-1 позволяет услышать КВ станции, максимально удаленные от места приема. Но прошли годы, возросли требования к качеству радиоаппаратуры, и в настоящее время любительские КВ радиостанции оснащены исключительно сложными супергетеродинными приемниками с кварцевыми и другими фильтрами. Понятно, что сейчас многие радиоспортсмены только теоретически представляют, что «может» и что «не может» регенератор. Между тем применение регенеративных каскадов в супергетеродинах в известных случаях позволяет значительно улучшить качество работы приемника в целом и тем в большей степени, чем проще приемник. Например, в городах и районах, находящихся в непосредственной близости от передающих радиоцентров, помехи зеркального канала нередко заглушают сигналы любительских радиостанций и в приемниках с резонансным усилителем ВЧ, так как полоса пропускания входных цепей приемников, собранных по обычным схемам, нередко в десятки раз превышает полосу пропускания тракта ПЧ и может иметь ширину до 150 кгц\ В каскаде с обратной связью добротность контура повышается и имеет эквивалентное значение

где М — степень связи, S — крутизна характеристики лампы, С и L — величины емкости и индуктивности контура, R — активное сопротивление контура.
Из этой формулы видно, что при увеличении обратной связи R как бы уменьшается, а добротность контура может при этом достигать величины от 1000 до 9000. Полоса пропускания контура с Qэ=2000 (эта величина добротности вполне может быть достигнута во всем КВ диапазоне) на частотах 14-15 МГц вместо 150 кгц будет равна всего 7,5 кгц! Такое сужение полосы сопровождается значительным возрастанием усиления всего тракта ВЧ (усилителя или первого преобразователя). Это позволяет добиться в приемнике с регенеративным каскадом чувствительнести 0,2—0,5 мкв.
Конечно, чувствительность, измеряемую долями микровольта, можно получить и без регенерации, но следует учитывать одно обстоятельство, существенное для коротковолновиков, живущих в тесном «окружении» своих коллег по радиоспорту: в приемнике с регенеративным каскадом легко компенсировать слабую связь контура с антенной. В том, насколько это важно для ослабления помех перекрестной модуляции, убедились, в частности, львовские радиолюбители (см. «Радио», 1963, № 2, стр. 19—20).
Существуют причины, все же ограничивающие применение регенеративных преселекторов и конвертеров с обратной связью. Основной, по-видимому, является необходимость пользоваться дополнительно одной (реже двумя) ручками, что в ходе соревнований представляет неудобство, снижает оперативность. Другая причина состоит в том, что многие радиоспортсмены действительно удовлетворены хорошей работой своих приемников. Авторы конструкции убедились, однако, в том, что даже те, кто располагает очень хорошими приемниками, прослушав их работу с подключенным регенеративным ВЧ преселектором, решают непременно сделать такое устройство.
Описываемый преселектор-преобразователь на 20-й Всесоюзной радиовыставке подключался к нескольким приемникам — экспонагам выставки, чувствительность которых, согласно описаниям, составляла 1—3 мкв. При использовании короткой антенны (длиной 2 м) оказалось, что на приемнике с подключенным преселектором улучшается прием слабых сигналов, причем по оценке присутствовавших громкость приема возрастала с двух— четырех баллов до семи—девяти.
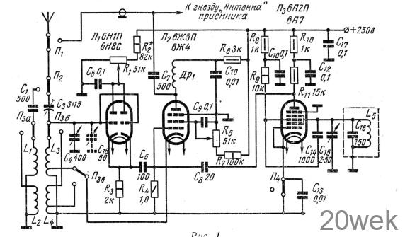
Принципиальная схема преселектора показана на рис. 1. Первый каскад преселектора — катодный повторитель на лампе 6Н1П (Л1), триоды которой соединены параллельно. Каскад на лампе 6Ж5П (Л2), выполняет функции фазопереворачивающей ступени для получения регенерации, апериодического усилителя ВЧ и односеточного преобразователя частоты. Гетеродин преселектора собран на лампе 6А2П (Л3) по транзиторной схеме. Эта схема выбрана для того, чтобы свести к минимуму влияние настройки входного контура на частоту гетеродина; кроме того, транзиторный генератор имеет лучшую стабильность на высоких частотах.

Преселектор имеет четыре переключателя. Три из них представляют собой обыкновенные тумблеры. Назначение переключателей таково: первый (П1) позволяет отключить преселектор от приемника и присоединить последний непосредственно к антенне; с помощью второго (П2) можно выбрать индуктивную или емкостную связь с антенной; переключатель П3 служит для переключения поддиапазонов, а П4— для отключения гетеродина.
Преселектор работает в диапазоне 3,5-30 Мгц и имеет два поддиапазона: 3,54-10 и 10-30 Мгц. В поддиапазоне 10-30 Мгц включаются катушки L1 и L3, а в поддиапазоне 3.5-10 Мгц—L2 и L4. Данные катушек указаны в таблице. Квалифицированным радиолюбителям рекомендуется разбить диапазон на большее количество поддиапазонов (3—- 5) рассчитав новые катушки. В этом случае конденсатор контура (С4) может быть взят емкостью 100— 150 пф. Конденсатор С4 должен иметь верньер с большим замедлением ввиду острой настройки контура. При отсутствии механического верньера следует установить конденсатор С18 для растяжки диапазона в любом месте.

Дроссель Др1 наматывается на каркасе диаметром 20 мм проводом ПЭЛШО 0,1. Он имеет три секции. Первая секция содержит 20 витков, намотанных в один слой, виток к витку, остальные две секции наматываются внавал шириной 8 мм на расстоянии 3—5 мм друг от друга. Вторая секция содержит 60, а третья — 120 витков. Можно использовать также другие дроссели с индуктивностью от 0,2 до 3 мгн. Если будет применен дроссель с малой индуктивностью, последовательно с ним нужно включить сопротивление величиной 1 ком на мощность рассеивания 1 Вт
На принципиальной схеме показан гетеродинный каскад с плавной настнастройкой. Во многих случаях в этом каскаде можно ограничиться фиксированной настройкой на одну какую-либо частоту. В этом случае конденсатор переменной емкости С15 заменяется подстроечным. Если катушка L5 намотана по данным таблицы, а конденсатор С15 установлен в положение максимальной емкости, гетеродин будет генерировать частоту около 12 Мгц.
Потенциометр R5 служит для подбора такого напряжения на экранирующей сетке лампы Л2, при котором во время регулировки обратной связи потенциометром подход к порогу генерации будет плавным. В любом случае это напряжение не должно превышать 80 в.
Питание преселектора можно производить как от приемника, так и от отдельного стабилизированного выпрямителя.
Градуировка преселектора производится следующим образом. Его выход подключают коаксиальным кабелем РК-19 к приемнику, устанавливают потенциометр регулировки обратной связи в правое (по схеме) положение и включают в приемнике гетеродин для приема телеграфных станций. Не включая преселектор, приемник настраивают на любую частоту какого-либо из любительских диапазонов. Затем включают преселектор (переключателем П1) и, вращая конденсатор переменной емкости С4, по нулевым биениям определяют положение, в котором контур преселектора будет настроен на ту же частоту. Отметив на шкале положение стрелки верньера, меняют настройку приемника и повторяют описанные выше операции до тех пор, пока не будет отградуирована вся шкала. Прием станций на приемник с подключенным преселектором производится в следующем порядке. Включают приемник и преселектор, как сказано выше, выключают АРУ приемника и потенциометром регулируют обратную связь так, чтобы она была у порога генерации. Переключателем П1 присоединяют антенну непосредственно к приемнику и его ручкой настройки находят нужную станцию. Затем подключают антенну к преселектору и, вращая ручку конденсатора С4 (и С18), добиваются улучшения слышимости выбранной станции. Возможно, что при этом будет необходимо подрегулировать обратную связь потенциометром Когда работа с преселектором будет освоена, настройку можно вести одновременно двумя ручками: приемника и преселектора, не отключая последний. Если приему мешают громкие сигналы какой-либо местной станции, переключателем П2 устанавливают емкостную связь входного контура преселектора с антенной.
Когда на приемник, к которому подключен преселектор, нельзя вести прием каких-либо любительских КВ диапазонов, это можно сделать, используя преселектор как конвертер. В этом случае переключателем П4 включается гетеродин и приемник настраивается в диапазоне fпр— fгет ИЛИ fпр+fгет. Так если в приемнике отсутствует диапазон 28—30 Мгц, а гетеродин преселектора генерирует частоту 12 Мгц, настройка приемника производится в диапазоне 16—18 Мгц





