Радиоприемник на базе «Туриста»
Шандор Рожа, Радио №12/1965, ст.37
В Венгерской Народной Республике, так же как и в СССР, в свое время был широко распространен приемник «Турист». Этот приемник легко может быть переделан на транзисторы с использованием почти всех деталей лампового варианта.

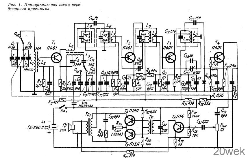
Приемник содержит 7 транзисторов и рассчитан для работы в диапазоне средних волн с плавным перекрытием по диапазону; на длинных волнах он работает на одной фиксированной частоте местной станции. По сравнению с приемником «Турист» он имеет более высокую чувствительность и избирательность и усиленную систему АРУ. Схема переделанного приемника приведена на рис. 1.

Преобразователь частоты собран на транзисторе Т1 типа П401 по обычной схеме. В коллекторной цепи транзистора включен двухконтурный полосовой фильтр с внешнеемкостной связью (конденсатор С14). С целью увеличения чувствительности антенна (рис. 2) наматывается на ферритовом стержне марки Ф-600 размерами 215X10 мм специальным 50- жильным литцендратом. Антенна содержит одну контурную катушку, которая при подключенных конденсаторах С3 и С4 работает на средних волнах, а с конденсаторами С1 и С2 на длинных.

Усилитель ПЧ собран на транзисторах Т2 и Т3 типа П401 по схеме с общим эмиттером. Транзистор Т3 может быть также типа П15.
Нейтродинный конденсатор первого каскада С18 включен между базой транзистора Т2 и контуром L8C19. Нейтрализующее напряжение второго каскада берется с катушки L11. В первом каскаде применена термостабилизация режима с помощью сопротивления R7.
Интересным в схеме является детектор. Он подключен прямо к контуру С10С22 и работает при больших напряжениях, имеет высокое нагрузочное и входное сопротивления. На выходе усилителя ПЧ (на контуре L10С22) переменное напряжение в пять-шесть раз больше, чем напряжение, снимаемое со вторичной обмотки трансформатора ПЧ. Если же подать на детектор напряжение со вторичной обмотки трансформатора (L11), детектор должен иметь меньшее нагрузочное сопротивление, а следовательно, и выпрямленное напряжение будет в 20—30 раз меньше, чем в первом случае. По данным практических измерений детектор имеет выходное напряжение низкой частоты, равное 50 мв, при напряжении на контуре L10C22 равном 150 мв. Такая схема (рис. 3) дает выпрямленное напряжение намного выше (в 20—30 раз), чем схема детектора с индуктивной связью с последним контуром усилителя ПЧ. Недостатком такого детектора является то, что усложняется согласование сопротивления нагрузки детектора с входным сопротивлением усилителя НЧ, которое, в свою очередь, должно быть достаточно велико. С этой целью между детектором и усилителем НЧ ставится эмиттерный повторитель на транзисторе T4 типа П401, который служит также и усилителем постоянного тока системы АРУ с коэффициентом усиления около двух. АРУ охвачен весь усилитель ПЧ.

Амплитудная характеристика АРУ представлена на рис. 4. При изменении сигнала на входе приемника от 100 мкв до 50 >мв выходное напряжение детектора (на эмиттере транзистора T4) меняется от 50 мв до 500 мв (20 дб). Приемник почти невозможно перегрузить, так как максимальная напряженность поля от местных станций в городе составляет 1—10 мв.

Усилитель НЧ собран на транзисторах Т5 (П14), Т6 и Т7 (П15А). Транзистор Т5 работает предварительным усилителем с трансформаторным выходом. Трансформатор Тр согласует сопротивление предварительного и оконечного каскадов, а также переворачивает фазу сигнала на входе двухтактного оконечного каскада.
Оконечный касад работает в режиме класса В, имеет трансформаторный выход, рассчитанный на сопротивление громкоговорителя порядка 3 ом.
Усилитель НЧ охвачен глубокой отрицательной обратной связью (20 дб), что увеличивает входное сопротивление транзистора Т5 до 30 ком. Для устранения самовозбуждения усилителя первичные обмотки трансформаторов Тр и Тр2 шунтированы соответственно конденсатором С32 и цепочкой R24С33. Частотная характеристика усилителя 140 гц — 20 кгц при неравномерности 3 дб.
Усилитель развивает выходную мощность 50 мвт при входном напряжении 50 мв, потребляя при этом 30 ма. Максимальная выходная мощность усилителя составляет 280 мвт при токе 60 ма. Искажения формы сигнала наблюдаются при мощности свыше 250 мвт.
Конструкция и детали. Намоточные данные всех катушек и трансформаторов приемника приведены в таблице. Гетеродинная катушка наматывается на прежнем каркасе, катушка гетеродина длинных волн с каркаса убирается.

Катушки фильтров ПЧ заключены в алюминиевые экраны размером 20X20 мм или в прежние цилиндрические экраны. Монтаж приемника производится на двух гетинаксовых платах толщиной 3—5 мм. На малой плате собирается усилитель НЧ, на прежней большой плате — высокочастотная часть. Размещение деталей показано на рис. 5. Трансформаторы располагаются таким образом, чтобы осталось место для источников питания— двух батарей КБС-Л-0,5.

В приемнике применены обычные, немалогабаритные детали, так как места для монтажа вполне достаточно.
Сопротивление R23 (4 ома) проволочное. Оно намотано высокоомным проводом диаметром 0,1 мм на каркасе сопротивления ВС-0,5—12 ком.
Детали припаиваются к трубчатым заклепкам или продеваются в отверстия диаметром 2—3 мм, скручиваются на другой стороне монтажных плат и пропаиваются. Желательно придерживаться приведенной схемы расположения деталей, так как при другом расположении приемник может возбудиться
Налаживание приемника начинают, как обычно, с усилителя НЧ. Сначала проверяют и устанавливают режимы транзисторов по постоянному току, затем, подав на вход усилителя (на потенциометр R16) со звукового генератора сигнал НЧ напряжением 50 мв и частотой 1 кгц, проверяют режимы усилителя по переменному току. При этом на звуковой катушке громкоговорителя должно быть напряжение 390 мв, что соответствует выходной мощности 50 мвт.

На рис. 6 приведены уровни напряжений низкочастотного тракта приемника, а на рис. 7 — высокочастотного тракта.






