ПРОСТОЙ КАРМАННЫЙ СУПЕРГЕТЕРОДИН
А. СТРОГАНОВ, Радио №9/1966, ст.29
Приемник предназначен для приема программ радиовещательных станций в диапазоне средних волн (187—550 м). Питание от сухой батареи типа «Крона». Реальная чувствительность — порядка 1,2мв/м. Выходная мощность — 100 мвт Потребляемый тор; в режиме покоя — не более 4 ма. Габариты (в футляре) — 110X70X35 мм.
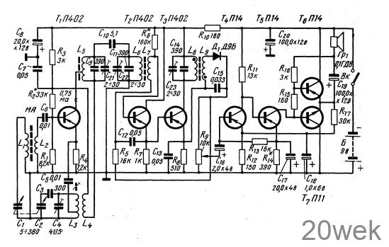
Приемник собран по супергетеродиниой схеме на семи транзисторах. Его принципиальная схема приведена на рисунке.

Преобразователь частоты выполнен на транзисторе Т1 тина П402. Входной сигнал с катушки связи L2 подается в цепь базы, а сигнал гетеродина — в цепь эмиттера транзистора Схема преобразовательного каскада выполнена таким образом, что для частоты сигнала транзистор оказывается включенным по схеме с общим эмиттером, что обеспечивает достаточно высокое входное сопротивление, а для частоты гетеродина он включен но схеме с общей базой, с индуктивной обратной связью.
Двухкаскадный усилитель ПЧ собран на транзисторах Т2 и Т3 типа П402. Включение нагрузки (R7) в эмиттерную цепь транзистора Т2 отличает данную схему от распространенных схем двухкаскадных усилителей ПЧ с апериодической нагрузкой в первом каскаде. Коллектор этого транзистора по высокой частоте заземлен
Напряжение сигнала поступает на базу и эмиттер транзистора Т2 с незаземленной обмотки связи L7. Такое включение нагрузки не .вызывает появления отрицательной обратной связи в цепи сигнала и позволяет сохранить достаточно высокое усиление, свойственное каскаду с общим эмиттером. Это позволяет также исключить из схемы разделительный конденсатор между каскадами ПЧ, что упрощает схему. Избирательность приемника по промежуточной частоте определяется двухконтурным фильтром на входе усилителя ПЧ и одиночным контуром в выходном каскаде. Промежуточная частота равна 465 кгц.
Детектор выполнен на кристаллическом диоде Д1 типа Д9Б. Связь детектора с усилителем ПЧ— трансформаторная. Нагрузкой детектора является переменный резистор R9. Напряжение АРУ через резистор R5 подается на базу транзистора Т2. Усилитель НЧ имеет два предварительных каскада усиления, собранных на транзисторах T4, Т5 типа П14, и оконечный каскад, выполненный по бестрансформаторной схеме на транзисторах и разной проводимости (соответственно П14 и П11). Связь между каскадами — непосредственная. В усилителе применены две цепи отрицательной обратной связи по постоянному току. Первая из них осуществляется с эмиттеров транзисторов выходного каскада через резистор R17 на эмиттер транзистора T4, вторая — с эмиттера транзистора Т5 через резистор R13 на базу транзистора Т4.
Намоточные данные катушек приемника приведены в таблице. Катушки магнитной антенны L1 и L2 намотаны на круглом ферритовом стержне марки Ф-600 диаметром 8 и длиной 100 мм, а катушки L3 и L4 гетеродинного контура — на четырехсекционном каркасе от приемника «Октава» («Муромец», «Люкс», «Дружба» и др.). Катушки контуров ПЧ намотаны на ферритовых кольцах Ф-1000 с внешним диаметром 7, внутренним — 4 и толщиной 2 мм. Экранов они не имеют. Настройка контуров ПЧ осуществляется с помощью простейших проволочных малогабаритных конденсаторов C21— С23, емкость которых может изменяться в пределах 2—30 пф в зависимости от количества витков их обмоток. Конструктивно они выполнены так. На кусок провода марки ПЭЛ диаметром 1 мм и длиной около 20 мм плотно намотан провод марки ПЭЛШО диаметром 0,1—0,12 мм. При длине намотки 18—20 мм максимальная емкость такого конденсатора составляет около 30—35 пф. Для того чтобы провод после намотки не разматывался, обмотку необходимо пропитать парафином или воском.*

К контурам конденсаторы С21 и С22 подключаются так, чтобы один из концов их обмоток (другой конец остается свободным) был соединен с нижними по схеме выводами катушек L5 и Lб, а кусок провода, на котором намотана обмотка,— с верхними выводами этих катушек. Выводы конденсатора C23 должны быть подключены к катушке L8 наоборот, то есть конец обмотки подключен к верхнему выводу катушки, а провод — к нижнему.
В приемнике применены резисторы типа УЛМ, конденсаторы типов КТМ, КСО-1, МБМ и электролитические — ЭМ. В качестве конденсатора настройки использован сдвоенный блок конденсаторов переменной емкости чехословацкой фирмы «Тесла». В приемнике практически могут быть применены транзисторы с коэффициентом усиления В от 20 до 100, однако лучшие результаты получатся при использовании транзистора Т1 с B=40-80, Т2 и T3=20-40, T4 и T5~25—50 и Т6, T7=30-60.
Монтаж приемника выполнен на плате из гетинакса толщиной 1 mm размерами 105X65 мм.
Налаживание приемника заключается в установке рабочих режимов транзисторов, настройке контуров ПЧ и сопряжении входного и гетеродинного контуров.
Установку режима транзисторов начинают с усилителя НЧ. Для этого отсоединяют резистор R10, в цепь питания включают миллиамперметр со шкалой 5—10 ма и подбором резистора R14 устанавливают ток покоя усилителя НЧ равный 2,5 ма. После этого резистор R10 вновь подсоединяют, а отключают резистор R3 и подбором сопротивления резистора R6 устанавливают суммарный ток покоя усилителей НЧ и ПЧ равный 3,5 ма (сумма коллекторных токов транзисторов Т2 и Т3 при этом составит 1 ма). Затем резистор R3 подключают на прежнее место и подбором резистора R2 устанавливают коллекторный ток покоя транзистора T1 равный 0,75—0,8 ма. При этом конденсатор С6 должен быть отсоединен от базы транзистора Т1.
Настройка контуров ПЧ и сопряжение входного и гетеродинного контуров ничем не отличаются от настройки других супергетеродинных приемников, неоднократно описанной на страницах журнала «Радио». Следует лишь указать на некоторые особенности настройки контуров ПЧ, катушки которых намотаны на ферритовых кольцах. В cвязи с тем, что начальная магнитная проницаемость р ферритовых колец одной и той же марки может значительно отличаться, грубую настройку контуров целесообразно производить подбором емкости конденсаторов C9, С11 и С14. Точная же настройка контуров осуществляется изменением емкости подстроечных конденсаторов С21—С23 (подбором количества витков обмоток).
В заключение необходимо отметить, что конструктивно описанный приемник может быть выполнен в различных вариантах в зависимости от вкуса радиолюбителя и имеющихся у него деталей, поэтому подробные конструктивные данные приемника в статье не приводятся.
ЛИТЕРАТУРА
- К. Качурин. Транзисторные усилители с непосредственной связью. Журнал «Радио», 1965, № 3, стр. 28-29.
- II. Воронин. Фильтры ПЧ на ферритовых кольцах. Журнал «Радио», 1965, № 12, стр. 31.
Ю. IIIАШИН. Повышение устойчивости транзисторных усилителей ПЧ. Журнал «Радио», 1966, № 2, стр. 29-31, 34





