ПРОСТОЙ ИСПЫТАТЕЛЬ ЛАМП
В. Леонов, Радио №12/1965, ст.53
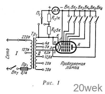
Прибор (рис. 1) позволяет быстро определить эмиссию катода, замыкание между электродами и обрыв выводов от электродов ламп и экрана.

Об эмиссионной способности катода лампы можно судить по показаниям микроамперметра, включенного между катодом и первой сеткой. Электроны, вылетающие с нагретого катода, заряжают электроды лампы, в том числе и управляющую сетку, отрицательно. Микроамперметр работает как милливольтметр и измеряет величину потенциала первой сетки, которая колеблется в широких пределах—от 10 до 500 мв и зависит от типа ламп и качества их катодов
Показания прибора сравнивают с эмиссией заведомо хороших (калибровочных) ламп. Такая калибровка проводится при налаживании прибора, при этом надо использовать возможно большее число типов ламп. Данные заносят в таблицу.
При проверке диодов и кенотронов микроамперметр включают между катодом и анодом.
Тумблеры Вк1 — Вк6 подключают к прибору все остальные электроды лампы. При отсутствии междуэлектродных замыканий и обрывов выводов показания прибора должны при этом возрастать. Так, например, при проверке лампы 6П6С прибор АВО-5М (пределы 60 и 300 мка) показывал ток в цепи первой сетки 50 мка, при подключении второй сетки — 70 мка и при подключении анода — 90 мка. При проверке кенотрона 5Ц4С прибор «Школьный ЛВО-63» в цепи первого анода показывал ток 4,9 ма, при подключении второго анода — 10 ма. В обоих случаях лампы были взяты с работающей аппаратуры.
Переключатель П1 + нейтральным положением) переключает пределы измерения прибора, величины сопротивлений R1 и R2 подбирают при регулировке прибора по самым лучшим радиолампам.
Прибором можно проверять эмиссию кинескопов и осциллографических трубок. Для изготовления прибора необходим понижающий трансформатор мощностью 10—20 вт, микроамперметр на 50—300 мка и 8 тумблеров.
Обмотки трансформатора Тр1 намотаны на сердечнике из пластин ШЛ-16, толщина набора — 25 мм. Первичная обмотка содержит 1100 витков провода ПЭЛ 0,35+800 витков провода ПЭЛ 0,27, вторичная на 4;5; 6,3; 12,6; 20 и 30 в — соответственно 48+ 12+18+78+84+120 витков провода ПЭЛ 1,2. Можно применить трансформатор, собранный на сердечнике из пластин Ш-20 при толщине набора 20 мм с первичной обмоткой 1360 витков провода ПЭЛ 0,34+1000 витков провода ПЭЛ 0,27 и вторичной 43+11+13+63+74+100 витков провода ПЭЛ 1,0.
Весьма удобен переносный вариант испытателя с питанием от аккумуляторов.





