ПРИЕМНИК ПРЯМОГО УСИЛЕНИЯ
М. Шушаков, А. Скотников, Радио №3/1966, ст.34
Одним из недостатков любительских транзисторных радиоприемников прямого усиления, работающих на внутреннюю магнитную антенну, является их сравнительно низкая чувствительность, в среднем не превышающая 10—20 мв/м. Для уверенного приема менее мощных и более удаленных радиостанций требуется чувствительность не хуже 2—5 мв/м, что обычно обеспечивают супергетеродинные приемники. Но высокую чувствительность можно получить и от приемника прямого усиления за счет повышения коэффициента усиления усилителя ВЧ и улучшения эффективности магнитной антенны. Метод повышения чувствительности приемника за счет увеличения числа каскадов усилителя ВЧ [Л. 1] обеспечивает приемнику чувствительность порядка 6—8 мв/м, но при этом приемник склонен к самовозбуждению.
Повысить чувствительность транзисторных приемников прямого усиления до 2 мв/м можно при каскодном включении первых двух транзисторов усилителя ВЧ [Л. 2; 5]. Такое включение позволяет резко увеличить коэффициент усиления усилителя ВЧ, значительно снизить собственные шумы приемника, поскольку транзисторы первого каскада работают при малых коллекторных напряжениях, и уменьшить потребление тока от источника питания.
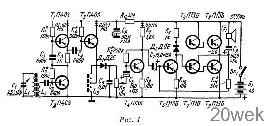
На рис. 1 приведена принципиальная схема однодиапазонного приемника прямого усиления с использованием каскодного включения транзисторов, работающего в диапазоне длинных волн (150—415 кгц). Согласование выходного сопротивления высокочастотного каскада с сопротивлением диодного детектора осуществляется при помощи эмиттерного повторителя, собранного на транзисторе Т3.

Усилитель НЧ описываемого приемника выполнен по бестрансформаторной двухтактной схеме. Конструкция такого усилителя достаточно хорошо описана в ряде работ [Л. 3; 4]. Нагрузкой усилителя является низнизкоомный динамический громкоговоритель. При подаче на вход напряжения порядка 3—5 мв усилитель развивает номинальную выходную неискаженную мощность порядка 0,1—0,25 вт.
Конструкция и детали. Приемник можно смонтировать в корпусе малогабаритного абонентского громкоговорителя настольного типа или в корпусе от карманного приемника. Детали для изготовления приемника берутся в основном готовые.
Все постоянные резисторы в приемнике типа УЛМ или МЛТ-0,12. Переменный резистор R5 — типа «Тесла» с выключателем питания. Можно применить и резисторы типа СПО с номиналом от 10 до 30 ком.
Конденсаторы С2; С3; С4— типа КТК или БМ-1; С6; С7— типа ЭМ-М; С9, С8—типа ЭТО-1.
Громкоговоритель — динамический, с сопротивлением звуковой катушки5—10 ом (0,1 ГД-6; 0,15ГД-1; 0,2ГД-1 и т. п.).
Катушки магнитной антенны намотаны на подвижных бумажных гильзах, надетых на ферритовый стержень марки Ф-600 диаметром 8 мм и длиной 100 мм. Катушка L3 намотана на ферритовом кольце Ф-бООт-2000 с внешним диаметром 10 мм. Намоточные данные катушек приведены в таблице 2.


Монтаж приемника выполнен на двух платах из фольгированного гетинакса с размерами 50X80 мм, разнесенных по высоте на расстояние h—30 мм и соединенных винтами. На одной плате собран высокочастотный блок усилителя ВЧ с согласующим эмиттерным повторителем, на другой — усилитель НЧ.
Крепление деталей на монтажных платах производится в зависимости от возможностей радиолюбителя—или с помощью пустотелых пистонов, или медных штырьков. Для монтажа можно использовать и печатные платы.
Переменное сопротивление R5 на плате не устанавливается, а крепится к корпусу приемника.
Налаживание собранного приемника сводится к установке режимов транзисторов подбором резисторов, указанных в таблице 1. Начинать следует с усилителя НЧ. В первую очередь измеряют напряжение между коллектором транзистора T9 и плюсом источника питания. Если это напряжение больше или меньше половины напряжения источника питания, то необходимо подобрать величину R11
Налаживание усилителя ВЧ заключается в подборе коллекторного тока эмиттерного повторителя (T3), так как транзисторы T1 и Т2 даже при больших разбросах параметров практически не требуют подбора режима.
Подобрав режимы, следует установить границы рабочего диапазона приемника, перемещая каркас с катушкой вдоль ферритового стержня, а также более точно подобрать число витков катушки связи L2. На этом налаживание приемника можно считать законченным.
Приемник может быть использован и для работы в диапазоне средних волн. В этом случае число витков катушки необходимо уменьшить до 130—140 витков.
Литература:
- Журнал «Радио», 1965 г., № 9, стр. 35
- Журнал «Радио», 1965 г.,№ 6, стр. 45
- Журнал «Радио», 1965 г.,№ 4, стр. 61
- Журнал «Радио», 1963 г.,№ 11, стр. 35
- Журнал «Радио», 1963 г.,№ 3, стр. 50





