Приемник «Лисолов»
С. Воробьев, Радио №5/1965, ст. 24
Приемник предназначен для спортсменов-радиолюбителей, начинающих заниматься «охотой на лис», а поэтому при разработке его особое внимание уделялось простоте конструкции и наладки. В то же время ставилась задача создать приемник с параметрами, мало уступающими аналогичным приемникам, применяемым на республиканских и всесоюзных соревнованиях.
Приемник собран на шести транзисторах и питается от батареи типа КБС-Л-0,5. Он работает в диапазоне частот 3,5-~3,8 Мгц. Чувствительность приемника, измеренная на базе первого транзистора, составляет около 10 мкв. Вес приемника вместе с головными телефонами 900 г.
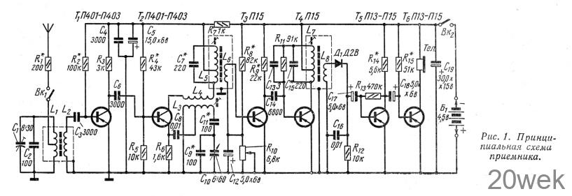
Принципиальная схема приемника приведена на рис. 1. В приемнике применены две антенны: магнитная и штыревая. Последняя подключается тумблером Вк1 через добавочное сопротивление тогда, когда нужно определить направление на «лису». Усилитель ВЧ приемника, собранный на транзисторе П401 (Т1) — апериодический, что сделано с целью упрощения конструкции. Преобразовательный каскад выполнен на транзисторе П401 (Т2). В цепи коллектора этого транзистора последовательно с катушкой обратной связи контура гетеродина L4 включен контур ПЧ L5C7. Промежуточная частота равна 465 кгц. Усилитель ПЧ приемника — двухкаскадный на транзисторах П15 (T3 и Т4). С целью упрощения схемы усилителя, первый каскад его апериодический, а второй — резонансный, нагруженный на контур ПЧ L7С15. Детектор приемника —последовательный на диоде Д2В (Д1). Усилитель НЧ на транзисторах П15(Т5Т6)—двухкаскадный по простой схеме. Нагрузкой выходного каскада служат низкоомные (100 ом) головные телефоны. Чувствительность приемника регулируется изменением величины переменного сопротивления R10, включенного в цепь базы транзистора Т3.

Внешний вид приемника показан на фотографии на четвертой странице обложки. Все детали приемника располагаются на двух платах — верхней, изготовленной из дюралюминия толщиной 1,5—2 мм, и нижней, изготовленной из фольгированногo гетинакса или текстолита, толщиной 1,5—2 мм, способом печатного монтажа. Нижняя плата изображена на рис. 2 в натуральную величину, размер обоих плат 223X45 мм. Платы скрепляются шпильками. Расположение деталей приемника на нижней плате показано на фотографии на четвертой странице обложки. Данные катушек приемника приведены в табл„ 1.

Общий ток, потребляемый приемником от источника питания, должен находиться в пределах 10 — 15 ма.

Подробная методика налаживания приемников аналогичного типа неоднократно описывалась на страницах журнала «Радио» и поэтому здесь не приводится.

Собранный и налаженный приемник помещают в металлический корпус размерами 225X48X90 мм, изготовленный из дюралюминия толщиной 1 —1,5 мм. Для удобства переноски к корпусу приемника прикреплен ремень. Магнитную антенну приемника монтируют на гетинаксовой плате, размеры которой приведены на рис. 3. Эту плату вставляют в скобу, расположенную на корпусе приемника. Магнитную антенну можно укрепить также непосредственно на верхней плате.

Антенные катушки L1 и L2, а также катушки фильтров промежуточной частоты L5L6 и L7 L8 помещены в экраны, изготовленные из латуни.
Транзисторы П401 (T1 T2) можно заменить П402 или П403, а транзисторы П15 (T3 T4)—П13 или П14.
ПРИМЕЧАНИЕ РЕДАКЦИИ. При выбранной схеме регулировки чувствительности ближний поиск «лисы» затруднен, так как первые каскады приемника будут перегружаться. Чтобы избежать этого, регулировать чувствительность следует при помощи потенциометра 300—500 ом, установленного в эмиттерной цепи транзистора Т1. Потенциометр следует монтировать в непосредственной близости от транзистора





