Прибор для настройки пианино
В. Лаврин, Радио №3/1965, ст. 24

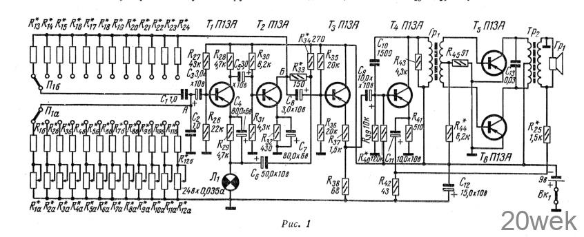
Прибор состоит из стабильного RС-генератора, настроенного на 12 фиксированных частот, соответствующих 12 полутонам первой октавы (от «до» до «си»), равномерно темперированного строя и усилителя НЧ, нагруженного на громкоговоритель (рис. 1). Диапазон частот прибора по желанию конструктора может быть расширен простым добавлением элементов частотозадающей цепи генератора.

Генератор собран на двух транзисторах Т1 и Т2 типа П13А. Частоты, на которых генератор само- возбуждается, определяются параметрами RС-цепочек. Подключая к генератору переключателем П1 сопротивления различной величины R1—7R24 (в пределах 300—600 ом), можно изменять частоты генерируемых колебаний в соответствии с частотами нот первой октавы (от «до» до «си») музыкального инструмента. Для создания устойчивых автоколебаний генератора в схему введена нелинейная отрицательная обратная связь, напряжение которой подается в цепь эмиттера транзистора Т1 через цепочку, состоящую из конденсатора C6 и лампы накаливания Л1. Стабильность амплитуды колебаний генератора зависит от кривизны вольтамперной характеристики нелинейного элемента (лампы Л1) в рабочей точке.
Применение транзисторов заставляет более тщательно подходить к выбору номиналов деталей, с тем чтобы свести к минимуму влияние параметров транзисторов на стабильность работы генератора. Достаточно низкоомный нелинейный элемент (лампа накаливания, характеристика которой показана на рис. 2) и относительно большой рабочий ток второго каскада выбраны с таким расчетом, чтобы уменьшить влияние эмиттерной цепи транзистора Т1 на коэффициент отрицательной обратной связи. Сопротивления R1—R1 и R13—R24 выбраны малой величины это уменьшает влияние входного сопротивления усилителя на работу генератора. На выходе генератора с целью предотвращения влияния нагрузки на параметры генератора включен эмиттерный повторитель, собранный на транзисторе Т3.

Точная подстройка частоты генератора осуществляется подбором величин сопротивлений R1—R24, а также потенциометрами R1а—R12а. Установка режима генерации и номинальной амплитуды автоколебаний осуществляется подбором сопротивлений R33—R34. С помощью этих сопротивлений усиление «от точки «А» до точки «Б» (см. схему рис. 1) устанавливается равным примерно 3.
Стабильность частоты генератора не хуже 0,1%. Стабильность амплитуды генерируемых колебаний 0,2%. При изменении напряжения источника питания на 1 в частота генератора изменяется на 0,05%, причем с уменьшением напряжения частота возрастает. .
Усилитель. Усилитель двухкаскадный. Оконечный каскад собран по двухтактной схеме. Для уменьшения нелинейных искажений и коррекции частотной характеристики оба каскада (оконечный и предварительный) охвачены отрицательной обратной связью, напряжение которой со вторичной обмотки выходного трансформатора подается в цепь эмиттера транзистора Т4.
Конструкция. Прибор размещен в деревянном ящике размерами 230Х X 100X 80 мм. На боковой поверхности справа расположен переключатель нот. На передней панели укреплен громкоговоритель. Сзади расположены потенциометры для точной подстройки каждой ноты в отдельности. Монтаж выполнен на гетинаксовой плате, прикрепленной винтами к основанию ящика. Все транзисторы типа П13А. Переходной трансформатор усилителя НЧ выполнен на пермаллоевом сердечнике ШЗХ6. Первичная обмотка имеет 2500 витков провода ПЭЛ 0,06, вторичная — 3504-350 витков провода ПЭЛ 0,06.
Выходной трансформатор собран на сердечнике ШЗХ6. Его первичная обмотка имеет 4504-450 витков провода ПЭЛ 0,09, вторичная 102 витка провода ПЭЛ 0,23. Нагружен усилитель на громкоговоритель 1ГД-9. Питается прибор от батареи «КРОНА» напряжением 9 в и потребляет ток 25 ма.
При настройке музыкального инструмента настройщик, установив ручку переключателя П1 в положение, соответствующее настраиваемой ноте, и ударяя пальцем по клавише инструмента, подтягивает одну из струн хора (две другие заглушены с помощью резинового клина) до тех пор, пока не исчезнут биения между звуками прибора и настраиваемого инструмента. Далее настраивают две остальные струны хора в унисон с первой. Настроив одну ноту, переключатель прибора П1 ставят в положение, соответствующее следующей ноте, и настраивают ее подобным же образом. Настроив все струны, проверяют правильность звучания всего инструмента.





