Предварительный усилитель-корректор
Радио №5/1965, ст. 62
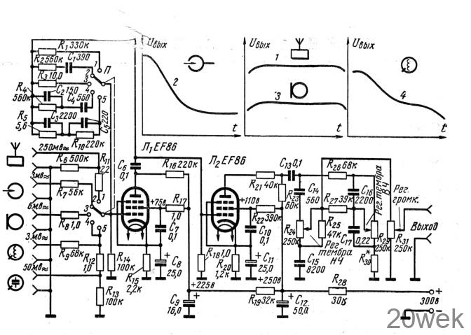
На рисунке приведена схема предварительного усилителя, имеющего пять переключаемых входов, на которые можно подать программу от радиоприемника, головки воспроизведения магнитофона, магнитного или пьезоэлектрического звукоснимателей и микрофона.

При переводе переключателя программы в любое из пяти положений одновременно переключается цепочка частотной коррекции. Чувствительность каждого входа указана на схеме, она зависит от соотношения плеч входного делителя от величины обратной связи, подаваемой с выхода первого каскада на его же вход.
Частотные характеристики первого каскада для различных положений переключателя входа показаны в верхней части рисунка.
На выходе второго каскада имеются раздельные регуляторы тембра и общий регулятор уровня громкости. Пределы регулировки тембра как по низшим, так и по высшим частотам составляют около ±20 дб. Для устранения избыточного усиления анодная нагрузка второго каскада составлена из двух сопротивлений (в данном случае 40 и 60 ком), и выходное напряжение снимается с точки их соединения. В случае необходимости величины этих сопротивлений изменяют, но так, чтобы их суммарная величина всегда составляла 100 ком
Для устранения связи с оконечным мощным усилителем через общие источники питания в цепях развязок применены конденсаторы большой емкости (50 и 16 мф)
От редакции: Лампы EF86 лучше всего заменить отечественными лампами 6Ж32П; можно также использовать и другие пальчиковые лампы, например 6Ж1П, 6Ж2П, 6ЖЗП или же лампы 6Ж7, 6Ж8





