ПОВЫШЕНИЕ УСТОЙЧИВОСТИ ТРАНЗИСТОРНЫХ УСИЛИТЕЛЕЙ ПЧ
Ю.Шашин, Радио №2/1966, ст.29
Значительная величина проходной емкости коллектор — база транзисторов, используемых в усилителях ПЧ, зачастую приводит к возникновению нежелательных обратных связей и самовозбуждению. Для борьбы с этим явлением приходится прибегать к нейтрализации проходной емкости транзисторов или использовать схемы повышенной устойчивости.
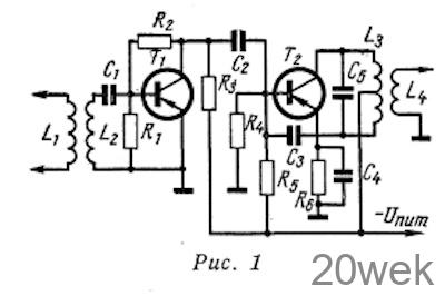
Среди известных схем такого рода наибольшее распространение получила схема двухкаскадного усилителя ПЧ с апериодической нагрузкой в первом каскаде (рис. 1). Необходимая частотная избирательность усилителя обеспечивается с помощью фильтра сосредоточенной селекции, включаемого на входе (1). Отсутствие межкаскадного согласования приводит к снижению усиления первого каскада и усилителя в целом, но одновременно и уменьшает склонность его к самовозбуждению.

Однако достигаемое в этой схеме повышение устойчивости оказывается недостаточным, чтобы полностью реализовать усилительные возможности транзисторов при включении их по схеме с общим эмиттером. Как и в обычных схемах, здесь необходима цепь нейтрализации (конденсатор С3), а любая паразитная связь входной и выходной цепей легко приводит к генерации.
При определенной величине нагрузки каскада усиление его становится достаточным, чтобы такая связь могла вызвать самовозбуждение. При нагрузке несколько меньшей, но близкой к этой величине, входное сопротивление каскада из-за влияния обратной связи повышается.
Это приводит к чрезмерному увеличению усиления предшествующего каскада и в возникающей генерации участвуют оба каскада усилителя.
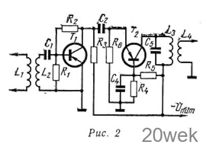
Значительно более высокая устойчивость усилителей ПЧ может быть получена при использовании каскодных схем, впервые опубликованных в 1959 г. Е. Гумелей [2]. Работа транзистора Т2 такой схемы (рис. 2) в каскаде с общей базой обеспечивает очень высокие значения максимального устойчивого усиления, поскольку проходная емкость транзистора при таком включении оказывается очень малой. Существенную роль в повышении устойчивости играет и противофазность входного и выходного напряжения усилителя, связанная с тем, что поворота фазы сигнала в каскаде с общей базой не происходит.

Практически получаемый коэффициент усиления таких усилителей также велик. Однако для сравнительно малых значений промежуточной частоты (110—465 кгц) коэффициент усиления оказывается значительно меньше допустимого по соображениям устойчивости и усилительные свойства транзисторов в данной схеме полностью не используются.
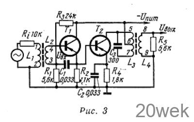
Новая схема двухкаскадного усилителя ПЧ, предлагаемая в данной статье, совмещает положительные качества рассмотренных схем. Оба каскада усилителя выполнены по схеме с общим эмиттером. В то же время по устойчивости такая схема приближается к каскодной. Основным отличием новой схемы усилителя ПЧ (рис. 3) является включение нагрузки первого каскада в эмиттер- ную цепь транзистора 7\. Коллектор же последнего по высокой частоте заземлен. Напряжение сигнала поступает на базу и эмиттер транзистора с незаземленной обмотки L2. Такое включение нагрузки, состоящей в данном случае из активного сопротивления R2 и входного сопротивления следующего каскада, не вызывает появления отрицательной обратной связи в цепи сигнала и позволяет сохранить достаточно высокое усиление, свойственное каскаду с общим эмиттером.

В то же время для всех паразитных связей, действующих непосредственно на вход базы транзистора T1 (емкостная связь, связь по цепи питания), первый каскад оказывается охваченным отрицательной обратной связью и имеет коэффициент усиления по напряжению меньше единицы.
Включение нагрузки в эмиттерную цепь транзистора T1 устраняет поворот фазы сигнала в этом каскаде, что создает противофазность сигнала во входной и выходной цепях усилителя. Это приводит к тому, что все паразитные связи между этими цепями, ведущие обычно к генерации, создают отрицательную связь, направленную на повышение устойчивости. Сказанное сохраняет силу и при учете фактического сдвига фаз, создаваемого каскадами, так как направления сдвига из-за различия характера нагрузок каскадов взаимно противоположны.
Заземление по высокой частоте коллектора транзистора T1 исключает влияние емкостной связи между корпусами (коллекторами) транзисторов. В других схемах наличие этой связи равноценно увеличению проходной емкости транзистора T2, что вызывает необходимость взаимного экранирования транзисторов.
Такие особенности схемы приводят к появлению свойства, которое условно может быть названо автонейтрализацией. Проявление его особенно характерно при работе усилителя в режиме, предшествующем возникновению генерации. Дело в том, что второй каскад усилителя собран по схеме, сходной с изображенной на рис. 1, и подвержен, хотя и в меньшей мере, влиянию обратной связи из-за проходной емкости транзистора T2. Действие ее отражается на величине входного сопротивления каскада ZBX. Зависимость ZBX от величины обратной проводимости транзистора Y12, определяемой в основном емкостью коллекторного перехода,; представляется выражением

При повышении усиления каскада, являющемся следствием увеличения нагрузки или крутизны, влияние обратной связи, как это и видно из приведенного выражения, увеличивается. Однако характер действия этой связи иной, знак ее может быть различным и наличие связи может вызывать как рост, так и уменьшение величины ZBX.
При увеличении нагрузки выше некоторого значения и индуктивном ее характере обратная связь становится положительной. Входное сопротивление при этом растет и может стать отрицательным. В усилителе, собранном по схеме, приведенной на рис. 1, такое положение немедленно приводит к генерации. Здесь же режим с отрицательным значением входного сопротивления транзистора Т2 оказывается достаточно устойчивым.
Усиление первого каскада в обычных случаях равное 30—50 может увеличиваться до 150—200 раз. При этом общее усиление со входа усилителя (база T1) на нагрузку 5,6 ком составляет 30—40 тыс. раз. Но и такая величина не является предельной и растет с увеличением напряжения питания.
Однако режим работы усилителя при отрицательной величине входного сопротивления не является нормальным и для данной схемы. Возможность существования такого режима лишь характеризует высокую устойчивость усилителя против самовозбуждения. Для достаточно больших значений сопротивления нагрузки и тока коллектора транзистора T2, определяющих усиление, характер обратной связи, в силу одновременного действия ее в обоих каскадах, остается отрицательным.
Уменьшению связи из-за проходной емкости транзистора Т2 способствует малая величина сопротивления R2, шунтирующего вход его базы. Уменьшение величины R2 благоприятно сказывается и на величине выходного сопротивления этого каскада. Последнее зависит от сопротивления источника сигнала и растет с его уменьшением.
С транзисторами типа П15 коэффициент усиления (при работе на нагрузку 5,6 ком) оказывается равным 600—700 раз, (при значении промежуточной частоты, равном 465 кгц).
Для всех высокочастотных транзисторов типа П401—П403, П414— П416 коэффициент усиления примерно одинаков и мало зависит от смены их, включая образцы с малыми значениями коэффициента В (до 10—15). При напряжении питания 9в и номиналах деталей, указанных на рис. 3 и в таблице 1, коэффициент усиления равен 8—10 тыс. раз и уменьшается до 2—3 тыс. раз при снижении напряжения до 4,5в (при том же значении промежуточной частоты).

Указанные величины усиления составляют примерно 0,6—0,7 от значений, близких к возникновению генерации.
Крутизна характеристики транзисторов и создаваемое ими усиление определяется режимом по постоянному току. Включение нагрузки в эмиттерную цепь транзистора Т1 дает возможность исключить разделительный конденсатор между каскадами, что упрощает схему и создает взаимную связь их по постоянному току. В силу этого напряжение смещения, устанавливаемое делителем R1R3 в базовой цепи транзистора T1, определяет режим одновременно двух каскадов. Величина коллекторного тока транзистора Т2 зависит также от сопротивления R4 в цепи его эмиттера. Связь каскадов по постоянному току не является. обязательной, но полезна при введении системы АРУ.
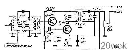
Практическое применение рассмотренной схемы усилителя с эмиттера ной нагрузкой может быть весьма разнообразным. На рис. 4 приведена схема усилителя ПЧ радиовещательного приемника. Такой усилитель обеспечивает чувствительность приемника порядка 2—3 мкв (с базы транзистора преобразовательного каскада). Избирательность по ПЧ определяется двухконтурным фильтром на входе усилителя и одиночным контуром в выходном каскаде. Промежуточная частота равна 465 кгц.

Напряжение АРУ подается на базу транзистора T1 с выхода детектора через сопротивление R2 Отсутствие в цепи АРУ обычно включаемых блокировочных конденсаторов в данном случае не вызывает заметной демодуляции сигнала.
Подключение обмотки L5 к эмиттеру транзистора Т2 имеет целью скомпенсировать напряжение смещения на базе транзистора Т1. При включении обмотки L5 к общему проводу схемы напряжение смещения величиной 1,5—2,0 в оказалось бы приложенным к диоду Д1 что нарушило бы его работу. При данном включении постоянное напряжение на концах обмотки невелико.
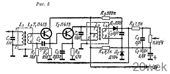
В схеме усилителя ПЧ с фиксированным смещением (рис. 5) источники напряжения АРУ и смещения включены последовательно. Это повышает эффективность работы системы АРУ, поскольку взаимное влияние АРУ и смещения в этом случае уменьшается.

Применение в этой цепи кремниевого диода обеспечивает стабилизацию напряжения и независимость режима усилителя от разряда батареи питания. Изменение питающего напряжения от 9 до 6 б почти не отражается на величине коэффициента усиления. Выходное напряжение усилителя равно 0,3 в при уровне сигнала на базе транзистора Т1—10 мкв и растет до 0,6 в при увеличении сигнала до 5 мв.
Номиналы сопротивлений, указанные на схемах (рис. 4, 5), соответствуют транзисторам со средней величиной коэффициента усиления В. При использовании транзисторов, имеющих граничные величины коэффициента усиления, необходимо заново подобрать величину сопротивления в цепи эмиттера транзистора Т2. Уменьшение этого сопротивления ведет к увеличению коллекторного тока транзистора и повышению усиления каскада.
Регулировка режима одновременно в двух каскадах производится изменением напряжения смещения на базе транзистора Т1. В схеме, изображенной на рис. 4, такая регулировка нужна, в частности, при напряжении питания, отличающемся от указанного, и выполняется изменением сопротивления R1. В схеме, показанной на рис. 5, для изменения напряжения смещения приходится изменять тип или число последовательно включенных диодов в цепи стабилизации. Здесь могут быть использованы и германиевые диоды, которые (правда, при несколько худшей стабилизации напряжения) дают напряжение порядка 0,2—0,3 в (для точечных диодов). При этом величина напряжения смещения может быть изменена в пределах от 0,6 до 2,5 в.
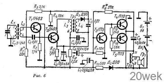
Схема усилителя с эмиттерной нагрузкой может быть использована не только в усилителе ПЧ. Своеобразные преимущества усилителя удачно реализуются в схеме приемника прямого усиления с рефлексным использованием транзисторов двух первых каскадов (рис. 6).

Транзисторы T1 и Т2 образуют усилительные каскады, собранные по схеме с общим эмиттером для напряжения радиочастоты, эмиттерный повторитель и усилитель для звукового напряжения. С этой целью в цепь коллектора транзистора Т2 включено сопротивление R6, а база транзистора Т1 соединена с выходом детектора (диод Д1) через сопротивление R3. Оконечный усилитель НЧ выполнен по схеме с последовательным включением транзисторов.
При использовании вместо громкоговорителя электромагнитных телефонов или микрофонных капсюлей типа ДЭМ достаточная громкость приема получается при включении их в коллекторную цепь транзистора Т3. Для подачи напряжения смещения на базу транзистора Т3 последняя соединяется с минусовым проводом через сопротивление ЗО—40ком. Учитывая, что при таком упрощении схемы приемник будет предназначен в основном для приема местных станций, цепь АРУ целесообразно исключить. Для этого последовательно с сопротивлением R3 включается конденсатор емкостью 1—2 мкф, а делитель в цепи базы транзистора Т1 дополняется сопротивлением 10—15 ком, включаемым на общий провод.
Частотный диапазон и избирательность приемника определяются параметрами входного контура, состоящего из конденсатора переменной емкости и катушки L1 намотанной на ферритовом стержне длиной 120 мм. Магнитная антенна таких размеров обеспечивает при приеме местных станций в диапазоне 540— 1600 кгц напряжение звуковой частоты порядка 1,5—2,0 в на нагрузке транзистора Т3 равной 300 ом (в упрощенном варианте схемы). Такое же выходное напряжение получается при подаче сигнала величиной 15 мкв и 30% модуляции.
Максимальная выходная мощность усилителя НЧ, выполненного в соответствии со схемой рис. 6, равна 100 мвт при нагрузке 45—50 ом и напряжении питания 9 в. При использовании батареи питания напряжением 4,5 б нагрузку желательно уменьшить до 24—28 ом. Максимальная выходная мощность при этом составит 45—50 мвт.
Недостатком использования схемы усилителя НЧ с последовательным включением транзисторов является образование значительных пульсаций питающего напряжения, особенно в процессе разряда батареи. Существенное уменьшение пульсаций достигается включением в развязывающий фильтр диода Д2— Наличие его эквивалентно увеличению емкости фильтрующего конденсатора С7 [4]
Налаживание приемника сводится к подбору величин сопротивления R1 определяющего режим и усиление радиочастотной части схемы, и сопротивлений R8 и R9 в оконечном усилителе НЧ. Изменяя величину сопротивления R9, устанавливают начальный ток транзисторов Т4Т5 порядка 1—2 ма. Величину сопротивления R8 выбирают так, чтобы напряжение в общей точке эмиттеров транзисторов Т4—Т5 было равно половине напряжения питания.
Возможности применения схемы усилителя с эмиттерной нагрузкой не ограничиваются рассмотренными примерами. Хорошие результаты получаются при построении по такой схеме видеоусилителей. Связь двух каскадов по постоянному току обеспечивает в этом случае равномерность частотной характеристики, начиная от десятков герц. При наличии в цепи коллектора транзистора Т2 корректирующего контура верхняя граница полосы пропускания оказывается на частоте порядка 5—6 Мгц. Усиление на такой частоте в случае использования транзистора типа П416 составляет 500— 700 раз.
ЛИТЕРАТУРА
- Я. ЛЕВИН. «Новая схема тракта ПЧ». «Радио» № 3, 1960 г.
- Е. ГУМЕЛЯ. «Каскодные схемы на ПП». «Радио» № 10, 1959 г.
- «Расчет транзисторных цепей» под общей ред. Р. Ф. ШИ. Изд. «Энергия», 1964 г.
- «Radio und Fernsehen» № 20, 1964 г.





