ПОВЫШЕНИЕ ЧУВСТВИТЕЛЬНОСТИ СУПЕРГЕТЕРОДИННОГО ПРИЕМНИКА
В. ФРОЛОВ, Радио №7/1967, ст.56
Конструирование портативных транзисторных приемников, обеспечивающих хорошее качество звучания, связано с применением громкоговорителей, имеющих диаметр диффузора 90 мм и более (0,5ГД- 14, 1ГД-18 и др.). Это ведет к увеличению габаритов приемника, в то время как весь монтаж его занимает сравнительно небольшую часть объема. Разумеется, радиолюбитель, разрабатывающий такой приемник, стремится использовать все возможности для увеличения чувствительности и избирательности приемника.
Применение описанной ниже механикоэлектрической схемы сопряжения настроек позволит в этом случае значительно увеличить чувствительность приемника и несколько упростить его настройку. Эта схема позволяет произвести сопряжение настроек входного контура и гетеродина во всем диапазоне частот в отличие от общепринятого сопряжения в двух-трех точках. Схема преобразовательного каскада супергетеродина с использованием механико-электрической схемы сопряжения приведена на рис. 1.

Устройство механизма показано на рис. 2. В качестве основного органа настройки использован сдвоенный блок конденсаторов переменной емкости с воздушным диэлектриком с перекрытием по емкости от 4 до 240 пф. Точное сопряжение настроек входного и гетеродинного контуров достигается с помощью специального кулачка 3, установленного на втулке с фланцем 2, втулка закреплена на оси блока конденсаторов переменной емкости. Кулачок 3 через ролик 4 передает движение на шток 6, механически связанный с катушкой индуктивности 13 входного контура. Закон перемещения этой катушки по ферритовому стержню 14 магнитной антенны определяется формой кулачка. Для предотвращения люфта штока в в плоскости движения служит пружина 8, постоянно прижимающая ролик 4 к кулачку 3.

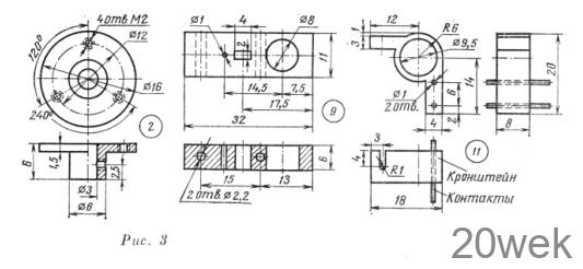
Чертежи основных деталей механизма приведены на рис. 3.

Следует отметить, что в описываемом механизме необходимо применять ферритовый стержень, имеющий небольшой прогиб, так как в противном случае будет трудно обеспечить плавный ход катушки по стержню. Катушка индуктивности наматывается на каркасе, склеенном из двух-трех слоев кабельной бумаги толщиной 0,1 мм. Диаметр каркаса должен быть на 0,5—0,8 мм больше диаметра ферритового стержня. Для средневолнового диапазона катушка должна иметь 70 витков лиценд- рата ЛЭШО 7×0,07, намотанных в один слой. Для длинноволнового диапазона следует применять многослойную секционированную обмотку из 5—7 секций.
Порядок сопряжения настроек в приемнике с описанным механизмом следующий: сначала производят сопряжение по методике, неоднократно описанной в литературе. Это предварительное сопряжение, цель которого добиться, чтобы в любой точке диапазона можно было достичь полного сопряжения настроек перемещением катушки входного контура по ферритовому стержню в пределах 5—7 мм. Когда это достигнуто, на ось блока конденсаторов устанавливают втулку 2, на которой закреплена заготовка под кулачок з. Диаметр заготовки выбирается из соображений обеспечения необходимого 5—7 мм) перемещения катушки входного контура. Перед установкой на втулке заготовка должна быть размечена радиальными линиями с углом охвата в 190—200° (рис. 2). Необходимо отметить, что чем больше будет этих линий в пределах указанного угла, тем точнее можно будет выполнить сопрягающий контур кулачка, т. е. точнее выполнить сопряжение настроек.
Второй этап — окончательная настройка, которую можно вести как с помощью генератора стандартных сигналов, так и по радиовещательным станциям. Последовательно устанавливая блок конденсаторов в положения, соответствующие совпадению оси штока с радиальными линиями на кулачке, перемещают шток, добиваясь максимального уровня сигнала на соответствующей частоте, и делают риску на радиальной линии. После того как пройден весь диапазон, заготовку кулачка снимают с втулки и точки, получившиеся в местах пересечения рисок и радиальных линий, соединяют плавной кривой. Затем тщательно опиливают заготовку по получившемуся контуру, устанавливают кулачок на место и проверяют точность сопряжения. Автором был изготовлен транзисторный приемник с описанным механизмом сопряжения на средневолновый диапазон. По сравнению с промышленными однотипными приемниками «Альпинист», «Селга» и др. этот приемник обладает большей чувствительностью
Радио №12/1967, ст.57

