Портативная радиостанция на 430—440 Мгц
И. Оттосон, Радио №4/1964, ст.19
В статье описана несложная и доступная по конструкции радиостанция, работающая в диапазоне .430—440 Мгц. Несмотря на свою простоту, в «Полевом дне» 1962 г. она показала хорошие результаты при дальности связи 40— 60 км. После «Полевого дня» при специальной проверке сигналы передатчика, установленного на равнине, были обнаружены связным приемником, размещенным в автомобиле, на расстоянии до 200 км.
Чтобы свести к минимуму высокочастотные потери, генератор смонтирован вместе с передающей антенной на мачте (рис. 1). Модулятор передатчика и приемник расположены внизу, на столе оператора. Приемная антенна на 2,1 м ниже антенны передатчика. Общая высота мачты около 10 м.

СВЧ генератор (см. карт. вкладки). Выходная мощность генератора примерно 1,8 вт. Генератор собран по схеме с самовозбуждением. Простота схемы позволяет применять недефицитные детали и свести к минимуму — налаживание передатчика, однако ей свойственны и недостатки, например возможность паразитной частотной модуляции, Настройка заключается в выборе оптимальной связи с антенной (по свечению лампочки карманного фонаря, включенной в цепь вибратора) и определении частоты генерации при помощи измерительной линии.

Генератор смонтирован на алюминиевой панели размерами 140х52х х2 мм. Большое значение имеет качество колебательного контура в цепи анода. Петлю (индуктивность) этого контура желательно изготовить из посеребренной проволоки (трубки) диаметром 3—5 мм. Ориентировочные размеры петли 18 X 52 м. Ротор конденсатора С1 изготовлен из двух латунных пластин размерами 12×23 мм. Пластины ротора припаяны к «горячим» концам анодного контура. Статором является металлический цилиндр а высотой 12 мм и диаметром 8 мм, который прикреплен на конце 3 мм болтика. Ввинчивая или вывинчивая болтик, можно изменять расстояние между пластинами конденсатора и так менять частоту генерации. Гайка должна быть изолирована от шасси. К «холодному» концу анодного контура L3C2 прикреплен латунный хомутик, который в свою очередь прикрепляет анодный контур к изолятору из органического стекла. К этому хомутику припаян высокочастотный дроссель, который намотан проводом ПЭ 0,6—0,8, диаметр намотки 4—5 мм, число витков 10—12 при длине намотки 25—З0 мм. Фильтрующий конденсатор Сз типа КСО расположен с обратной стороны шасси.
Между выводами сеток лампы 6НЗП включена петля L1, размерами 8×18 мм, изготовленная из 1 мм посеребренной проволоки и размещенная вертикально по отношению к шасси. Катодная петля L2 из того же материала, что и L1, имеет размеры 18×45 мм. Средняя точка катодной петли заземлена.
Дроссели ВЧ в цепях накала (провод ПЭ 0,8, диаметр намотки 5 мм) включены между гнездом генераторной лампы и специальной опорной панелью.
Вибратор антенны индуктивно связан при помощи петли связи длиной 50 мм с анодным контуром и опирается на изоляторы из органического стекла. Расстояние между антенными элементами 138 мм, длина рефлектора 340 мм, вибратора 325 мм, I директора 310 мм, II директора 305 мм, III директора 300 мм. Диаметр трубок 12 мм. Мачта, на которой располагаются антенные элементы, имеет диаметр 20 мм и должна быть электрически соединена с шасси.
Анодные цепи генератора потребляют ток 40 ма при напряжении 180—210 в. Стабильность частоты передатчика при тщательном изготовлении достаточна для связей продолжительностью не выше 10 мин.

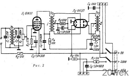
Модулятор (рис. 2) работает от угольного микрофона. Выходная мощность модулятора достаточна и для работы с более мощным генератором. Сердечник трансформатора Тр1 собран из пластин Ш-12, толщина набора 12 мм. Обмотка I содержит 600 витков провода ПЭЛ 0,08, обмотка II—9000 витков такого же провода. Сердечник трансформатора Тр2 такой же, как у Тр1. Обмотка I имеет 2000 витков, а обмотка II— 2×300 витков провода ПЭЛ 0,11. Обмотки трансформатора Трз намотаны на сердечнике из пластин Ш-16, толщина набора 32 мм. Обмотки содержат: I—2×800 витков, обмотка II—500 витков провода ПЭЛ 0,18.

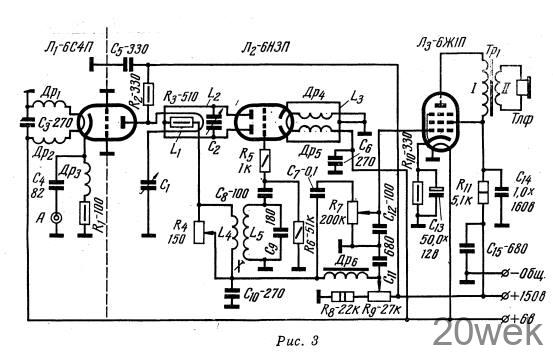
Приемник (рис. 3) имеет каскад усиления ВЧ, сверхрегенеративный детектор и каскад усиления НЧ. Усилитель ВЧ на лампе 6С4П (Л1) выполнен по схеме с заземленной сеткой. 6С4П можно заменить 6НЗП или 6Н15П, при этом оба триода соединяют параллельно. В анодную цепь усилителя ВЧ включен полуволновый петлевой отрезок линии. Линию настраивают на среднюю частоту диапазона подстроечным конденсатором С2, изготовленным из латунных пластин диаметром 12 мм. Сверхрегенеративный детектор имеет индуктивную связь с усилителем ВЧ и по конструкции аналогичен описанному выше генератору. В качестве контура гасящего генератора используется контур ПЧ, к которому добавляют обмотку связи, содержащую 30 витков провода ПЭЛШО 0,16. Выходной трансформатор Тр1 собран на сердечнике из пластин Ш-12, толщина набора 12 мм. Обмотка I содержит 9000 витков провода ПЭЛ 0,1, а обмотка II—600 витков такого же провода. Антенна приемника имеет 13 элементов при общей длине мачты крепления 2,45 м. Данные антенны сведены в таблицу.

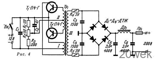
Анодно-экранные цепи питаются от преобразователя (рис. 4), который подключен к аккумулятору напряжением 12В и емкостью 60—100 а/ч. Цепи накала питаются от аккумулятора напряжением 6 в. Ток, потребляемый от накального аккумулятора, 1,7 а и от анодного аккумулятора 1,5 а. В преобразователе можно применить транзисторы П4.
Обмотки трансформатора Тр1 имеют: обмотка I —2×45 витков провода ПЭВ-2 0,64, обмотка II—2×23 витков провода ПЭВ-2 0,31, обмотка высокого напряжения III—800 витков провода ПЭВ-2 0,18. Трансформатор собран на пермаллоевом сердечнике Ш-12, при толщине набора 16 мм. Обмотки I и II наматываются вместе; потом следует разрезать середину провода и конец одной из образовавшихся обмоток присоединить к началу другой, это соединение является средней точкой данной обмотки.

Чтобы препятствовать пролезанию высших гармоник перед выпрямительным мостом, включен заграждающий фильтр из сопротивлений R4 и R5 и конденсаторов С3С4. Конденсаторы фильтра типа КСО должны быть рассчитаны на рабочее напряжение не ниже 500 в.
Преобразователь работает на частоте около 800 гц и имеет кпд порядка 75%.






