МОЩНЫЙ СТАБИЛИЗАТОР НАПРЯЖЕНИЯ
И.Ергунов, Радио №4/1965, ст. 50
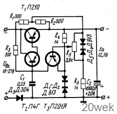
Этот стабилизатор можно использовать для стабилизации источников питания с весьма неустойчивым напряжением. Стабилизатор напряжения (рис. 1) состоит из регулирующего элемента на транзисторах Т1, Т2, усилителя на транзисторе Т3 и источника опорного напряжения Д3, Д4. Напряжение на выходе стабилизатора равно разности между входным напряжением и падением напряжения на транзисторе Т1. Если выходное напряжение по какой-то причине увеличивается, то ток цепи базы транзистора Т3 и его коллекторный ток возрастают, что вызывает уменьшение базового тока транзистора Т2. Последнее вызывает увеличение сопротивления коллекторно-эмиттерного перехода транзистора Т1, в результате чего увеличивается падение напряжения на этом сопротивлении. Напряжение на выходе стабилизатора уменьшается. При понижении выходного напряжения стабилизатора происходит обратное явление.

Стабилизатор поддерживает величину выходного напряжения 12,5 в с точностью до ±2% при изменении тока нагрузки от 0 до 5 а. Он смонтирован на алюминиевой панели размерами 300X250X4 мм. Общие габариты конструкции 300 Х250 Х40 мм. При монтаже использованы сопротивления МЛТ-1, переменное сопротивление группы А с мощностью рассеивания 2вт, бумажный конденсатор МБМ и др. Налаживание стабилизатора при правильно выполненном монтаже сводится к подбору кремниевых стабилитронов Д3, Д4 по напряжению стабилизации и установке режима стабилизации с помощью сопротивления R5
