МНОГОЭЛЕМЕНТНАЯ АНТЕННА ДВУХМЕТРОВОГО ДИАПАЗОНА
Ю. ЖОМОВ, Радио №10/1964, ст.20
Для установления дальних связей на диапазоне 144—146 Мгц, как в стационарных условиях, так и в полевых, во время «недели рекордов» необходимо иметь высокочувствительный приемник и эффективную антенну с большим коэффициентом усиления и малым углом излучения в вертикальной плоскости. Подобные антенны применяют многие радиолюбители и получают хорошие результаты. Ниже приводится описание 28-элементной антенны, которая в течение ряда лет использовалась во время соревнований «Полевой день» и давала высокие результаты.
Антенна состоит из четырех частей по семи элементов в каждой. Части антенны расположены по две в ряду и в два этажа. Таким расположением достигается высокое усиление антенны, а двухэтажное размещение обеспечивает низкий уровень излучения к горизонту. Острона- правленность антенны в горизонтальной плоскости достигается тем, что ее части, расположенные в каждом горизонтальном ряду, представляют синфазные системы. Антенна имеет простую механическую конструкцию и просто настраивается.
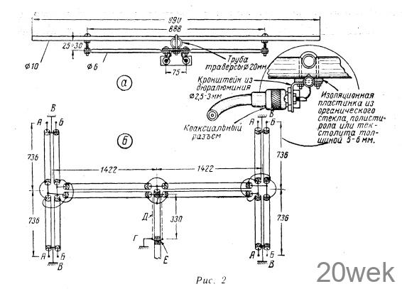
Конструкция. Антенна (3-я стр. обложки, рис. А) состоит из трехколенной мачты длиной 6м Н-образ- ной траверсы, на четырех концах которой крепятся семиэлементные части антенны. Мачта делается разборной для того, чтобы ее было удобнее транспортировать к месту установки. Она может быть изготовлена из толстостенных дюралюминиевых труб диаметром 50—60 мм или из газовых труб диаметром 32 мм.

Конструкция мачты и отдельные ее узлы изображены на рис. Б. Подшипник скольжения изготовляется из бронзы. Он состоит из неподвижной части /, прикрепленной к мачте винтами с потайными головками, и скользящей части 2, на которой укреплены кольца 3 оттяжек. Для вращения антенны на мачте имеется штурвал, у которого одна из ручек длиннее остальных, для того чтобы определять направление антенны в ночное время. Если есть возможность, для вращения антенны лучше присоединить к ней электромотор с редуктором. Редуктор должен сообщать антенне скорость вращения не более 2—4 оборотов в минуту. Чтобы предотвратить обрыв кабеля фидера, следует установить концевые выключатели, которые позволяли бы антенне совершать только один оборот. Для контроля за направлением антенны можно применить сельсины Желательно иметь приспособление для фиксации антенны в одном положении. Необходимость фиксации бывает при сильных ветрах, которые могут самопроизвольно поворачивать антенну. Н-образная траверса показананарис. В. Она сделана из дюралюминиевых труб диаметром 30 мм. Трубы траверсы соединяются между собой и с мачтой при помощи 6—8 хомутов, изготовленных из круглой стали диаметром 8—10 мм. Хомуты пропущены через пластины из дюралюминия толщиной 10—12 мм. Устройство соединений хорошо видно на рис. В. Внутрь концов горизонтальной перекладины нужно вставить деревянные пробки для предохранения трубы от деформации при затягивании хомутов.

Семиэлементные части антенны одинаковы. Они расположены в два этажа по одной плоскости и питаются синфазно. Все конструктивные размеры их даны на рис. 1. Для облегчения согласования частей антенн с фидером активные вибраторы Б сделаны петлевыми (вибраторы Пистолькорса). Чтобы упростить изготовление этих вибраторов, они сделаны из двух отдельных трубок, медных или дюралюминиевых, соединенных между собой латунными болтами М4, как показано на рис. 2,а. Из этого же рисунка хорошо видна конструкция остальных узлов вибратора. Пассивные вибраторы А, В, Г, Д, Е, Ж изготовляются из медных или дюралюминиевых трубок диаметром 10 мм и прикрепляются к несущей трубке хомутами. Для фидера антенны используется коаксиальный кабель с волновым сопротивлением 75 ом (РК-3, РК-20 или РК-49). Схема соединения активных вибраторов каждого из этажей антенны с фидером изображена на рис. 2,6. Там же указаны все размеры отрезков кабелей. Центральные жилы и экранирующие оплетки спаиваются так, как указано на этом же рисунке. Оплетки кабелей в местах, обозначенных буквами В, подключаются в непосредственной близости от петлевых вибраторов к коаксиальным разъемам (если они отсутствуют, то винтами), а в точке Г — к мачте коротким многожильным проводником. Места соединения кабелей должны иметь прочную конструкцию и быть хорошо изолированными. Эти узлы могут быть выполнены в виде соединительных коробок с коаксиальными разъемами, но монтаж в коробках должен быть коротким. В качестве симметрирующего элемента используется медная или алюминиевая трубка длиной л/4.

Диаметр этой трубки зависит от выбранного кабеля, поверх изоляции которого она надевается. Верхний конец трубки хорошо изолируется, а нижний конец припаивается многожильным коротким проводником к экранирующей оплетке кабеля в точке Е. Длина кабеля, идущего к радиостанции, может быть любой. Следует обратить особое внимание на подключение кабелей к петлевым вибраторам в точках А и Б. Все кабели с обозначением А подключают к левым половинам петлевых вибраторов, а с обозначением Б — к правым или наоборот. Если это не будет соблюдено, то диаграмма излучения исказится и будут большие потери. Все размеры антенны (кроме длины мачты) должны точно соответствовать указанным на рисунках.
Настройка антенны. Настройка антенны сводится к тому, чтобы определить ее диаграмму излучения и проверить правильность согласования антенны с фидером с помощью прибора для измерения коэффициента стоячей волны, описанного в «Радио» 1963 г., № 2, стр. 21. Согласование антенны с фидером производится изменением расстояния между трубками петлевого вибратора. Для снятия параметров антенны необходимо изготовить индикатор поля. Он состоит из полуволнового диполя, ВЧ детектора и чувствительного микроамперметра. Антенну подключают к передатчику, который настраивают на среднюю частоту диапазона. Передатчик включают и измерительный диполь помещают на высоте 3—5 м перпендикулярно оси излучения антенны на расстоянии нескольких длин волн от нее. Получив максимальное отклонение стрелки микроамперметра, можно приступать к снятию диаграммы излучения в горизонтальной плоскости. Для этого необходимо иметь индикатор поворота антенны, разбитый на 360 градусов. Диаграмму снимают по точкам через каждые 5 градусов поворота антенны. Нормально работающая антенна имеет узконаправленный вытянутый лепесток в прямом излучении и три маленьких лепестка назад. Коэффициент усиления антенны равен 18 дб





