Конвертер на 144 Мгц
Г. Румянцев, В. Чернышев, Радио №11/1965, ст.19
Вописываемом конвертере может быть достигнут коэффициент шума 2,5 дб (1,8 кТ0). Это позволяет при подключении конвертера к высокочувствительному приемнику слышать передачи любительских радиостанций, находящихся на большом расстоянии (2000 км и более).
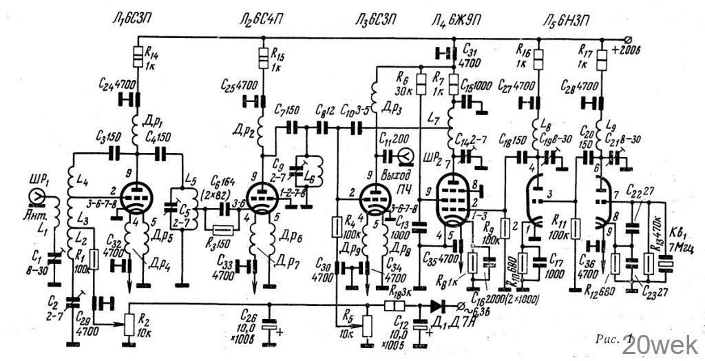
Как показали опыты, наилучший коэффициент шума у конвертера получается тогда, когда его входная цепь построена так, как это показано на принципиальной схеме (рис. 1). Входной контур, состоящий из катушек L2 L3, конденсатора С2 и входной емкости лампы Л1, симметричен относительно земли. Такое включение элементов позволяет получить высокую добротность контура и увеличить коэффициент передачи входной цепи. Связь с антенной индуктивная, причем катушка связи L1 помещена между контурными катушками L2 и L3 и ее реактивное сопротивление скомпенсировано конденсатором С1, что делает входное сопротивление конвертера чисто активным и улучшает согласование с антенной

В качестве входной лампы выбран триод 6СЗП (Л1), имеющий высокое значение крутизны характеристики S и входного сопротивления Rвх на рабочих частотах конвертера. Смещение на лампу Л1 подается фиксированное — от специального выпрямителя. При использовании автоматического смещения значительно увеличивается общая индуктивность ввода катода лампы, так как он заземляется через конденсатор, имеющий конечное значение индуктивности выводов. При выбранной схеме смещения катод лампы Л1 заземлен, поэтому входное сопротивление каскада оказывается максимальным и коэффициент усиления — большим. Катушка L4 служит для нейтрализации емкости Сас лампы Л1. В качестве нагрузки первого каскада используется контур L5 С5, связанный автотрансформаторного вторым каскадом, собранным по схеме с заземленной сеткой на лампе 6С4П (Л2). Включение ламп Л1 и Л2 напоминает каскодную схему, однако в отличие от последней коэффициент усиления первого каскада выше единицы (около трех), что уменьшает долю шумов, вносимых следующими каскадами в суммарный шум входной цепи. Анодные цепи первого и второго каскадов выполнены по схеме параллельного питания.
В третьем каскаде конвертера — односеточном преобразователе применена лампа 6СЗП (Л3). Этот каскад связан с нагрузочным контуром второго каскада через конденсатор С8, а с выходной лампой гетеродина 6Ж9П (Л4) — посредством конденсатора С10. Выбранные значения этих конденсаторов позволяют получить нужное напряжение сигнала гетеродина на преобразователе (около 5 в). Максимальный коэффициент преобразования подбирается путем изменения напряжения смещения при помощи потенциометра R5. На сетку лампы Л3 подается фиксированное смещение от выпрямителя по тем же причинам, что на лампу Л1. К выходу преобразователя подключается коротковолновый приемник, имеющий диапазон 4—6 Мгц.
Гетеродин конвертера состоит из кварцевого генератора на правом (по схеме) триоде лампы 6НЗП (Л5), собранного по схеме с заземленным анодом. Контур L9 С21 в анодной цепи этого триода настроен на частоту 35 Мгц; таким образом триод одновременно используется в качестве умножителя. На левом (по схеме) триоде 6НЗП (Л5) собран удвоитель частоты, с выхода которого на управляющую сетку оконечной лампы гетеродина 6Ж9П (Л4) поступает напряжение с частотой 70 Мгц. В каскаде на лампе Л4 происходит дальнейшее удвоение частоты до 140 Мгц.
Конструкция. Шасси конвертера размерами 300 X 120 X 50 мм изготовлено из латуни толщиной 0,5 мм. Внутренняя часть шасси разделена на ряд отсеков экранами, которые предохраняют соответствующие каскады конвертера от возбуждения. Экраны и углы сгиба шасси тщательно пропаивают. Все выводы деталей, которые необходимо заземлить, присоединяют непосредственно к шасси конвертера или к экранам. Монтаж выполняется жестким проводом диаметром 0,8—1,0 мм (желательно посеребренным). Монтажная схема конвертера изображена на третьей странице вкладки. Там же приведены данные контурных катушек. Дроссели Др1 и Др2 наматываются на сопротивлениях ВС- 0,5 вт не менее 1 Мом проводом ПЭВ 0,2 мм до заполнения. Намотка ведется переменным шагом. Выводы дросселей со стороны разреженной намотки припаиваются к анодам ламп Л1 и Л2 соответственно. Дроссель Др3 выполняется в броневом сердечнике типа СБ-1а и наматывается проводом ПЭЛШО 0,12 мм до заполнения каркаса сердечника. Накальные дроссели Др4—Др9 наматываются на сопротивлениях ВС-1 1вт не менее 1 Мом проводом ПЭЛ 0,5 мм с шагом 1 мм до заполнения.

При монтаже конвертера необходимо выдержать данные всех деталей возможно ближе к указанным на принципиальной схеме. Следует обратить внимание на типы применяемых конденсаторов. В конвертере могут быть использованы только конденсаторы КДК, КТК, либо СГМ, так как другие типы имеют большие индуктивности выводов.
Налаживание. Сначала при помощи лампового вольтметра настраивают контуры гетеродина. Напряжение на контуре L7 С14 должно быть не менее 20 в. Затем на контур L6 С9 подают напряжение с частотой 145 Мгц от ГСС, а присоединенный к конвертеру приемник, на выходе которого должен прослушиваться сигнал от ГСС, настраивают на 5 Мгц. Изменяя напряжение смещения на лампе Л3 вращением движка потенциометра R5, добиваются максимального напряжения на выходе приемника. Потом подключают ГСС ко входу конвертера, и снимают путем отключения сопротивления R14 анодное напряжение с лампы Л1. Сигнал ГСС резко увеличивают (в противном случае его нельзя будет обнаружить на выходе приемника) и вращают роторы подстроечных конденсаторов С1 С2, С5 и С9 до получения максимума сигнала на индикаторе выхода. Затем, растягивая либо сжимая витки катушки L4, добиваются минимума сигнала (очень резкого). После этого на лампу Л1 подают анодное напряжение и при помощи потенциометра R2 устанавливают такое напряжение смещения, чтобы анодный ток Л1 был равен 12—15 ма. В таком режиме лампа 6СЗП имеет наилучшие параметры. Снова подстраивают конденсаторы С1, С2, С5 с тем, чтобы скомпенсировать расстройку, внесенную при изменении индуктивности катушки L4.
Теперь отключают ГСС, замыкают входной коаксиальный разъем ШР1 непроволочным сопротивлением ВС- 0,25 75 ом и настраивают конденсатор С2 на максимум шумов на выходе приемника (при правильной настройке уровень шумов должен возрастать в 2—4 раза по сравнению с расстроенным контуром). После этого вращают ротор конденсатора С1 до тех пор, пока не будет получен минимум шумов, затем опять подстраивают конденсатор С2 на максимум, шумов. Эта операция повторяется 3—4 раза, и настройка заканчивается. При подключении антенны вместо сопротивления 75 ом уровень шумов должен возрастать не менее, чем в 1,5 раза. Нужно отметить, что при использовании для настройки шумового генератора можно несколько улучшить коэффициент шума путем более тщательной настройки катушки L4 и подбора связи с антенной;, однако выигрыш будет незначительный (не более 0,2—0,3 кT0). На этот конвертер в г. Ленинграде принимались сигналы большого числа дальних радиостанций, как-то G3LTF, ON4FG, OK2WCG, DL3YBA, SP3GZ и многих других. Нужно отметить, что качество приема зависит и от основного приемника. Необходимо, чтобы этот приемник имел высокую стабильность и точность отсчета частоты, а также хорошую избирательность. Его чувствительность должна быть не ниже 2—5 мкв в телеграфном режиме, в противном случае общий коэффициент шума окажется более высоким, чем 1,8 кТ0.





