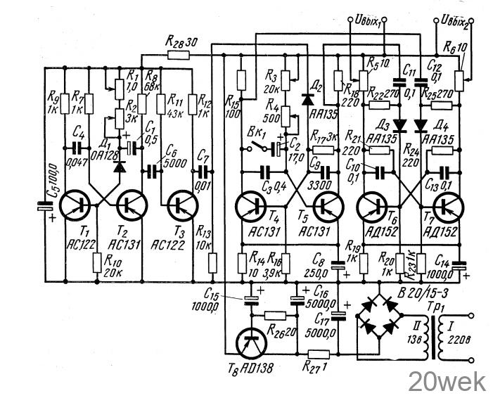
Импульсный генератор
Радио №7/1965, ст. 58
На рисунке дана схема генератора прямоугольных импульсов, который можно использовать для настройки широкополосных и импульсных схем, усилителей видеочастоты, измерения параметров транзисторов и других целей. Частота повторения импульсов изменяется в пределах 0,3—300 мсек, длительность импульсов — в пределах 0,1—250 мсек. Достоинствами прибора являются высокая стабильность импульсов, правильная прямоугольная форма импульсов, малые размеры прибора.

Транзисторы Т1 и Т2 работают в схеме несимметричного мультивибратора, который используется для получения управляющих импульсов. Их длительность определяется величинами емкости конденсатора С4 и сопротивления R7 и приблизительно равна 35 мксек. Частота повторения. импульсов устанавливается потенциометром R1. Интервал между импульсами изменяется в пределах 0,3—300 мсек и зависит от постоянной времени С1 (R1+R2)- Сопротивление R2 определяет наивысшую частоту повторения импульсов, но оно должно оставаться достаточно большим, чтобы не вызвать срыва колебаний из-за перегрузки транзистора T1
Каскад, собранный на транзисторе Т3, препятствует воздействию остальных каскадов генератора на работу транзисторов Т1 и Т2.
На транзисторах T4 и Т5 собран триггер с одним устойчивым состоянием. Этот каскад переформировывает управляющие импульсы в прямоугольные, одновременно позволяя регулировать их длительность. При разомкнутом выключателе Вк1 длительность импульсов можно устанавливать сопротивлением R3 в пределах 0,1 — 6 мсек при замкнутом — в пределах 6—250 мсек. Сопротивление R4 определяет (аналогично сопротивлению R2) кратчайшую длительность импульса.
С коллекторов транзисторов T4 и Т5 снимаются прямоугольные импульсы, сдвинутые по фазе на 180°. Они управляют работой триггера с двумя устойчивыми состояниями, собранного на транзисторах T6 и T7. Этот каскад необходим для окончательного формирования импульсов. С зажимов Uвых1 и Uвых2 выходные импульсы снимаются в противофазе. Их амплитуда изменяется сопротивлениями R5 и R6 от 0 до 10 в.





