ГИР на транзисторах
Радио №5/1965, ст. 62
К прибору были предъявлены следующие требования: небольшие размеры, возможность автономного питания, удобство в эксплуатации.
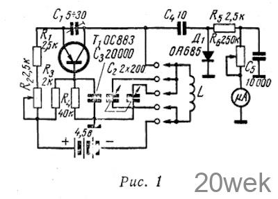
Схема прибора приведена на рис. 1. Колебательный контур включен в цепь коллектора транзистора Т1. Обратная связь осуществляется с помощью подстроечного конденсатора С1 Генерируемое напряжение подается на германиевый диод Д1 и выпрямляется. Выпрямленное напряжение фильтруется цепочкой R5С5, поступает на микроамперметр МА чувствительностью не хуже 50 мка.

Конденсатор переменной емкости— двухсекционный блок в миниатюрном оформлении. На нижних частотах диапазона обе секции включены параллельно, на верхних — используется одна секция. Переключение секций и включение напряжения питания осуществляется перемычками между ножками лампового октального цоколя, на котором крепится соответствующая катушка индуктивности. Таким образсм прибор готов к работе при вставленной контурной катушке. Данные катушек отсутствуют, но радиолюбитель может рассчитать их самостоятельно по формуле Томсона.
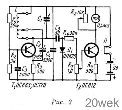
На рис. 2 приведена схема ГИРа, в котором благодаря применению усилителя постоянного тока на транзисторе Т2, оказалось возможным использовать индикатор резонанса mA чувствительностью 0,5 ма.

Схема высокочастотного генератора аналогична рассмотренной выше. Полоса генерируемых частот 3— 100 Мгц) и разбита на 5 диапазонов.
Конденсатор С1— двухсекционный блок в миниатюрном оформлении. Одна секция имеет максимальную емкость 150 пф, вторая — 30 пф. На диапазонах 20—50 Мгц и 50 — 100 Мгц используется малая секция, на остальных — большая.
Транзистор Т2 должен иметь минимальный коллекторный ток покоя. В остальном схема УПТ проста и особенностей не имеет.
Перед постройкой прибора рекомендуется собрать схему на экспериментальном шасси и подобрать величины сопротивлений. Коллекторный ток транзистора Т1 должен быть порядка 3—5 ма, его устанавливают подбором сопротивлений делителя R1, R2— При постройке прибора ручку потенциометра R7 выводят под шлиц.

Катушки индуктивности наматывают на полистироловых каркасах диаметром 8 мм. Намоточные данные приведены в таблице. Выбор рабочего диапазона осуществляется включением соответствующих катушек индуктивности, установленных на ламповых цоколях. С помощью перемычки П между двумя ножками цоколя одновременно происходит включение источника питания, в качестве которого можно использовать батарею «Крона»





