ГИДРОАКУСТИЧЕСКИЙ СИГНАЛИЗАТОР
А. Давыдов, Б. Давыдов, Радио №4/1964, ст.52
Гидроакустический сигнализатор незаменим во время соревнований ныряльщиков на длительность пребывания под водой. Сама идея сигнализации с помощью радиотехнических средств о чрезмерно длительном, а следовательно опасном для жизни, пребывании под водой заслуживает внимания радиолюбителей.
Датчик, реагирующий на длительное пребывание на глубине 1—2 м под водой не универсален, так как несчастный случай может произойти на меньшей глубине. Следовало бы сконструировать датчик, реагирующий на прекращение дыхания или сердцебиения.
Гидроакустическая аппаратура автоматической сигнализации о тонущем человеке состоит из малогабаритных автоматических передатчиков и одного «дежурного» приемника. Передатчики закрепляются на теле пловцов, а приемник находится на спасательном посту непосредственно у воды. При приеме сигналов бедствия от любого из передатчиков на спасательном посту автоматически включается световая и звуковая тревожная сигнализация.
Дальность действия аппаратуры порядка 200 м.
Передатчик
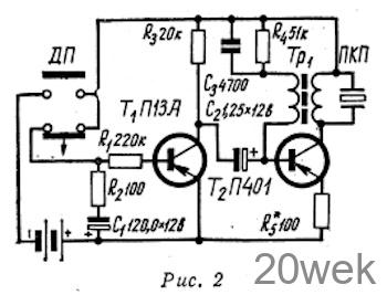
Передатчик, блок-схема которого помещена на рис. 1, а принципиальная схема — на рис. 2, состоит из датчика погружения, реле времени и генератора ультразвуковых колебаний с пьезокерамическим излучателем. Рабочая частота передатчика 53 кгц.

С целью повышения надежности и экономичности передатчика включение его питания осуществляется контактами датчика погружения, который отрегулирован так, что замыкание происходит при погружении на глубину свыше 0,2—0,5 м. Реле времени исключает возможность подачи ложных сигналов при нырянии купающихся и включает передатчик только через 55—60 сек после срабатывания датчика погружения. Такое время выдержки выбрано исходя из того, что тренированный пловец способен задержать дыхание под водой на время порядка одной минуты. Всякий случай пребывания человека под водой дольше одной минуты может расцениваться как опасный для жизни. Если же в практике и будут встречаться случаи, когда ныряльщик сможет находиться под водой дольше одной минуты, то, во-первых, после подъема пловца на глубину менее границы срабатывания датчика погружения тревожная сигнализация выключится, а, во-вторых, в приемнике имеется дополнительно реле времени, выдержку которого можно регулировать в зависимости от необходимости в широких пределах.
Для излучения и приема ультразвуковых колебаний в передатчике и в приемнике применены пьезокерамические преобразователи из титаната бария чувствительностью 3-10 мкв/бар, имеющие форму полого цилиндра с наружным диаметром 30 мм, внутренним диаметром 26 мм и высотой 28 мм. Электроакустический коэффициент полезного действия таких преобразователей порядка 25%.
Цилиндрическая форма преобразователей позволяет получить круговую характеристику направленности приемника и передатчика, достаточно же малое отношение высоты преобразователя к длине рабочей волны приближает характеристику, направленности к сферической. И все же у преобразователей цилиндрической формы пространственная характеристика излучения (приема) имеет зоны малой интенсивности (чувствительности) сигналов. Хотя вероятность совпадения зон малой интенсивности передатчиков с зоной малой чувствительности приемника невелика, этих зон желательно не иметь совсем. Для получения в пространстве полной сферической и равномерной характеристики излучения (приема) более эффективным будет применение в аппаратуре преобразователей сферической формы.

Генератор ультразвуковых колебаний и реле времени выполнены на двух транзисторах Т1 и Т2 типа П-13А и П-401. На первом из них собрано реле времени и на втором собственно генератор. Генератор собран по схеме с индуктивной обратной связью. В качестве источника питания в передатчике используются два аккумулятора типа Д-0,06, соединенные последовательно. При погружении на глубину менее 0,2—-0,5 м передатчик электрической энергии не потребляет; при нахождении на большей глубине, когда работает реле времени, потребление тока составляет 4,0 ма. В режиме излучения передатчик потребляет ток 3,0 ма, поэтому практически можно считать, что продолжительность ра- боты источников питания в течение одного цикла определяется временем их саморазряда. Выходная электрическая мощность передатчика составляет 6,0 мВт, акустическая мощность — около 2 мВт.
Расположение деталей передатчика изображено на рис. 4.

Передатчик смонтирован внутри корпуса пьезокерамического преобразователя на прямоугольной гети- наксовой плате, имеющей размеры 15х22 мм. Транзистор Т2 взят с коэффициентом усиления не менее 60. Трансформатор Tp1 выполнен на ферритовом кольце (Ф-600) с наружным диаметром 8 мм. Обмотки I и II содержат соответственно 70 и 9 витков провода ПЭЛШО 0,17. С целью получения наименьших габаритов конденсатор С1 собран из 12 параллельно соединенных конденсаторов типа ЭМИ 10мкф х 3в. Нижний торец преобразователя (ПКП) клеем 88 закреплен в пазу гетинаксовой фигурной крышки. В корпусе крышки имеется герметизированное отделение для аккумуляторов. Замена аккумуляторов производится через дно крышки, укрепленное на шести винтах. Герметизация дна осуществляется посредством круглой резиновой прокладки сечением 2×2 мм2 диаметром 20 мм.

Схематический чертеж датчика погружения дан на рис. 5. Контактная группа (К) датчика погружения укреплена с внутренней стороны верхней крышки (ВК) преобразователя. Воспринимающим элементом датчика погружения является опорный штифт (1), выполненный в форме грибка. Диаметр верхней площадки равен 10 мм. Сверху на крышку и опорный штифт клеем 88 приклеена эластичная резина (2) толщиной 0,2— 0,3 мм. При погружении передатчика на глубину 0,2—0,5 м опорный штифт под давлением воды, перемещаясь до упора в ограничитель, производит переключение контактов. Регулировка датчика глубины производится с помощью груза, равного силе давления столба воды высотой в 0,2—0,5 м (около 40 г).
Частота генерации определяется индуктивностью первичной обмотки трансформатора Тр1 и емкостью пьезокерамического преобразователя. Настройка передатчика производится по частотомеру на резонансную частоту преобразователя изменением числа витков первичной обмотки трансформатора. Настройка передатчика посредством подсоединения параллельно преобразователю добавочного конденсатора нежелательна, так как это приводит к бесполезной потере выходной мощности передатчика. Выдержка реле времени регулируется изменением величины емкости конденсатора С1.
Вопрос наиболее рационального размещения передатчика на купающемся человеке имеет немаловажное значение как с точки зрения нежелательной экранировки сигналов передатчика телом человека, так и с точки зрения обеспечения свободы движений пловца в воде.
Как показал опыт, наиболее удобным вариантом размещения передатчика на купающемся человеке следует считать крепление на плавательной шапочке, в специально предусмотренном резиновом «кармане». В связи с небольшим весом (50 г на воздухе и 22 г в воде) такой способ крепления не вызывает неудобств.
ПРИЕМНИК
Распространяющиеся от передатчика по воде ультразвуковые колебания воспринимаются пьезокерамическим преобразователем, усиливаются приемно-усилительным трактом и осуществляют включение тревожной сигнализации.
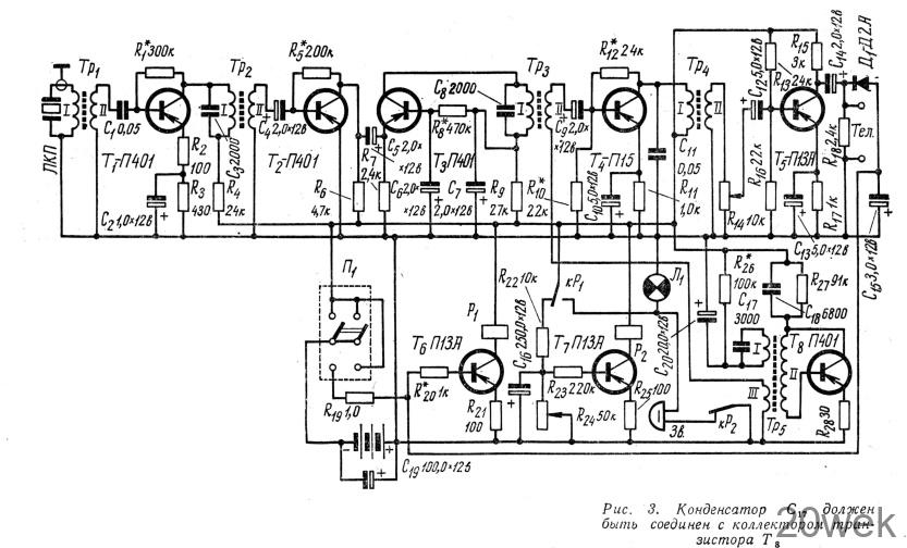
Принципиальная схема приемника приведена на рис. 3. Он собран на восьми транзисторах по своеобразной супергетеродинной схеме с заземленным эмиттером и предназначен для работы на фиксированной частоте 53 кгц. Номинальное напряжение питания — 15 в (четыре батареи КБС-Л-0,5); при снижении напряжения питания до 11 в работоспособность приемника полностью сохраняется. Потребляемый ток й дежурном режиме порядка 17—20 ма; в режиме включения предварительного индикатора около 105 ма ив режиме работы тревожной сигнализации — не более 300 ма.

Коэффициент усиления приемника по напряжению равен 6-9х105. Чувствительность, определяемая минимальной величиной сигнала на базе первого транзистора, при котором срабатывает реле P1, равна 1 мкв.
Усилитель ВЧ состоит из трех каскадов, собранных на транзисторах Т1,Т2,Т3. Преобразователь ПКП вместе с первичной обмоткой трансформатора Тр1 составляет контур, настроенный в резонанс на частоту 53 кгц. Межкаскадные согласующие трансформаторы Тр2 и Трз также являются резонансной нагрузкой и повышают избирательность приемника.
Для получения максимального усиления и уменьшения вероятности самовозбуждения каскадов усиления ВЧ второй и третий каскады собраны по каскодной схеме с параллельным питанием .Усиленные ультразвуковые колебания вместе с частотой гетеродина со вторичной обмотки трансформатора Трз поступают на смеситель, собранный на транзисторе Т4. Гетеродин приемника собран на транзисторе Т8 по той же схеме, что и генератор передатчика. Низкочастотные колебания, представляющие собой разность частот основного сигнала и гетеродина, выделенные в обмотке I трансформатора Тр4 усиливаются каскадом усилителя НЧ, выполненного на транзисторе Т5. После выпрямления (диод Д1) напряжение сигнала подается на усилитель постоянного тока (транзистор Т6) с высокочувствительным поляризованным реле P1 в цепи коллектора.
При поступлении сигнала срабатывает реле P1. Через контакты этого реле подается питание на предварительный индикатор — лампочку Л1 на один полюс звонка (ЗВ) тревожной сигнализации и одновременно снимается минус напряжения питания с конденсатора C16 и с базы открытого до этого транзистора Т7 реле времени. При этом контакты реле Р2 разомкнуты. Конденсатор C16 начинает разряжаться на сопротивление R24, и через некоторое время ток транзистора Т7 уменьшится настолько, что якорь реле Р2 перебросит контакты реле и плюс источника питания подключится ко второму выводу звонка, приведя в действие тревожную сигнализацию. Время выдержки реле времени может изменяться в пределах от 0 до 60 сек с помощью переменного сопротивления R24 выведенного на переднюю панель приемника.
В исправном приемнике при легком трении пальцем по поверхности преобразователя загорается лампочка Л1 и срабатывает звуковая сигнализация.
Приемник смонтирован на двух гетинаксовых платах, установленных на шасси и на передней панели прибора, жестко скрепленной с шасси. Шасси вставляется в металлический кожух, имеющий размеры 240x145x 180 мм, на котором укреплена ручка для , переноски прибора и замки для закрепления шасси внутри кожуха. Монтаж и расположение деталей приемника хорошо видны на рис. 6.

На переднюю панель приемника выведены: переключатель П1 лампочка-индикатор Л1 ручка потенциометра R24 со шкалой установки выдержки времени и разъем для подсоединения коаксиального кабеля с гидроакустическим преобразователем. Реле Р1 и Р2 применены типа РП-5, двухпозиционные с преобладанием. Сопротивление обмоток реле 6000 ом.
Гидроакустический преобразователь приемника закреплен между двумя латунными крышками, которые стягиваются тремя шпильками. Герметизация внутренней полости преобразователя осуществляется резиновыми прокладками в пазах. В одной из крышек имеется сальник с резиновым уплотнением, через который осуществляется ввод кабеля типа РК-1 от приемника.
Намоточные данные трансформаторов приведены в табл. 1.

При монтаже приемника особое внимание следует обратить на размещение каскадов усиления ВЧ и гетеродина. Трансформаторы необходимо разместить друг от друга на расстоянии не менее 30 мм и так, чтобы оси их симметрии были расположены под углом 90°; гетеродин желательно смонтировать на отдельной плате вместе с исполнительной частью приемника.

После проверки правильности монтажа приемника включается питание и производится проверка режимов транзисторов по постоянному току (см. таблицу 2). После этого настраивают усилитель ВЧ. Для чего отключают гетеродин и на вход приемника от генератора стандартных сигналов через конденсатор емкостью 0,05— 0,1 мкф подают немодулированные колебания с частотой 53 кгц; усиленное напряжение высокой частоты измеряется ламповым вольтметром на коллекторе транзистора Тз. При выключении сигнала со входа приемника вольтметр должен показывать напряжение собственных шумов приемника. Величина этих шумов, приведенная к входу, не должна превышать 0,01 мкв для настроенного приемника (при закороченном входе). Если при выключении сигнала вольтметр показывает напряжение, значительно превышающее уровень шумов, то это указывает на возбуждение в каскадах усиления ВЧ. Для устранения этого следует несколько разнести друг от друга трансформаторы Тр2 и Трз, в ряде случаев помогает смена концов вторичных обмоток этих трансформаторов.
Затем необходимо настроить в резонанс контуры трансформаторов Тр1 Тр2 и Трз изменением величин конденсаторов Сз и C8 или подбором чисел витков первичных обмоток. В последнюю очередь производится настройка контура, образованного гидроакустическим преобразователем и первичной обмоткой трансформатора Тр1. В этом случае сигнал на входе приемника воспринимается непосредственно преобразователем ПКП от катушки индуктивности, включенной на выходе ГСС и установленной на расстоянии 10— 15 см от ПКП. На катушку индуктивности с ГСС подается сигнал напряжением около 1 в. Настройка входного контура в резонанс достигается изменением числа витков обмотки I или подключением параллельно контуру конденсаторов. Резонанс определяется по максимальному показанию вольтметра. Чувствительность приемника после настройки входного контура должна повыситься в 1,5—2 раза.
Подключенный к схеме гетеродин настраивается по частотомеру на частоту 51—51,5 кгц изменением числа витков обмотки I трансформатора Трь и подстроечным сердечником.
Работа смесителя и усилителя НЧ проверяется при подаче на вход приемника частоты 53 кгц от ГСС. Наибольшее усиление и лучшая передача низкочастотных сигналов достигается подбором смещения на базе транзистора Т4 с помощью сопротивлений R10 и R12.
Реле Р1 исполнительной части приемника должно срабатывать при напряжении на базе транзистора Т6 минус 0,1—0,2 в, ток коллектора в этом случае равен 0,15—0,2 ма; при установке электромагнитных реле с более низкоомными обмотками коллекторный ток может увеличиваться до 8—10 ма После настройки передатчика и приемника в отдельности проверяется работа всей аппаратуры в воде.





