Генератор эталонных частот
Радио №11/1965, ст.60
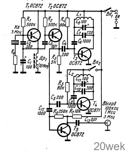
В ряде случаев необходимо иметь сигналы эталонных частот 1 Мгц и 100 кгц. Кварцы этих частот очень дороги и их трудно достать, однако колебания 1 Мгц, 100 кгц можно получить от генератора, схема которого показана на рис. 1, где применен всего один кварц, рассчитанный на частоту 3 Мгц.

Третья субгармоника кварцевого генератора, собранного на транзисторе Т1, используется для синхронизации LC генератора на 1 Мгц, собранного на транзисторе Т3. Десятой субгармоникой этого LC генератора синхронизируется генератор частоты 100 кгц, собранный на транзисторе Т4.
В эмиттерной цепи транзистора Т2 присутствуют напряжения всех трех частот, то есть 3 Мгц, 1 Мгц и 100 кгц. Транзистор Т5 усиливает их приблизительно в два раза. Напряжение синхронизации подается через конденсаторы С4 и С5. Каскад, выполненный на транзисторе Т2, служит для уменьшения влияния LC генераторов на субгармоники кварцевого генератора.
«Radio und Fernsehen», 1964, № 11ОТ РЕДАКЦИИ. Описанный эталонный генератор можно использовать для получения калибровочных меток с интервалом 3; 1; 0,1 Мгц при настройке усилителя ПЧ телевизоров. Для этого на вход усилителя ПЧ вместе с основным сигналом от ГСС подается напряжение с выхода описанного выше генератора. Калибровочные метки можно наблюдать на экране осциллографа или контролировать на слух через усилитель НЧ и громкоговоритель. Для получения меток с интервалом 3 и 1 Мгц генератор на транзисторе Т4 надо выключить, а для меток с интервалом 100 кгц — включить.
Транзисторы ОС872 и ОС871 можно заменить транзисторами П403. Катушка L1 имеет индуктивность 80 мкгн, L2 —6,5 мгн. Отводы делаются от 1/3 части витков. Сопротивление R8 равно 1—3 ком.





