ФАЗОМЕТР
Н. СТРЕЛЬЧУК, Радио №2/1964, ст.43
Фазометр, выполненный в виде приставки к осциллографу, позволяет измерять сдвиг фаз между входными и выходными напряжениями, вносимый НЧ усилителем, трансформатором, различными многофазными системами и т. д.
Принцип работы фазометра заключается в следующем: с помощью регулируемого фазовращателя (рис. 1)

и звукового генератора получают пару синусоидальных напряжений, сдвинутых по фазе относительно друг друга на 90°, которые подаются соответственно на горизонтальные и вертикальные отклоняющие пластины осциллографа, создавая круговую развертку. Одновременно одно из этих напряжений подается на вход исследуемого четырехполюсника. К выходу четырехполюсника подключено электронное реле. Дифференцированные выходные импульсы электронного реле модул и р уют электронный луч осциллографа таким образом, что на экране трубки образуется метка, положение которой зависит от фазового сдвига, вносимого четырехполюсником. Для определения точки начала отсчета, вход электронного реле подключается ко входу четырехполюсника и при помощи оптического устройства (рис. 3) отсчитывается угол между началом отсчета и меткой.

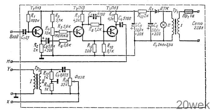
Фазовращатель состоит из трансформатора Тр2 (рис. 2), фазирующей цепочки C7R15 и симметрирующих сопротивлений R13, R14 Электронное реле построено по схеме триггера Шмидта на транзисторах Т2 и Т3 типа П-13. Входным устройством реле служит эмиттерный повторитель на транзисторе Т1 типа П-13. Питание транзисторов (24 в) обеспечивается однополупериодным выпрямителем с силовым трансформатором Тр1. Переменное сопротивление R15 («Фаза») фазовращателя подбирается так, чтобы на любой частоте на экране осциллографа возникало изображение окружности. Регулировкой сопротивления R4 («Метка») добиваются получения симметричных импульсов на выходе триггера электронного реле. Эта симметрия легко проверяется, так как на экране осциллографа от положительного фронта импульсов возникает светлая точка, а от отрицательного — разрыв на светящейся окружности. Обе метки должны лежать на одном диаметре.

Сравнительно высокая точность отсчета (порядка 1°) обеспечивается оптико-механическим приспособлением, которое устанавливается перед экраном осциллографа. Эскиз приспособления изображен на рис. 3. Для повышения точности отсчета желательно пользоваться осциллографом, диаметр трубки которого не менее 100 мм. Для устранения влияния параллакса при установке визира стрелки-указателя на внутренние, обращенные друг к другу поверхности прозрачных дисков оптического устройства наносится полупрозрачная зеркальная пленка, получаемая путем распыления алюминия в вакуумной установке. В том случае, если выполнить такое покрытие дисков окажется невозможным, следует применять другие меры для устранения параллакса, однако точность отсчета при этом снижается.
Глаз наблюдателя располагается таким образом, чтобы прямое и зеркальное изображения осциллограммы совпадали.
Приставка выполнена в металлическом футляре размером 60 X X 150 X 60 мм, вес приставки 300 г.

Намоточные данные трансформаторов приведены в таблице.
Прибор-приставка проверен в лаборатории дальней связи Одесского электротехнического института связи и показал хорошие результаты. В диапазоне частот 200— 4000 гц погрешность измерения не превышала 1°.
Для расширения частотного диапазона измерений в приставке следует установить и переключать набор конденсаторов различной емкости вместо одного конденсатора С7.





