Электронный переключатель антенны
В. Константинов, Радио №1/1965, ст.20
В последнее время в связи со все более широким распространением полудуплексной работы становится необходимым автоматическое переключение антенны при переходе с приема на передачу. Для этой цели обычно применяют различные довольно сложные и громоздкие устройства на электронных лампах или газоразрядных приборах. Остаточный уровень напряжения, попадающего на вход приемника при включенном передатчике, у этих устройств довольно высок, и поэтому качественное прослушивание своей передачи становится затруднительным. Большинство любителей используют, по- видимому, отдельные приемные антенны. Качество приема при этом ухудшается, так как чаще всего для приемника используют менее эффективные (иногда даже суррогатные) антенны.
Уже несколько лет на радиостанции UA3QR применяется простой, хорошо зарекомендовавший себя электронный переключатель антенны. Он проверялся на радиостанциях различной мощности (вплоть до 1 кВт) и оказался весьма надежным в эксплуатации.
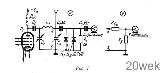
Принципиальная схема переключателя приведена на рис. 1, а, а эквивалентная на рис. 1, б. Здесь Др1, C1, С2, L1 и Сз — детали выходного каскада передатчика, а С5 — разделительный конденсатор, исключающий попадание постоянного напряжения на сетку первого каскада усилителя ВЧ приемника. Если приемник имеет закрытый вход (то есть антенна подключается к контуру через конденсатор связи) или связь с антенной индуктивная, конденсатор С5 может быть исключен из схемы.

Переключатель, по существу, представляет собой двусторонний диодный ограничитель, в последовательную ветвь которого включено реактивное сопротивление конденсатора связи С4—ZC4 =1/wC4 • При включении передатчика диоды поперемено открываются и их сопротивление (Rg на схеме рис. 1, б) становится небольшим. Поэтому коэффициент передачи делителя — Rg оказывается существенно меньше единицы. Это обусловливает небольшой уровень напряжения на входе приемника (практически не более 2 в в любом случае). Для включенного передатчика цепочка ZC4— Rg является в основном емкостной нагрузкой, и следовательно, мощности не потребляет. Поэтому мощность, излучамая передатчиком, не уменьшается. Конденсатор связи C4 оказывается подключенным параллельно выходному конденсатору П-контура, что несколько ослабляет связь с антенной. Это может быть легко скомпенсировано соответствующим уменьшением емкости конденсатора Сз.
При работе на прием к диодам прикладывается очень небольшое напряжение (в худшем случае порядка несколько сот микровольт), наведенное в антенне сигналом корреспондента. Оба диода оказываются практически закрытыми, их сопротивление — большим и коэффициент передачи делителя Zc4 — Rg становится близким к единице. Поэтому даже без учета влияния П-контура передатчика снижения громкости приема не наблюдается. Но так как П-контур при выключенном передатчике имеет высокую добротность, уровень полезного сигнала на входе приемника даже несколько возрастает (П-контур осуществляет предварительную селекцию сигнала, несколько увеличивая чувствительность приемника).
Все детали переключателя смонтированы на гетинаксовой планке и заключены в латунный экран, наружные размеры которого 76 X 36 х 20 мм. Со стороны, обратной монтажу, к планке приклепаны две стойки, с помощью которых блок крепится к шасси передатчика.
Такой вариант конструктивного оформления коммутатора, конечно, не является единственно возможным. В зависимости от конструкции передатчика и возможностей любителя детали коммутатора могут быть расположены иначе. Однако при этом необходимо выполнить следующие условия: детали, особенно диоды и конденсатор Ci, должны быть высококачественными. Конденсатор Ci должен быть по возможности керамическим на рабочее напряжение не ниже 600 в (чтобы обеспечить нормальную работу переключателя с любой антенной), а диоды Д1 и Д2 — с возможно большим отношением обратного сопротивления к прямому, лучше всего — кремниевые. Переключатель в сборе располагается в непосредственной близости от конденсатора связи П-контура передатчика; его вход соединяется с П-кон- туром коротким проводником, а выход — отрезком коаксиального кабеля РК-19 с разъемом, установленным на задней стенке переключателя. К этому разъему подключается антенный вход приемника. Соединение лучше всего осуществить также коаксиальным кабелем, что уменьшит уровень наводок с передатчика. Планка, на которой смонтированы детали переключателя, должна быть тщательно экранирована. Невыполнение этих «условий может свести на нет весь выигрыш, который дает применение переключателя. Переключатель с успехом может быть применен и в том случае, если в передатчике используется простой контур, и антенна подключается к его отводу.
Радио №6/1965, ст. 62







