ЭЛЕКТРОННЫЕ РЕЛЕ УРОВНЯ И ДАВЛЕНИЯ
А. Смоляк, Радио №11/1965, ст.24
Электронное реле давления
Электронное реле давления на транзисторах предназначено для того, чтобы сигнализировать об отклонении давления жидкости и газа от заданной величины в диапазоне 0,2—6,0 кг/см2. Допустимая погрешность срабатывания при скорости изменения давления, не превышающей 10 кг/см2 в минуту, составляет 1,5%. Допустимая температуря контролируемой среды — не выше 150°С. Разность между давлениями, при которых реле срабатывает и возвращается в исходное состояние, то есть дифференциал реле,—0,1 кг/см2,
Принципиальная схема электронного реле давления приведена на рис. 1. Прибор состоит из датчика давления, являющегося емкостным дифференциальным конденсатором С5—С6; двухкаскадного усилителя на транзисторах Т1 и Т2, собранного по схеме с непосредственной связью между каскадами; каскада на транзисторе Т3, работающего в режиме ключа, и оконечного каскада на транзисторе Т4, в коллекторную цепь которого включена обмотка реле P1.

Между входом и выходом усилителя включен мост, плечами которого служат конденсаторы С5 и С6 датчика давления и участки 3—4 и 4—5 обмотки II трансформатора Tp1 имеющие равное число витков. К одной диагонали моста приложено выходное напряжение усилителя, снимаемое с концов обмотки II трансформатора Тр1; в другую диагональ моста включено сопротивление R2, с которого напряжение обратной связи подается на вход усилителя (база — эмиттер транзистора T1). Если емкости плеч моста С5 и С6 равны между собой, то ток через сопротивление R2 не течет, и падение напряжения на сопротивлении R2 равно нулю
Если сила F1, зависящая от давления Р контролируемой среды на поверхность мембраны (дифференциального конденсатора), меньше силы сжатия F2 пружины, то емкость конденсатора С5 будет меньше емкости С6, и результирующее напряжение обратной связи, выделяющееся на сопротивлении R2, по фазе совпадает с входным. Возникает положительная обратная связь, и начинается автоколебательный процесс. Частота генерируемых колебаний определяется параметрами контура в коллекторной цепи транзистора Т2.
Часть напряжения с обмотки III трансформатора Тр1 поступает в цепь база — эмиттер транзистора Т3. Этот каскад усиливает колебания и выпрямляет. Транзистор Т3 переходит в режим насыщения. Его коллектор приобретает практически нулевой потенциал, так как величина сопротивления R7 очень мала. Транзистор T4 закрывается, и обмотка реле P1 обесточивается.
Если же сила F1 превысит силу F2, то емкость конденсатора С5 будет больше емкости конденсатора Сб. Возникает отрицательная обратная связь, и произойдет срыв генерации. Транзистор Т3 закрывается (потенциал его коллектора достигает приблизительно — 10 V), а транзистор T4 открывается.
Реле Р1 обмотка которого является нагрузкой оконечного каскада, срабатывает, и его контакты коммутируют соответствующие цепи системы автоматики и сигнализации.
Если выводы 3 и 5 обмотки II поменять местами, то реле давления станет сигнализатором падения, а не роста давления.
Изменяя величину сопротивления R7, можно регулировать глубину отрицательной обратной связи, а следовательно, и дифференциал реле.
Конструкция и детали. Датчик реле давления (рис. 2) представляет собой упругую систему, состоящую из гофрированной мембраны 1, подвижной системы пластин 2, спиральной пружины сжатия 3.

Вещество, давление которого контролируется, поступает в мембранную камеру 4. При этом мембрана прогибается, что вызывает перемещение влево или вправо системы пластин 2 относительно неподвижных боковых пластин 5 и 6, впрессованных в гетинаксовую шайбу 7.
Емкость С5 между пластинами 5 и 2 и емкость С6 между пластинами 6 и 2 изменяются. Конструкция конденсатора датчика выполнена так, что при увеличении емкости С5 (давление повышается) емкость С6 уменьшается и, наоборот, при уменьшении емкости С5 (давление уменьшается) емкость С6 увеличивается.
Максимальная емкость конденсатора С5 или С6 определяется толщиной слюдяных прокладок 8 и 9, минимальная — расстоянием между пластинами 2 подвижной системы. Контргайка 10 служит для фиксации этого расстояния.
С контролируемой средой датчик связан с помощью медной трубки диаметром 6 мм и длиной не более 2 м, поэтому прибор может контролировать давление только тех веществ, которые не вступают во взаимодействие с медью.
Порог срабатывания (заданное давление) можно регулировать, изменяя силу сжатия пружины.
Конденсаторы С4, С2 и С8 — типа ЭМ, С3 и С7— типа БМ-2, а С4— типа МБМ. Сопротивление R7 — типа БЛП-0,1, остальные — типа МЛТ.
Обмотки трансформатора Tp1 намотаны проводом ПЭЛШО-0,08 на ферритовом кольце НЦ-2000. Внешний диаметр кольца 14 мм, внутренний 6 мм, высота 6 мм. Обмотка I содержит 50 витков, обмотка II— 160 витков с отводом от середины и обмотка III—25 витков.
В качестве реле Р1 применено электромагнитное реле РЭС-10 с сопротивлением обмотки 630 ом и током срабатывания 22 ма. С оконечным каскадом и блоком питания реле соединяется с помощью трехконтактного разъема и трехжильного кабеля
Внешний диаметр пластин дифференциального конденсатора 25 мм, толщина слюдяной прокладки 0,1 мм. Максимальное расстояние между пластинами 2—5 или 2—6 регулируется от 0,9 до 1,1 мм. Расстояние между неподвижными пластинами 5 и 6 составляет 3,5 мм. Габариты блока электронного реле давления 125Х 85X63 мм.
Электронное реле уровня
Электронное реле уровня предназначено для контроля уровня различных жидкостей, диэлектрическая постоянная е2 которых лежит в пределах от 2,0 до 3,5 (например, масла, дизельного топлива, бензина, керосина, скипидара и т. п.) в резервуарах открытого или закрытого типа при давлении до 20 кг!см2. Допустимая погрешность срабатывания — не более ±5 мм относительно оси датчика.
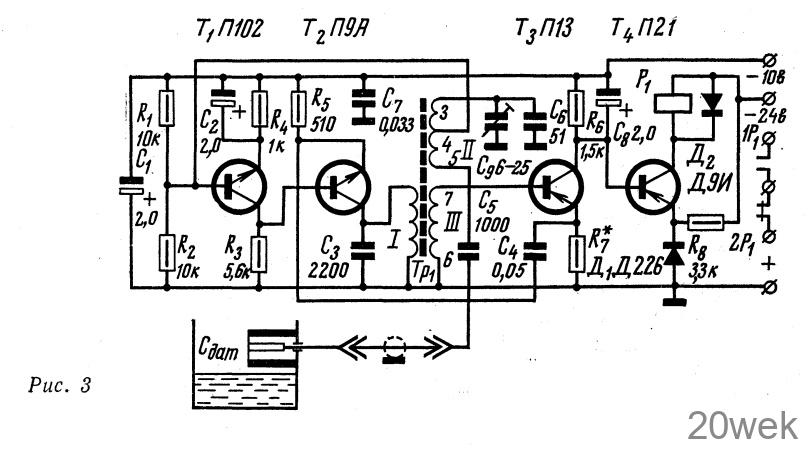
В качестве датчика уровня применен цилиндрический конденсатор (рис. 3), обкладками которого служат две коаксиально расположенные никелированные трубки, изолированные друг от друга гетинак- совой шайбой.

В основу работы реле положено явление резкого увеличения емкости между трубками датчика в e2/е3 раз при заполнении их жидкостью через продольную прорезь во внешней трубке (е2 и е3— соответственно диэлектрические постоянные контролируемой жидкости и воздуха).
Датчик электронного реле уровня крепится с помощью накидной гайки так, чтобы его ось была параллельна уровню контролируемой жидкости, а прорезь на внешней трубке была обращена вниз. Внешняя трубка датчика соединена с корпусом резервуара, а внутренняя — с электронным блоком при помощи коаксиального кабеля. Плечи моста электронного реле уровня (рис. 3) состоят из емкости датчика Сдат, соединенной последовательно с разделительной емкостью С5, подстроечного конденсатора С9, включенного параллельно конденсатору С6, и участков 3—4 и 4—5 обмотки II трансформатора Тр1. Суммарная емкость С6+С9 выбирается средней между максимальной и минимальной емкостями датчика, то есть в диапазоне


Поэтому возникает отрицательная обратная связь и происходит срыв генерации. Транзистор Т3 закрывается, его коллектор достигает отрицательного потенциала 10 в, а транзистор Т4 открывается. Реле Р1 срабатывает, сигнализируя о превышении уровня по сравнению с номинальным
Монтаж и размещение элементов обоих реле совершенно аналогичны. Конденсатор С6 типа КТ-2, С5—КМ, C9 — КПК. Оконечные каскады обоих реле смонтированы отдельно на печатной плате из фольгированного гетинакса и питаются постоянным напряжением 24 ±6 в. Оба электронных реле питаются стабилизированным постоянным напряжением 10±0,5 в.
Диаметр внешней трубки цилиндрического конденсатора датчика уровня 26 мм, диаметр внутренней трубки 16 мм, длина трубок 120 мм, толщина 1 мм. Емкость датчика в воздухе составляет Сдат мин 45 пф





