ДВУХКАНАЛЬНЫЙ ЭЛЕКТРОННЫЙ КОММУТАТОР
Л. ЛОМАКИН, Радио №3/1964, ст.52
Описываемый электронный коммутатор предназначен для работы с осциллографом (например, типа ЭО-7). С помощью этого прибора можно на экране однолучевого осциллографа наблюдать одновременно два процесса с периодичностью 50 гц или кратной 50. Мощность, потребляемая прибором от сети, 40 вт. Так как коммутатор применяется для работы с импульсами периодичностью 50 гц, то частота переключения коммутатора 25 гц. При этом в первую половину периода переключения с выхода коммутатора снимается сигнал одного из каналов, во вторую сигнал другого канала. Частота развертки осциллографа должна быть в два раза больше частоты переключения.
Благодаря низкой частоте переключения осциллограммы на экране вычерчиваются в виде непрерывных линий, а не пунктирных, как при большей частоте переключения.
Каждый из двух каналов коммутатора имеет отдельный усилитель, что позволяет применять описываемый коммутатор для переключения слабых сигналов (при работе с ЭО-7 порядка 60—100 мкв). Наличие системы синхронизации дает возможность получить на экране максимально устойчивое изображение.
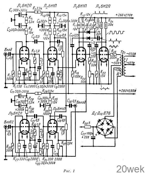
Принципиальная схема коммутатора приведена на рис. 1. Электронный коммутатор (рис. 1) включает в себя усилители, переключающее устройство, генератор коммутирующих импульсов, канал синхронизации.

Первый каскад первого усилителя собран на лампе Л1 по каскодной схеме. Чтобы снизить уровень фона, нить накала лампы Л1 приходится питать от отдельного выпрямителя (Д3—Д11). Второй каскад усилителя работает на левом триоде лампы Л2. Второй усилитель аналогичен первому и собран на лампе Л5 и левом триоде лампы Л6.
Оба канала усиления имеют регуляторы усиления R15 и R38. Переключающее устройство собрано на правых триодах ламп Л 2 и Л6. На сетки этих триодов поступает усиленное напряжение с нагрузок усилителей. Оба триода попеременно запираются, и на общей их нагрузке (R13), а следовательно, и на выходе появляются попеременно сигналы обоих каналов. Попеременным запиранием триодов переключателя управляет генератор коммутирующих импульсов.
Генератор коммутирующих импульсов собран по схеме симметричного мультивибратора на лампе Лз. Один катод лампы Лз соединен с катодным сопротивлением R14 правого триода Л2, другой — с сопротивлением R31 правого триода Л6, таким образом эти сопротивления являются общими для переключателя и мультивибратора.
Импульс тока левого триода мультивибратора Лз создает дополнительное падение напряжения на сопротивлении R14. Это напряжение в отрицательной полярности подается на управляющую сетку правого триода Л2, последний запирается, и на выходе появится сигнал нижнего по схеме канала усиления. Затем импульс тока правого триода мультивибратора запирает правый триод лампы Л6 переключателя, а на выходе появится сигнал верхнего по схеме канала усиления. Далее процесс повторяется. Если выход переключателя соединить со входом обычного однолучевого осциллографа, на его экране можно одновременно наблюдать сигналы, поступающие на оба входа прибора. Переменным сопротивлением R37 можно перемещать по вертикали одну кривую относительно другой.
Канал синхронизации, работающий на лампе Л4, служит для синхронизации работы мультивибратора напряжением сети 50 гц. Правый триод этой лампы работает ограничителем. На его управляющую сетку с обмотки II трансформатора Тp1 подается синусоидальное напряжение 45—50 в. С анода ограничителя снимается напряжение, по форме напоминающее прямоугольные импульсы. Это напряжение через дифференцирующую цепочку С15, R22 поступает на управляющую сетку левого триода Л4, работающего усилителем. Продифференцированное напряжение представляет собой положительные и отрицательные импульсы (выбросы) частоты 50 гц, то есть частоты сети.
Импульсы, усиленные левым триодом и выпрямленные диодами Д1 и Д2, поступают в анодную цепь мультивибратора Лз. Диоды пропускают импульсы только одной полярности, так что их частота становится равной 25 гц. Эти импульсы синхронизируют работу мультивибратора.- Осциллограф также синхронизируют с напряжением сети 50 гц (ручка «синхронизация» в положении «от сети»).
Коммутатор крайне чувствителен к резким изменениям питающего анодного напряжения, с помощью электронного стабилизатора его надо поддерживать в пределах 280—290 в. Канал синхронизации и мультивибратор питаются нестабилизированным напряжением около 270 в. Ток, потребляемый прибором, не более 45 ма.
Трансформатор Тр1 собран на сердечнике из пластин Ш-16, толщина набора 16 мм. Обмотки содержат: I—2800+2050 витков провода ПЭ 0,1; обмотка II— 1100 витков провода ПЭ 0,1, обмотка III—300 витков провода ПЭ 0,45.
Выпрямитель напряжения накала выполнен по мостовой схеме (по два параллельно включенных полупроводниковых диода в каждом плече).
Сопротивление R20 служит для точной подгонки частоты переключения, его ось выведена под шлиц на переднюю панель. Коммутатор соединяют с осциллографом и источниками коммутируемых сигналов экранированным кабелем.
На переднюю панель коммутатора выведены все органы управления им: обе ручки регулировки усиления, ручка для перемещения одной из кривых по вертикали, ручка подгонки частоты мультивибратора, два входных и один выходной штеккер- ные разъемы, колодка для подключения питающего шнура, тумблервыключатель, индикаторная лампочка и предохранитель.
Монтаж первых каскадов обоих каналов усиления выполнен экранированным проводом и отделен от остальной части монтажа экранирующими перегородками. Все лампы должны иметь экраны. Налаживание прибора следует начинать с мультивибратора. Соединив выход прибора с осциллографом, подбором номиналов деталей мультивибратора добиваются получения на экране прямоугольных импульсов.
Далее с помощью осциллографа налаживают канал синхронизации. Форма напряжения в разных точках канала синхронизации дана на принципиальной схеме. Подбором номиналов деталей канала синхронизации добиваются отсутствия искажений на экране осциллографа, подключенного к выходу прибора, и устойчивой синхронизации (при этом прямоугольные импульсы на экране осциллографа должны быть неподвижны). Затем изменяют частоту развертки осциллографа так, чтобы на экране появились две горизонтальные линии и вращают ручку «вертикальное перемещение» на панели прибора, при этом расстояние между ними на экране должно изменяться.- Теперь, если усилители собраны правильно, при подаче на один из входов какого- либо напряжения, на экране должно быть изображение формы этого напряжения. Если при увеличении усиления возникают искажения, необходимо более тщательно экранировать входные цепи. Корпусы штеккерных разъемов следует изолировать от шасси, а места их заземления, как и места заземления других точек цепей усилителей, найти опытным путем. Аналогично нужно решить вопрос о месте заземления той или иной точки цепи накала первых каскадов усилителей. Если не требуется широкая полоса пропускания, то емкости переходных конденсаторов можно уменьшить, при этом влияние наводок от сети уменьшится





