ДИАПАЗОННАЯ ПРИСТАВКА С ОДНИМ КВАРЦЕМ
А. Маслов, Радио №11/1964, ст.23
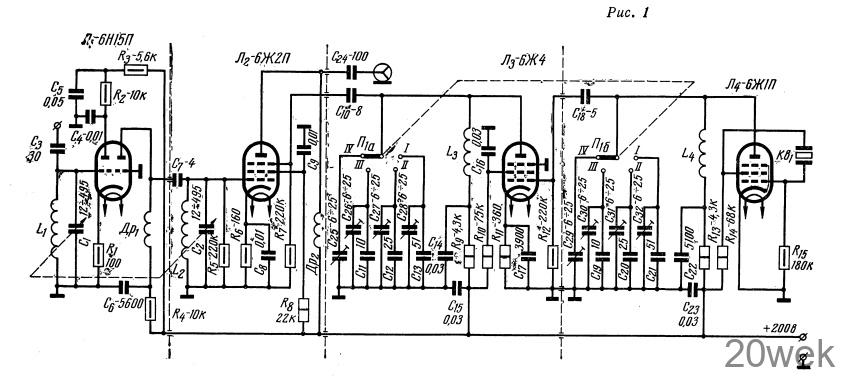
Приставка предназначена для приема любительских радиостанций, работающих телефоном в диапазонах 20, 14 и 10 м. Ее можно присоединить к любому радиовещательному приемнику, имеющему КВ диапазон от 4 до 8 Мгц. Принципиальная схема приставки представлена на рис. 1. Первый каскад приставки— усилитель ВЧ собран на левом (по схеме) триоде лампы 6Н15П (Л1). Следующий каскад по схеме с заземленной сеткой на правом триоде Л1 служит буферным. В преобразовательном каскаде использована лампа 6Ж2П (Л2). Напряжение гетеродина подается на защитную сетку этой лампы. Входной контур L1С1 и контур L2 С2 в цепи управляющей сетки смесителя перестраиваются в диапазоне 10—30 Мгц при помощи блока конденсаторов переменной емкости С1С2

Гетеродин приставки — двухкаскадный. Он состоит из кварцевого генератора на лампе 6Ж1П (Л4) и усилителя напряжения гармоник кварца на лампе 6Ж4 (Л3). Кварц Кв1 на частоту 4 Мгц включен между управляющей и экранирующей сетками лампы Л4. Напряжение с частотой гармоник кварца выделяется резонансным контуром, состоящим из катушки L4 и конденсаторов С19—С 21 С29—С32 (в зависимости от положения переключателя П1б) и через конденсатор С18 поступает на управляющую сетку усилителя напряжения на лампе 6Ж4 (Л3). С резонансного контура L4 С11—С13 C25— С28 в анодной цепи этой лампы через конденсатор С10 усиленное напряжение подается на защитную сетку лампы преобразователя. С анода этой лампы напряжение ПЧ, которое изменяется по каждому диапазону приставки от 4 до 8 Мгц, подводится к гнездам «антенна—земля» широковещательного приемника.
При промежуточной частоте, меняющейся от fKB до 2fKe (4—8 Мгц) на всех любительских диапазонах радиостанции будут приняты по прямому каналу приема fnp=fгет+fпч- Границы поддиапазонов и гармоники кварца используемые на каждом поддиапазоне, указаны в табл. 1.,

Приставка смонтирована на шасси из дюралюминия толщиной 2 мм. Чертеж шасси с указанием размеров приведен на рис. 2. Расположение деталей в подвале шасси показано на рис. 3. Данные катушек и дросселей приставки сведены в табл. 2.



Налаживание приставки заключается в настройке контуров в анодных цепях ламп Л3 и Л4 на частоты гармоник кварца, подборе напряжения гетеродина на защитной сетке лампы Л2 и подстройке контуров L1 C1 и L2C2 на одну и ту же частоту. Выходное напряжение гетеродина должно быть в пределах 4—5 в. Если оно больше указанного, параллельно конденсаторам контура соответствующего поддиапазона включают сопротивление, величину которого подбирают опытным путем. Подстройку контуров L1C1 и L2C2 достаточно произвести в каком-либо одном положении блока конденсаторов переменной емкости.

При работе с приставкой основная настройка производится ручкой настройки приемника, к которому подключена приставка. Блок конденсаторов переменной емкости C1 С2 устанавливают ориентировочно на нужный участок поддиапазона и затем подстраивают по максимальной слышимости станции.
Если прием будет сопровождаться помехами, следует экранировать приемник, к которому подключена приставка (в особенности входные цепи) и на входе приставки установить перестраиваемую фильтр-пробку





