БЛОК ПИТАНИЯ КВ РАДИ0-СТАНЦИИ
Я. Лаповок, Радио №4/1964, ст.25
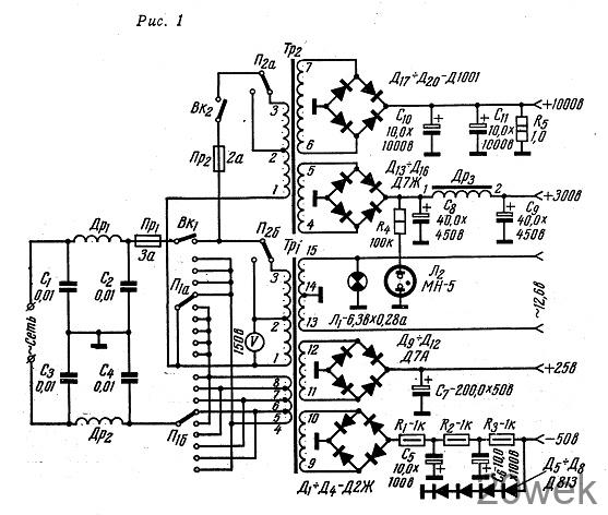
Блок питания (см. схему на рис. 1) предназначен для КВ радиостанции, описанной в «Радио» № 3 за текущий год. Он состоит из четырех выпрямителей. Два выпрямителя питают анодные цепи ламп КВ радиостанции, один служит для питания реле и последний является выпрямителем напряжения смещения.

Напряжение сети подается на блок через фильтр Др1Др2С1С2С3С4. Этот фильтр во время приема обеспечивает защиту от помех, проникающих из сети, а при передаче предотвращает распространение по сети сигналов передатчика, которые создают помехи приему телевизионных передач.
Переключение блока питания для работы от сети с напряжением 110 или 220 В производится переключателем П2. При помощи переключателя П1 можно дополнительно скачкообразно менять количество витков первичных обмоток силовых трансформаторов, что делает возможным использование блока при колебаниях напряжения сети в пределах ±20 в от номинального. Правильность выбора необходимого положения переключателя П1 контролируется вольтметром магнитоэлектрической системы на 150 в. Вольтметр включен так, что при правильном положении переключателей П1 и П2 он показывает напряжение 110 в.
Все выпрямители собраны на полупроводниковых диодах по мостовым схемам. Выходное напряжение выпрямителя смещения (—50 в) стабилизировано четырьмя последовательно включенными стабилитронами Д-813 (Д5—Д8).
Данные трансформаторов и дросселей блока приведены в таблице.

Блок питания смонтирован в каркасе, размером 250X 170X270 мм склепанном из дюралюминиевых угольников 20X20 мм. На передней панели блока расположены: контрольный вольтметр, сигнальные лампы Л1 и Л2, выключатели, предохранители и переключатель П1. Переключатель П2 расположен на задней стенке блока.
Для работы на КВ радиостанции необходимо предварительно включить накал тумблером Вк1 и установить с помощью переключателей П1 и П2 нормальное напряжение на первичных обмотках трансформаторов, контролируя его по вольтметру. Через две-три минуты можно подать на радиостанцию анодные напряжения, включив тумблер Вк2.





