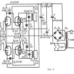
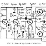
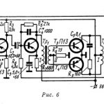
БЕСТРАНСФОРМАТОРНЫЕ УСИЛИТЕЛИ НИЗКОЙ ЧАСТОТЫ
С. Бать, А. Буденный, Радио №11/1964, ст.38
даются рекомендации по проектированию бес трансформаторных оконечных усилителей и приводятся две практические схемы, которые некритичны к разбросу параметров транзисторов.








