БЕСКОНТАКТНАЯ ЭЛЕКТРОННАЯ УДОЧКА-МОРМЫШКА
Ю. Викторов, Радио №9/1965, ст. 44
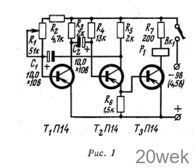
Любители-рыболовы знают, что окунь и другая рыба охотнее берут приманку, если леске с крючком придать колебательные движения с частотой 200—300 колебаний в минуту. Такую удочку нетрудно изготовить из обычной удочки-мормышки. Электрическая схема удочки приведена на рис. 1.

Она состоит из мультивибратора и усилителя мощности, собранных на транзисторах типа П14. В качестве мультивибратора применен триггер с двумя неустойчивыми состояниями, работающий в ключевом режиме (транзисторы Т1 и Т2). Правое плечо триггера (Т2) является также эмиттерным повторителем. Частота колебаний регулируется сопротивлением R1 в диапазоне порядка 50—250 колебаний в минуту. Диапазон колебаний можно изменить подбором величин конденсаторов С1 и С2 или сопротивлений R3, и R5. Сопротивление R7 служит для ограничения коллекторного тока транзистора Т3 при питании конструкции от батареи напряжением 9 в. При использовании источника питания напряжением 4,5 в сопротивление R7 необходимо исключить, а остальную часть схемы оставить без изменения.
В качестве реле Р1 использовано реле РС-4 с сопротивлением обмотки постоянному току 200 ом. Можно применить и реле другого типа с сопротивлением обмотки не более 500 ом, например миниатюрные реле типа РЭС-9 или РЭС-10. Ток срабатывания реле должен быть не более 30 ма. К якорю реле прикрепляется упругий хлыстик, который применяется и в обычных удочках-мормышках.
Электронная часть удочки и источник питания можно разместить в ее рукоятке или в небольшой коробочке.
В конструкции рекомендуется применять транзисторы с коэффициентом усиления по току В 20-40.
Вместо П14 можно использовать транзисторы типа П15, П16. Правильно собранная электронная удочка должна потреблять ток не более 30 ма.
Общий вид собранной удочки показан на рис. 2

