АВТОГЕНЕРАТОРЫ ПОВЫШЕННОЙ СТАБИЛЬНОСТИ
И. Василькевич, Радио №10/1965, ст.27
Кварцевые автогенераторы. Используя кварцевые резонаторы, можно создать генераторы, генерирующие частоту, близкую к частоте параллельного резонанса эквивалентного колебательного контура, и генераторы, в которых колебания происходят на частоте последовательного резонанса, определяемой частотой кварцевой пластины.
К первому типу относятся автогенераторы, выполненные по схемам индуктивной или емкостной трехто- чек, с использованием кварца в качестве индуктивности. Частота, генерируемая в генераторах этого типа, всегда ниже частоты параллельного резонанса кварца, так как только в этом случае его реактивное сопротивление имеет индуктивный характер. Чаще других используется емкостная трехточка (рис. 1) с транзистором, включенным по схеме с общим эмиттером и кварцем между базой и коллектором.

Режим транзистора стабилизирован по постоянному току сопротивлениями R1 R2 R3 Наибольшую стабильность частоты при изменении режима транзистора и напряжения источника питания можно получить при Uкэ>=5в; I0=3 ма. С указанными на схеме (рис. 1) номиналами генератор устойчиво работает в широком диапазоне частот (1—20 Мгц) и питающих напряжений (4—12 в). Нестабильность частоты автогенератора при изменении режима транзистора (напряжения питания Еп или тока коллектора I0) на 20% составляет около 1.10-6. Температурная нестабильность автогенератора в основном определяется параметрами кварцевого резонатора
Нагрузка подключается к коллекторной цепи автогенератора через конденсатор С3. Указанный генератор хорошо работает только на достаточно высокоомную нагрузку (порядка нескольких килоом). При низкоомной нагрузке (десятки—сотни ом) вследствие отсутствия согласования невозможно получить на нагрузке значительное напряжение. В этом случае для нагрузки автогенератора целесообразно использовать колебательный контур LКСК, включив его вместо сопротивления R4 к точкам 1—2. Резонансная частота контура LKCK должна быть ниже частоты автогенератора
Однако схема с колебательным контуром может быть применена в сравнительно узком диапазоне частот вследствие неравномерности выходного напряжения.
Общим недостатком автогенераторов на транзисторах, генерирующих на частоте, близкой к частоте параллельного резонанса, является шунтирование элементов колебательного контура сопротивлениями температурной стабилизации. Этого недостатка лишены автогенераторы второго типа, генерация колебаний в которых происходит на частотах, близких к частоте последовательного резонанса кварца. Как известно, эквивалентное сопротивление кварца в области последовательного резонанса очень мало, и шунтирование кварца элементами схемы не снижает его стабилизирующих свойств. Чтобы автогенератор работал на частотах, близких к частотам последовательного резонанса кварца, последний должен быть включен в разрыв цепи обратной связи (рис. 2) или контура генератора (рис. 3).

УКВ генератор (рис. 2) выполнен по схеме емкостной трехточки на транзисторе П411, включенном по схеме с общей базой. Кварц включен в цепь обратной связи и работает на частоте последовательного резонанса. Нейтрализующая индуктивность L2 устраняет паразитную генерацию через емкость кварцедержателя (С= 8—10 пф) и образует с последней параллельный колебательный контур, настроенный примерно на рабочую частоту кварца.

Рабочий диапазон частот автогенератора 40—70 Мгц, эффективное значение колебательного напряжения на контуре (при Rк=3,6 ком), составляет 3—3,3 в. В генераторах, работающих на более низких частотах (до 20 Мгц), нейтрализующей индуктивности L2, как правило, не требуется.
На рис. 3 кварц включен последовательно в индуктивную ветвь контура генератора, выполненного по схеме емкоетной трехточки с гальваническим заземлением коллектора. Последнее снижает влияние паразитных параметров на частоту генерации. Кварц включен через разделительный конденсатор С4. Сопротивление R4 при нормальной работе генератора почти не влияет на параметры схемы, так как его величина в 5—10 раз больше, чем эквивалентное сопротивление кварца в режиме последовательного резонанса. При выходе кварца из строя сопротивление R4 препятствует возникновению генерации, внося затухание в контур генератора через эквивалентную параллельную емкость кварца и емкость кварцедержателя
Стабилизация режима генератора по постоянному току осуществляется сопротивлениями R1, R2, R3. Конденсаторы С1 и С2 образуют делитель обратной связи генератора. Конденсатором С3 частота автогенератора подстраивается в пределах 1.10-5 ст номинального значения.
При указанных на схеме номиналах автогенератор может работать в диапазоне 1 —15 Мгц. Настройка на заданную частоту определяется выбором величины индуктивности L1.
Описанные выше схемы часто используются как генераторы гармоник, поскольку эквивалентное сопротивление кварца мало не только на первой, но и на всех его нечетных гармониках (1, 3, 5, 7). В этом случае колебательный контур настраивается на частоту гармоники.
Диапазонные автогенераторы с повышенной стабильностью амплитуды колебаний
При перестройке частоты диапазонного автогенератора, как правило, изменяется величина установившегося значения амплитуды его колебаний. Это происходит вследствие изменения параметров автогенератора. Известно, что при установившемся режиме автогенератора выполняется условие баланса фаз (когда сумма фазовых сдвигов в транзисторе, контуре и цепи обратной связи равна нулю) и баланса амплитуд. Последний наступает, когда коэффициент усиления автогенератора становится равным единице

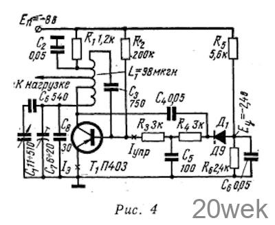
При перестройке частоты изменяется сопротивление контура Rк, а в некоторых схемах и коэффициенты связи контура с цепью коллектора kK и входом автогенератора kвх, что и приводит к изменению установившегося значения выходного напряжения. Однако в ряде случаев требуется, чтобы величина установившегося значения амплитуды колебаний автогенератора незначительно менялась при перестройке частоты. Принцип работы подобных схем рассмотрим на примере автогенератора (рис. 4) с автотрансформаторной обратной связью, имеющего систему автоматической стабилизации амплитуды. При перестройке частоты от fнижн до fверх конденсатором С1 меняется только резонансное сопротивление контура (ОТ Rк нижн до Rкверх)так как kK И kвх определяются параметрами катушки индуктивности L1 и не зависят от частоты


Выходное напряжение автогенератора будет Относительно постоянно даже в широком диапазоне изменения сопротивления контура, если пропорционально последнему изменять сопротивление эмиттерного перехода rэ, что можно осуществить, воздействуя на ток эмиттера транзистора. Именно на этом принципе и основана система автоматического регулирования, изображенная на рис. 4. Напряжение с коллектора автогенератора через разделительный конденсатор С4 поступает на диод Д1, на анод которого подается постоянное отрицательное напряжение Eу. Если амплитуда колебаний на коллекторе превысит напряжение Eу, диод отпирается, и на его катоде относительно земли образуется некоторое положительное напряжение, которое через фильтр R3С5R4 подается на базу транзистора и запирает его до тех пор, пока амплитуда напряжения на коллекторе не станет равной напряжению Eу.
Автогенератор должен быть рассчитан таким образом, чтобы без системы автоматической стабилизации минимальное значение амплитуды напряжения на коллекторе было больше Еу. Режим автогенератора по постоянному току при отключенной системе автостабилизации целесообразно выбирать следующим: Uкэ=—(4—6)в; Iэ=(2—4) ма. Для нормальной работы системы автостабилизации собственно автогенератор нельзя хорошо стабилизировать по постоянному току, так как в противном случае система авторегулирования не может изменить его режим.
В схеме, показанной на рис. 4, режим по постоянному току определяется величиной сопротивления R2, которое, как правило, необходимо подбирать, что является недостатком подобного рода схем.
Система автостабилизации эффективно стабилизирует амплитуды напряжения на коллекторе более одного вольта, так как при меньших амплитудах детектор имеет небольшой коэффициент передачи. Величина стабилизируемого напряжения определяется выбором соотношения сопротивлений делителя R5R6. Чтобы при работе детектора не менялась величина напряжения Еу, постоянный ток делителя R5R6 должен выбираться в пределах Iдел=(0,3— 0,5) Iэ. Как во всякой системе, охваченной обратной связью, в схеме, показанной на рис. 4, при неправильном выборе постоянной времени фильтра R3C5R4 может возникнуть прерывистая генерация или паразитная модуляция. Вероятность возникновения прерывистой генерации или паразитной модуляции может быть значительно снижена, если емкость конденсатоpa С5 определена из эмпирического соотношения:

Амплитуда напряжения на коллекторе автогенератора (рис. 4) линейно связана с величиной опорного напряжения ЕД. Если это напряжение изменять со звуковой частотой, напряжение на выходе автогенератора будет амплитудно-модулированным, причем коэффициент модуляции (при нелинейных искажениях менее 7%) может достигать 70%.
Модуляционная характеристика автогенератора линейна.
Из таблицы 1, в которой приведены параметры схемы, показанной на рис. 4, с выключенной и работающей системой автоматической стабилизации амплитуды, видно, что эта система резко снижает изменение амплитуды выходного напряжения и нелинейные искажения в автогенераторе.






