АПЕРИОДИЧЕСКИЙ УСИЛИТЕЛЬ ВЫСОКОЙ ЧАСТОТЫ
А. Бояджан, Радио №1/1965, ст. 38
Относительно низкая чувствительность современных вещательных радиоприемников второго и третьего классов объясняется тем, что на их входе, как правило, отсутствует усилитель высокой частоты. Простая приставка в виде апериодического усилителя высокой частоты значительно повышает чувствительность приемника без ухудшения остальных его параметров. Изготовление такой приставки вполне доступно рядовому радиолюбителю.
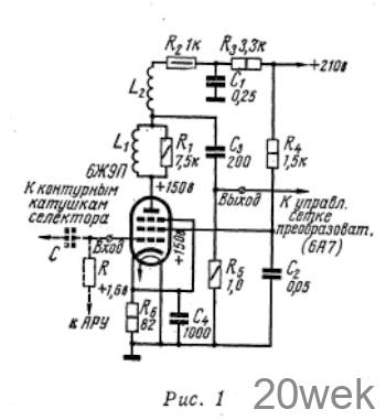
Апериодический усилитель высокой частоты (рис. 1) собирается на высокочастотном пентоде типа 6Ж9П. Лампа 6Ж9П обладает высокой крутизной характеристики (S = 17 ма/в) и предназначается в основном для усиления напряжения в широкополосных усилителях. Вследствие большой крутизны характеристики применение этой лампы в каскаде апериодического усилителя является весьма эффективным.

Работа приставки проверялась с приемниками «ВЭФ—Аккорд», «Балтика», «АРЗ» и «Рекорд». Во всех случаях усилитель работал удовлетворительно. Коэффициент усиления каскада на всех диапазонах (рис. 2) колеблется в пределах 5—7. Такая широкая полоса достигается подбором соответствующих корректирующих катушек индуктивности L1 и L2. Усиление уменьшается на 40—50% лишь в диапазоне частот 10—12 Мгц из-за влияния межэлектродной емкости лампы и емкости монтажа.

Приставка включается во входную цепь приемника, для чего провод, идущий от контурных катушек селектора к управляющей сетке смесительной лампы, отпаивается от последней и присоединяется к входу приставки. Выход же приставки подключается к освободившейся управляющей сетке смесительной лампы приемника
Приставка работает устойчиво, явлений перекрестной модуляции не наблюдается.
Усилитель собирается на гетинаксовой плате размерами 60×75 мм. Катушка L1 намотана внавал проводом ПЭШО 0,15 на корпус сопротивления R1 и содержит 51 виток. Катушка L2 намотана внавал тем же проводом на корпус отдельного сопротивления типа ВС—0,25 и имеет 38 витков.
Режим лампы 6Ж9П, измеренный на ее электродах прибором ТТ-1 или ему равноценным, указан на принципиальной схеме приставки (рис. 1). Питание усилителя осуществляется от выпрямителя приемника; потребляемый ток в цепи накала 0,3 а, по высокому напряжению — 20 ма
В приставке можно использовать также лампу 6Ж5П, но при такой замене несколько падает коэффициент усиления и сужается полоса усиления. Сопротивление R2 в этом случае должно быть порядка 1,8 кОм
От редакции. Апериодическим называется такой усилитель, нагрузка которого не имеет резко выраженных резонансных свойств.
Апериодические усилители применяются для усиления сигналов с частотами порядка нескольких мегагерц и ниже. Такие усилители, выполненные по схемам корректированных усилителей видеочастот, пропускают частоты от нескольких десятков килогерц до нескольких мегагерц и не обладают выраженными избирательными свойствами. Главным достоинством подобных схем является простота конструкции, которая получается в результате отсутствия настраиваемого контура в цепи анода.
Величина усиления корректированного апериодического усилителя обратно пропорциональна верхней граничной частоте полосы пропускания. Обычно верхняя граничная частота полосы пропускания усилителя совпадает с верхней частотой диапазона приемника или с верхней частотой тех поддиапазонов, на которых применяется усилитель.
Важным условием для успешного выполнения апериодического усилителя со значительной шириной полосы усиливаемых частот является правильный выбор лампы и тщательно выполненный монтаж схемы. Лампы для этих усилителей выбираются с большой крутизной характеристики и малыми входной и выходной емкостями, так как от этих параметров зависит усилительная способность лампы. Несоблюдение этого требования и небрежный монтаж усилителя (увеличение монтажной емкости) приводят к сужению полосы пропускания или уменьшению коэффициента усиления каскада.
Наиболее часто встречающейся схемой апериодического усилителя является схема, приведенная на рис. 1. Основными показателями усилителя напряжения, который собран по такой схеме, является коэффициент усиления К = U2/U1 где U2— напряжение на выходе усилителя, а U1— напряжение на входе усилителя и частотная характеристика, то есть зависимость коэффициента усиления от частоты подводимого на вход переменного напряжения.
Коэффициент усиления рассматриваемой схемы определяется из следующих соображений. Современные лампы в схемах корректированных усилителей напряжения высокой частоты могут дать произведение из усиления К на верхнюю граничную частоту полосы пропускания порядка 80—120 Мгц. Следовательно, при ширине полосы 12 Мгц от собранного на современной лампе усилительного каскада можно ожидать коэффициент усиления порядка 7— 10 не более.
Равномерность частотной характеристики в широкой полосе частот достигается введением в усилитель дополнительных корректирующих элементов. Ширина полосы пропускания определяется как разность между верхней и нижней граничной частотой. Для расширения полосы пропускания необходимо при заданной нижней граничной частоте увеличивать верхнюю граничную частоту. В усилителе на сопротивлениях расширение полосы пропускания достигается с помощью дополнительных корректирующих элементов в виде катушек индуктивности. В описываемом устройстве корректирующими элементами являются катушка индуктивности L1, шунтированная сопротивлением R1, и катушка L2, которая включается последовательно с сопротивлением анодной нагрузки R2. При оптимальных соотношениях параметров С1 = С2 и Lх = R22C2 эта схема коррекции обеспечивает расширение полосы пропускания в 1,9 раза по сравнению с шириной полосы некорректированного усилителя. Здесь С1 — сумма выходной емкости лампы усилителя и емкости монтажа этого участка схемы, а С2 — сумма входной емкости лампы смесителя и емкости монтажа соответствующей части схемы
Обычно в корректированных апериодических усилителях катушка L1 содержит порядка 80 витков провода ПЭШО 0,15 и наматывается внавал на корпус сопротивления R1 типа ВС—0,5 величиной 5 ком, а L2 — около 60 витков того же провода и наматывается внавал на корпус сопротивления R2 типа ВС—0,5 с номинальным значением 2 ком. Количество витков и величины сопротивлений подбираются при налаживании схемы.
Сопротивление Rз и конденсатор С1 служат для выравнивания фазовой характеристики.
Полный расчет каскадов апериодических усилителей напряжения со значительной шириной полосы пропускания производится по методам теории видеоусилителей.





