ВЫПРЯМИТЕЛЬ НА ТИРИСТОРАХ
В. КУЗЬМИНЫХ, Б. ГИНЗБУРГ, Радио №4/1966, ст.42
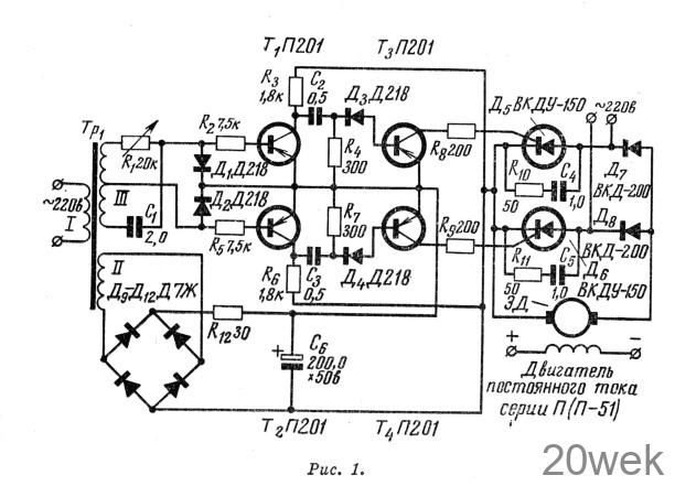
Управляемый выпрямитель, принципиальная схема которого показана на рис. 1, собран на управляемых вентилях ВКДУ- 150 и неуправляемых вентилях В КД-200. Выпрямленное напряжение можно регулировать в пределах 5—220 в. Мощность на нагрузке 30 квт, мощность, потребляемая блоком управления,—1 вт. Вес прибора 14 кг, размеры 300X300X210 мм.

Конструктивно он состоит из двух блоков: блока управления и силового блока (рис. 2). В состав блока управления входит фазосдвигающая цепь R1C1, вызывающая изменение фазы синусоидального напряжения от 0 до 150° при изменении сопротивления резистора R1 от 0 до Rмакс, и два формирователя управляющих импульсов, работающих в противофазе. С фазорегулятора R1C1 напряжение подается на мост, два плеча которого образованы диодами Д1, Д2. Два других — резисторами R2, R5 и эмиттерно-базовыми переходами транзисторов T1 Т2. Благодаря такому включению на базу одного транзистора напряжение поступает во время первого полупериода, на базу другого — во время второго полупериода.

Формирователь импульса состоит из транзисторов Т3, Т4, работающих в режиме насыщения. С коллектора Т1 напряжение прямоугольной формы через дифференцирующую цепь C2R4 подается на вход транзистора Т3. Диод Д3, включенный в цепь базы, пропускает импульсы только отрицательной полярности.
Транзистор Т3 нагружен управляющим переходом тиристора Д5. Дифференцирующая цепь нужна для получения на управляющем электроде тиристора узкого импульса. Величина ограничивающего сопротивления R8 подбирается в зависимости от типа тиристора. Сопротивление управляющего перехода последнего соответствует коллекторной нагрузке транзистора в режиме насыщения. Это дало возможность исключить выходные трансформаторы.
Силовой блок представляет собой выпрямительный мост, питаемый от сети переменного тока напряжением 220 в. Нагрузкой моста может служить двигатель постоянного тока с независимым возбуждением. Цепи R10С4 и R11С5 защищают тиристоры от перенапряжения при переходных режимах. Принцип работы выпрямителя заключается в следующем. На анод тиристора подается синусоидальное напряжение, на управляющий электрод — прямоугольный импульс управляющего напряжения с крутым передним фронтом, сдвинутого по фазе относительно анодного напряжения на угол регулирования фрег. В момент подачи управляющего импульса тиристор отпирается и проводит ток в течении всего времени, пока на аноде положительное напряжение. Изменяя угол регулирования, можно управлять величиной выпрямленного тока. Для отпирания тиристоров с различными токами управления управляющий импульс должен обладать достаточной амплитудой и крутым передним фронтом. Такая форма управляющего импульса значительно снижает мощность управления.





