Усилительный блок-приставка для телевизоров
Ю. МАРКАУСКАС, М. НАГЯВИЧУС, Радио №7/1966, ст.28
Блок-приставка предназначается для увеличения чувствительности телевизора с полосой промежуточных частот, простирающейся от 31,5 до 38 Мгц (по новому ГОСТу). Такие частоты имеют все унифицированные телевизоры (УНТ- 35, УНТ-47 и УНТ-59), а также телевизор «Темп-6М». Приставка включается между выходом блока ПТК и входом усилителя ПЧ телевизора.
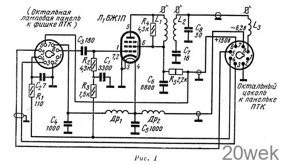
В приставке смонтирован широкополосный резонансный усилитель ПЧ, собранный па лампе 6Ж1П (Л1). Принципиальная схема его представлена на рис. 1. Усилитель охвачен АРУ. Напряжение АРУ подается на управляющую сетку лампы Л1 с выхода устройства АРУ телевизора. Ширина полосы пропускания усилителя такая же, как у блоков ПТК-5, ПТК-5/7, ПТК-7, к которым он присоединяется (см. частотную характеристику, изображенную на рис. 2). Входное и выходное сопротивления усилителя приставки соответствуют сопротивлению нагрузки блока ПТК. Поэтому приставка не вносит расстройки в тракт изображения телевизора, к которому она подключена


Шасси приставки изготовляют из алюминия толщиной 1,5 мм или мягкой стали толщиной 0,8-у1,0 мм. Развертка шасси показана на рис. 3. Планка а прикрепляется любым способом к местам боковых стенок шасси, ограниченным пунктирными линиями и обозначенным буквами а—а. Эта планка служит для увеличения механической прочности конструкции. Кроме того, на ней устанавливают монтажную плату с лепестками для деталей. Болты, которыми прикрепляется к шасси вторая монтажная плата (с тремя лепестками), пропускают в отверстия, обозначенные буквами б—б. Отверстие в левой боковой стенке шасси предназначено для октальной ламповой панели, в которую будет вставляться фишка блока ПТК, а отверстие диаметром 10 мм в правой боковой стенке — для прохода проводников, идущих к выходной фишке приставки, в качестве которой используется октальный ламповый цоколь с колпачком.

Катушки приставки наматываются на каркасах диаметром 9 мм, изготовленных из полистирола или органического стекла. Во внутреннем отверстии каркасов делают резьбу М6 Х 0,75 для сердечников. Катушки L1 и L2 размещены на одном каркасе длиной 30 мм, причем L1 содержит 25 витков провода ПЭВ 0,31, намотанных непосредственно на каркасе в один слой виток к витку. Катушка L2 наматывается на картонной манжетке, плотно прилегающей к каркасу, и имеет 12 витков провода ПЭВ 0,31. Способ намотки такой же, как у L1.
Катушка L3 расположена на каркасе длиной 25 мм. Этот каркас устанавливается в центре лампового цоколя выходной фишки приставки, под колпачком. Катушка содержит 17 витков провода ПЭВ 0,31 и намотана в один слой, виток к витку. Все катушки настраиваются латунными или железными сердечниками диаметром 6 мм и длиной 10 мм.
При монтаже приставки нужно присоединять выводы катушек так: нижний вывод L1 (начало катушки) к экранирующей сетке лампы Л1, верхний вывод (конец) этой катушки — к аноду Л1; нижний вывод (начало) L2 — к лепестку монтажной планки, к которому припаивается кабель РК-19 длиной 250—350 мм, идущий к катушке L3, и верхний вывод (конец) L1 — к конденсатору С7.
Дроссели Др1 и Др2 в цепи питания накала одинаковы. Они наматываются проводом ПЭВ 0,51 без каркаса на оправке диаметром 4 мм в один слой виток к витку и содержат по 15 витков. На дроссели надеты полихлорвиниловые трубки во избежание замыкания их на шасси.
В том случае, если приставка будет использоваться в телевизоре, где установлены блоки ПТК-5/7 или ПТК-7, необходимо проследить, чтобы соединительные проводники от лепестков 3 и 5 ламповой панели были припаяны соответственно к тем же самым ножкам цоколя выходной фишки, иначе не будет работать система автоматической подстройки гетеродина. Если приставка будет работать совместно с ПТК-5, эти соединительные проводники исключаются.
При монтаже приставки нужно придерживаться номиналов деталей, указанных на принципиальной схеме. В противном случае возможны искажения частотной характеристики усилителя. Например, при уменьшении величины сопротивления резистора R4 до 2,7 — 3 ком в середине частотной характеристики образуется провал
Приставку настраивают с помощью ГСС и лампового вольтметра. При отсутствии приборов ее можно настроить по испытательной таблице 0249. При такой настройке расстояние между L1 и L2 должно составлять 1,0 —1,5 мм





