УСИЛИТЕЛИ НЧ ПОВЫШЕННОЙ МОЩНОСТИ НА ТРАНЗИСТОРАХ
В. Носов, Радио №8/1965, ст. 35
В журнале «Радио» неоднократно помещались описания усилителей НЧ, использующих в выходном каскаде схему эмиттерного повторителя с дополнительной симметрией, выполненного на маломощных р-п-р и п-р-п транзисторах типов П13—П16 и П8—П11. Схема такого эмиттерного повторителя отличается от схемы обычного эмиттерного повторителя тем, что в ней каждый из двух транзисторов работает в режиме класса «В», тогда как эмиттерный повторитель на одном транзисторе работает в режиме класса «А»; транзистор типа п-р-п в этом усилителе выполняет не только функции усиления, но и осуществляет поворот фазы входного сигнала; по своим усилительным свойствам эта схема подобна двухтактному усилителю, собранному на двух транзисторах одной проводимости по схеме с общим коллектором. Его к.п.д. теоретически может достигать 78%, а в обычном эмиттерном повторителе он не превышает 50%.
Являясь усилителем тока, эмиттерный повторитель с дополнительной симметрией обладает очень малым выходным сопротивлением (порядка 5—30 ом), что и дает возможность использовать его в качестве мощного выходного каскада для бестрансформаторных усилителей. Коэффициент усиления по току K1 такого эмиттерного повторителя примерно пропорционален коэффициенту усиления В применяемых транзисторов. Из-за больших рабочих коллекторных токов (порядка 10—100 ма) величина коэффициента усиления транзистора по току В уменьшается на 5—20 дб; становится меньше и коэффициент усиления каскада по напряжению Кu составляющий в этих условиях 0,4—0,8 вместо единицы. Коэффициент усиления по мощности Kp=Ku*K1 для эмиттерного повторителя с дополнительной симметрией составляет 12—30 дб в зависимости от величины нагрузки RH и В применяемых транзисторов.
Для того чтобы повысить отдаваемую полезную мощность выходного каскада, выполненного на эимттер- ном повторителе с дополнительной симметрией и получить максимум мощности в нагрузке, следует повышать напряжение входного сигнала в 1/Ku раз, и таким образом компенсировать потери усиления каскада по напряжению, условно приближая значение Ku к единице. Для этого требуется увеличить мощность, отдаваемую предоконечным каскадом. Применяемые в настоящее время в подобных усилите лях предоконечные каскады выполнены по реостатной схеме и могут обеспечить величину входного напряжения не более чем 0,4 от напряжения источника питания Еб.
Однако сравнительно низкое входное сопротивление выходного каскада (порядка 100—500 ом) плохо согласуется с большим выходным сопротивлением предоконечного каскада, и в итоге максимально возможное напряжение входного сигнала для раскачки выходного каскада не превышает 0,1—0,2 Это обстоятельство ограничивает получение максимальной выходной мощности и снижает эффективность усилителей, построенных с использованием эмиттерного повторителя с дополнительной симметрией. Применение составных эмиттерных повторителей на четырех транзисторах в качестве выходного, каскада не дает ощутимого эффекта в увеличении отдаваемой мощности, так как, имея большее усиление потоку, такой повторитель обладает меньшим усилением по напряжению. В результате усиление по мощности составного эмиттерного повторителя с дополнительной симметрией несколько больше, чем у эмиттерного повторителя на двух транзисторах, рассмотренного выше.
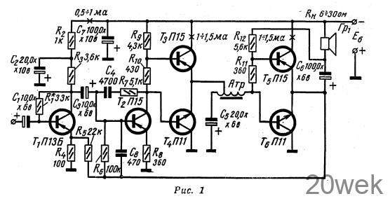
С учетом вышесказанного были разработаны схемы транзисторных усилителей с повышенной выходной мощностью. На рис. 1 приведена схема усилителя повышенной мощности, а на рис. 2 показана зависимость величины выходной мощности Pвых=f(Еб) ПРИ разных величинах сопротивления нагрузки Rн или звуковой катушки громкоговорителя. Эта зависимость поможет радиолюбителю-конструктору правильно выбрать напряжение питания и тип громкоговорителя при конструировании усилителя.

Как видно из рис. 2, при Eб=4,5 в усилитель может отдать в нагрузку 175 мет мощности при к.п.д. 50— 55%, что вполне достаточно для хорошего переносного устройства (приемника или проигрывателя).

Усилитель по схеме, приведенной на рис. 1, имеет четыре каскада. Его чувствительность 16 мв. Первый и второй каскады усиления напряжения собраны по схеме с общим эмиттером на транзисторах T1 и T2. Они охвачены отрицательной обратной связью по току за счет наличия в цепи эмиттеров сопротивлений R4 и R8, не зашунтированных емкостью. Стабилизация рабочего режима по постоянному току транзистора T1 осуществляется с помощью параллельной обратной связи через сопротивление R1. Кроме того, с выхода усилителя через сопротивление R5 в цепь эмиттера транзистора Т1 подается напряжение обратной связи для уменьшения нелинейных искажений. С коллектора транзистора Т2 на его базу через сопротивление R7 и конденсатор С4 осуществляется параллельная обратная связь по напряжению, которая уменьшает усиление на высших частотах. Частотная характеристика усилителя изображена на рис. 3. При желании иметь регулятор тембра в области высших частот последовательно с конденсатором С4 включается переменное сопротивление величиной 220 ком, а емкость конденсатора С4 выбирается равной 0,01 мкф. Оконечный, предоконечный каскады и второй каскад предварительного усиления имеют между собой гальваническую связь. Для уменьшения нелинейных искажений эти три каскада охвачены отрицательной обратной связью, которая подается на базу транзистора Т2 через цепочку R6С8. Эта же цепь жестко стабилизирует рабочий режим последних трех каскадов.

Цепочка R2C2 и конденсатор С7 предохраняют усилитель от самовозбуждения при частичном разряде источника питания усилителя НЧ.
Выходной и предоконечный каскады собраны по схеме эмиттерного повторителя с дополнительной симметрией на транзисторах Т3, Т4, Т5 и T6. Связь между каскадами осуществляется посредством повышающего автотрансформатора Amp с коэффициентом трансформации 1:2,5, что вполне достаточно для компенсации уменьшения усиления по напряжению обоих каскадов. Выход усилителя бестрансформаторный. Выходной каскад охвачен отрицательной обратной связью по напряжению, осуществляемой через сопротивление R11 Ввиду того, что коэффициент усиления каскада по напряжению Кu меньше единицы, самовозбуждение отсутствует.
Из-за низкого выходного сопротивления предоконечного каскада (Rвых=20—30 ом) выбор параметров согласующего автотрансформатора не очень критичен. Применяемый в усилителе автотрансформатор имеет следующие данные: сердечник из пермаллоя ШЗХ4 мм; обмотка автотрансформатора содержит 1000 витков провода ПЭВ 0,1 с отводом от 400-го витка. Можно применить автотрансформатор и с другими данными, например имеющийся в продаже выходной трансформатор от карманных приемников, соединив его обмотку II последовательно с обмоткой I; средний вывод обмотки I соединяется с предоконечным каскадом, а конец обмотки II—со входом усилителя мощности (с базой транзистора T6). При перепайке концов необходимо соблюдать фазировку обмоток, иначе такой автотрансформатор не даст достаточного повышения напряжения НЧ. Все применяемые в усилителе транзисторы имеют коэффициент усиления В не менее 30.
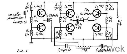
Если требуется еще большая выходная мощность усилителя, то выходной каскад следует собрать по мостовой схеме (см. рис. 4). Каждый из четырех транзисторов (T3, T4, T5 Т6) выходного каскада работает в режиме класса «В» и теоретически напряжение НЧ на нагрузке RH удваивается, а выходная мощность по сравнению с обычными однотактными схемами учетверяется. В действительности выходная мощность усилителя, собранного по мостовой схеме с применением эмиттерного повторителя, увеличивается в 2—3.5 раза. Это происходит из-за того, что последовательно с сопротивлением нагрузки RH включено внутреннее сопротивление транзисторов T3, Т4, T5 и T6 соизмеримое с величиной RH. Этот недостаток менее ощутим при величине сопротивления нагрузки более 10 ом в случае применения маломощных- транзисторов типов П13—П16 и П8—П11. Если же в мостовой схеме применяются транзисторы мощной серии, например П201—П203 или П4, то величину сопротивления нагрузки не рекомендуется брать ниже 3—5 ом

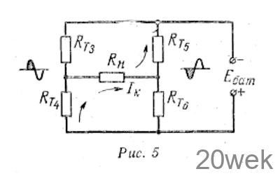
Работу мощного каскада, собранного по мостовой схеме, поясняет рис. 5. Индексами Rт3, Rт4, Rт5, Rт6 обозначены внутренние сопротивления транзисторов Т3, Т4, Т5, T6 схемы рис. 4. Усилитель работает в классе «В». При отсутствии входного сигнала транзисторы почти полностью закрыты. Если на левое плечо моста подается положительное напряжение, а на правое отрицательное, то транзисторы Т3 и будут закрыты, а транзисторы и Т5 открыты. Коллекторный ток пойдет так, как показано на рис. 5. При обратной полярности входного сигнала ток через нагрузку изменится на противоположный за счет того, что транзисторы Т3 и откроются, а транзисторы Т5 и T4 будут закрыты. Таким образом, схема усилителя двухтактна, и входное напряжение сигнала должно подаваться на входы плеч в противофазе. Задачу переворачивания фаз и повышения входного напряжения для оконечного каскада выполняет повышающий автотрансформатор Amp.

Конденсатор С5 принципиально может отсутствовать, если постоянное напряжение между точками «а» и «б» равно нулю.
При применении маломощных транзисторов типов П13—П16 и П8—П11 схему мостового усилителя мощности, изображенного на рис. 4, удобно использовать при низковольтных источниках питания (3,5—6 в), так как при повышении питающего напряжения выходная мощность и коллекторные токи транзисторов могут возрасти до недопустимо большой величины, что повлечет за собой выход транзисторов из строя.
Усилитель, выполненный по схеме рис. 4, может обеспечить выходную мощность порядка 350—500 мBт при напряжении источника питания 4.5 в, сопротивлении нагрузки RH~ — 10 Om и к.п.д. 60%. Такой усилитель очень удобно применить в кадровой или строчной развертке транзисторного телевизора. Данные автотрансформатора: сердечник из пермаллоя Ш4Х6 или ШбХб, число витков обмотки 1000, с отводами от 300-го и 500-го витков. Провод ПЭВ 0,1 — 0,12.

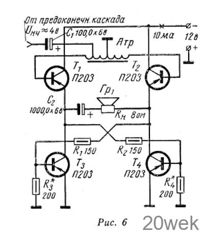
Радиолюбители, желающие построить усилитель с выходной мощностью 5—10 вт, могут применить мостовую схему выходного каскада, изображенную на рис. 6. Усилитель работает в режиме класса «В». Особенностью схемы этого усилителя является то, что напряжение возбуждения для транзисторов Т3 и Т4 снимается с диагонали моста и транзисторы работают в режиме переключения (в ключевом режиме). Поэтому при налаживании усилителя величины сопротивлений R1 и R2 необходимо подобрать так, чтобы транзисторы Т3 и T4 работали в режиме переключения, в противном случае на них будет рассеиваться большая мощность, а полезная мощность в нагрузке уменьшится. Переворот фазы и повышение входного напряжения, как и в предыдущей схеме, осуществляется автотрансформатором Amp. Описанный выходкой каскад рассчитан на подключение к усилителю, имеющему мощность, достаточную для раскачки. Для получения выходной мощности 8 вт предварительный усилитель должен обеспечить мощность входного сигнала не менее 500 мBт-, напряжение источника питания должно быть не менее 12 в и ток порядка 1,0—1,2 а. К.п.д. такого выходного каскада — 68%. Автотрансформатор Атр намотан на сердечнике из трансформаторной стали Ш12Х 12 мм и содержит 700 витков провода ПЭВ 0,15—0,2, с отводами от 210-го и 350-го витков. В выходном каскаде по схеме рис. 6 использованы транзисторы типа П203, причем транзисторы T1 и Т2 укреплены на радиаторах.





