УСИЛИТЕЛЬ НИЗКОЙ ЧАСТОТЫ
Г. Крылов, Радио №2/1966, ст.28
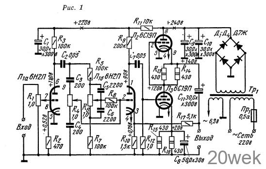
Усилитель НЧ выполнен на малораспространенных лампах типа 6С19П, однако их применение позволяет построить выходной каскад по бестрансформаторной схеме и получить высокие качественные показатели его работы. Усилитель предназначен для воспроизведения грамзаписи с обычных и долгоиграющих пластинок. Выходная мощность его 2 вт при коэффициенте нелинейных искажений менее 1%. Максимальная мощность 3 вт. Неравномерность частотной характеристики в диапазоне звуковых частот 20—20 000 гц не более 1 дб. Регулировка тембра позволяет получить подъем низших и высших звуковых частот не менее 4 дб и завал — не менее 10 дб. Уровень фона — 50 дб.
Принципиальная схема
Первые два каскада усилителя (рис. 1) выполнены на двойном триоде типа 6Н2П (Л1). Между первым и вторым каскадами включен регулятор тембра. Выходной каскад собран по двухтактно-параллельной схеме на мощных триодах типа 6С19П (Л2 и Л3). По постоянному току эти лампы включены последовательно, по переменному — параллельно. Напряжения смещения и возбуждения на лампу Л2 снимаются с сопротивлений R13, R14. Для уменьшения искажений и выходного сопротивления введена отрицательная обратная связь по напряжению глубиной 20 дб. Напряжение обратной связи снимается с выхода усилителя и подается в цепь катода лампы второго каскада.

Выпрямитель собран по мостовой схеме на диодах типа Д7Ж
Конструкция
Усилитель собран на шасси из алюминия толщиной 1,5 мм размером 208X92X53 мм. Детали первого каскада следует максимально удалить от силового трансформатора.
Силовой трансформатор собран на сердечнике из пластин Ш-32, толщина набора 32 мм, площадь окна (16X48) мм2. Сетевая обмотка содержит 880 витков провода ПЭЛ 0,33, анодная — 770 витков провода ПЭЛ 0,33, а накальная — 28 витков провода ПЭЛ 0,96.
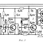
Согласующий автотрансформатор (см. рис. 2) собран на сердечнике из пластин УШ-16, толщина набора 32 мм, секция 1 содержит 500 витков провода ПЭЛ 0,33, секции II и III — по 70 витков провода ПЭЛ 0,51. Первой наматывается секция II и последней — III.

Налаживание.
Собранный из проверенных деталей усилитель налаживания не требует. Режимы ламп измерены авометром ТТ-1 с входным сопротивлением 5000 ом/в. Усилитель некритичен к величине нагрузки. Она может лежать в пределах 200— 500 ом. Высокоомные громкоговорители подключаются к выходу усилителя непосредственно, а низкоомные — через согласующий автотрансформатор (рис. 2).
С целью снижения фона целесообразно на место конденсаторов С9 и С10 поставить конденсатор емкостью 150 мкф, рассчитанный на напряжение 300 в. Для увеличения чувствительности можно несколько ослабить обратную связь, увеличив сопротивление R17 до 7,5 ком. Для облегчения монтажа можно несколько увеличить размеры шасси





