Усилитель НЧ с высоким входным сопротивлением
Радио №3/1966, ст.59
В описываемом усилителе НЧ, схема которого приведена на рисунке, обеспечивается высокое входное сопротивление при низком уровне шумов. .
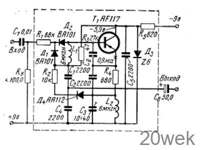
Усилитель состоит из двухконтурного генератора несущей частоты, модулятора на варикапах Д1—Д2, являющихся частью одного из контуров генератора, и демодулятора Д4.
В усилителе осуществляется частотная модуляция колебаний генератора, причем глубина ее пропорциональна амплитуде усиливаемого сигнала.
Напряжение НЧ, которое надо усилить, влияет на параметры одного из контуров генератора (L1, Д1, Д2), меняя частоту генерируемых колебаний. Так как в работе устройства участвуют два расстроенных контура, то изменение частоты настройки одного из них приводит при определенных условиях к удвоению амплитуды продетектированного сигнала по отношению к амплитуде входного, что и обеспечивает эффект усиления. Амплитуда выходного напряжения, выделяемого резонансным контуром в цепи эмиттера, пропорциональна в первом приближении частоте, так как этот контур расстроен относительно контура в цепи базы, определяющего частоту колебаний генератора. Далее сигнал с выходного контура детектируется детектором, и колебания НЧ подаются на выход устройства. Усилитель охвачен жесткой отрицательной обратной связью, которая подается с выхода на вход через резистор R2. Наличие отрицательной обратной связи обеспечивает высокую температурную стабильность усилителя. Высокое входное сопротивление определяется сопротивлением модулятора и поэтому не ухудшает отношения сигнал/шум, как это имеет место в обычных усилителях.
Рассмотрим более подробно схему устройства.

Генератор, собранный на транзисторе имеет два колебательных контура. Первый из них образован катушкой L1 и варикапами Д1, Д2, второй — катушкой L2 и конденсатором С3. Выходное напряжение генератора, выпрямляемое диодом Д4, максимально, если оба контура настроены на одну и, ту же частоту. Емкость конденсатора С6 выбирается такой величины, чтобы контуры были несколько расстроены. Вследствие этого по цепи обратной связи подается приблизительно половина выходного напряжения.
Колебания НЧ, воздействуя на варикапы Д1, Д2 изменяют емкости в контуре L1Д1Д2. Это приводит к изменению резонансной частоты контура и вызывает изменение величины выходного напряжения генератора, как было описано выше. Входное сопротивление усилителя определяется сопротивлением варикапов, то есть сопротивлением кремниевого диода, включенного на запирание. Резистор Rб, с которого подается управляющее напряжение на диоды- варикапы, может вследствие этого иметь сопротивление до 100 Мом.
Рабочая точка транзистора задается с помощью делителя напряжения в цепи базы, образованного резисторами R2, R3 и диодом Д4, а также резистором R4 в цепи эмиттера. Напряжение, стабилизируемое диодом Д3, равно 6,5 в.
Изменение электрических параметров усилителя из-за колебаний температуры, старения и других факторов компенсируется следующим образом. Колебательный контур L1Д1Д2 настроен на более низкую частоту, чем контур L2С3. Если изменения действуют так, что резонансные частоты контуров сближаются, то увеличивается выходное напряжение генератора. Это вызовет увеличение напряжения на конденсаторе С4, который через резистор R2 связан с диодами Д1 и Д2. Емкость варикапов увеличится, а резонансная частота этого контура уменьшится. Для изменений, вызывающих расхождение резонансных частот, компенсация проходит соответственно с уменьшением напряжения на конденсаторе С4. При этом коэффициент усиления усилителя остается постоянным.
Усиленные низкочастотные колебания через конденсатор С8 можно подавать на транзисторный усилитель с общим эмиттером, так как выходное сопротивление устройства сравнительно низкоомное. Коэффициент усиления усилителя для напряжения НЧ Ку= 1,5—2, эффективное напряжение шумов Uш = 10—12 мкв.
По этой схеме был собран предварительный усилитель для кристаллического микрофона. .
«Funktechnifoy, 1964, № 22
От редакции. Транзистор типа AF117 можно заменить отечественным транзистором типа П403; диоды ВА101 —диодом Д901; диод АА112—Д108 и диод Z6 — стабилитроном Д808.





