УНИВЕРСАЛЬНЫЙ ИЗМЕРИТЕЛЬНЫЙ ПРИБОР АВТОМОБИЛИСТА
Н. АЛЕКСЕЕВ, В. ПРОХОРОВ, Радио №5/1967, ст.46
Универсальный измерительный прибор предназначен для применения на автомобилях, имеющих аккумуляторную батарею напряжением 12 в с заземленным отрицательным полюсом. Прибор позволяет измерить напряжение аккумуляторной батареи, проверить работу реле-регулятора напряжения и прерывателя-распределителя, измерить число оборотов двигателя и проконтролировать угол опережения зажигания при различном числе оборотов работающего двигателя.
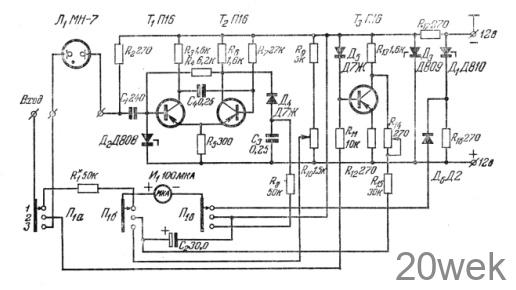
Принципиальная схема прибора приведена на рисунке.

При положении 1 переключателя рода работы П1 микроамперметр И1 с током отклонения на всю шкалу 100 мка через резистор R1 подключается к гнезду «Вход», прибор в этом случае используется как вольтметр. С целью повышения точности отсчета по шкале прибора на одну клемму миллиамперметра подается опорное напряжение около 10 в со стабилитрона Д1. Благодаря этому, шкала вольтметра растянута, при этом в начале шкалы расположена отметка «10 в», в конце — «75 в». В результате по шкале, имеющей 50 делений, можно измерять напряжение в диапазоне 10—15 в с точностью не хуже 0,1 в.
Желательно подобрать стабилитрон Д1 (Д810), имеющий напряжение стабилизации точно 10 в. Резистор R1 окончательно подбирают при налаживании прибора, сравнивая его показание с показаниями контрольного вольтметра высокого класса точности (например, класса 0,5 или 1,0)
При установке переключателя П1 в положение 2 прибором можно проверить соотношение между временем, когда контакты прерывателя замкнуты и временем, когда они разомкнуты. Входное гнездо прибора «Вход» для этого соединяют проводом с неподвижным контактом прерывателя или зажимом «—» катушки зажигания, к которому присоединен провод от прерывателя. По время работы двигателя напряжение на входе прибора будет иметь форму повторяющихся прямоугольных положительных импульсов, длительность импульсов равна времени, в течение которого контакты прерывателя разомкнуты. Поступая па базу транзистора T3, это напряжение периодически запирает его. В результате отпирания и запирания транзистора Т3 на его коллекторе появляются импульсы напряжения, вызывающие отклонение стрелки микроамперметра, пропорциональное среднему значению проходящего через него тока.
Перед измерением при замкнутом входе прибора стрелку микроамперметра потенциометром R11 устанавливают на последнее деление шкалы.
При правильной регулировке зазора стрелка микроамперметра должна отклоняться до середины шкалы при любом числе оборотов двигателя. Уменьшение показаний прибора при увеличении числа оборотов двигателя свидетельствует об ослаблении пружины прерывателя. Для контроля опережения зажигания и определения числа оборотов используются отрицательные импульсы, образующиеся на низковольтной обмотке бобины в момент размыкания контактов прерывателя. Амплитуда этих импульсов достигает 180—200 в и неоновая лампа Л1ь подключенная к бобине, в йомент разрыва контактов ярко вспыхивает.
При положении 3 переключателя отрицательные импульсы малой длительности, возникающие на сопротивлении В2 в момент вспышки неоновой лампы, поступают на вход триггера (7\ и Т2) с одним устойчивым положением и вызывают его срабатывание. Амплитуда запускающих импульсов ограничивается ста- билитроиом Д2. Импульсы с выхода триггера интегрируются конденсатором С3. Показания прибора будут пропорциональны числу импульсов в секунду, и следовательно, числу оборотов двигателя.
Для калибровки шкалы прибора можно подать на вход отрицательные импульсы от вспомогательной батареи 10—20 в через контакты поляризованного реле, обмотка которого включается в сеть переменного тока. При частоте 50 гц на вход триггера будет поступать 3000 импульсов в минуту. Учитывая, что за один оборот коленчатого вала двигателя происходят два разрыва контактов прерывателя, это число импульсов будет соответствовать 1500 оборотам двигателя. Шкала прибора линейна, поэтому градуировку ее можно провести по одной точке. Калибровку можно провести и прямо на автомобиле по частоте колебаний стеклоочистителя.
Проверка опережения зажигания производится в положении 3 переключателя стробоскопическим методом. На маховике белой эмалью наносят шкалу поворота маховика в градусах, начиная от отметки ВМТ до 40 град в сторону вращения маховика. Деления можно легко нанести через 5 град, учитывая, что угол между отметками ВМТ и М3 равен 10 град. При освещении маховика работающего двигателя неоновой лампочкой шкала будет казаться неподвижной, а деление шкалы у указателя смотрового окна будет соответствовать углу опережения зажигания.
Если на автомобиле заземлен положительный полюс аккумуляторной батареи, необходимо поменять местами стабилитрон Д1 и резистор R16. Кроме этого, меняют местами провода, подсоединяемые к верхним по схеме контактам переключателя П1б И П1в.
