Транзисторный УКB ЧМ приемник
Радио №6/1966, ст.55
Описываемый ниже УКВ ЧМ приемник может быть собран из стандартных деталей. Его схема относительно проста и сравнима со схемой AM приемника. Приемник собран на девяти транзисторах и двух диодах и содержит десять настраивающихся контуров. Он питается от источника напряжением 6 в, ток покоя 10 ма, выходная мощность 100 мВт. Внешние размеры 150X100X44 мм. Приемник имеет один каскад усиления ВЧ, смеситель, три каскада усиления ПЧ, демодулятор и трехкаскадный усилитель НЧ с двухтактным выходом. Схема усилителя НЧ не приводится, так как она стандартна. Для повышения устойчивости усилителя ПЧ применены контуры с относительно большой емкостью. В высокочастотной части приемника транзисторы включены по схеме с общей базой, что позволяет обойтись без нейтрализации каскадов. В приемнике заземлен минус источника питания, что также способствует повышению его устойчивости.
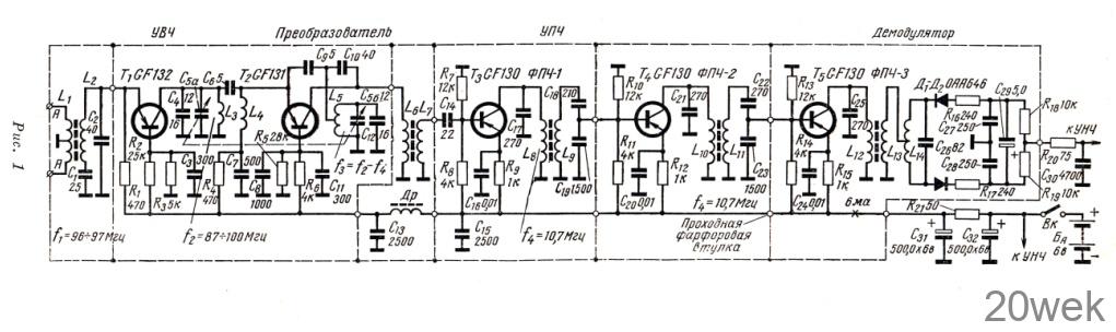
Принципиальная схема приемника без усилителя НЧ приведена на рис. 1. Входной контур рассчитан на подключение штыревой четвертьволновой антенны или петлевого вибратора через коаксиальный кабель. Контур настроен на среднюю частоту УКВ ЧМ диапазона. Контур на выходе усилителя ВЧ настраивается конденсатором переменной емкости С5а, а колебательный контур гетеродина — конденсатором С5б. Связь между усилителем ВЧ и смесителем — емкостная (С6), а между смесителем и первым каскадом усилителя ПЧ — индуктивная (L6, L7). Рабочие точки транзисторов Т3—Т5 выбраны так, чтобы ток эмиттера каждого транзистора был равен 1 ма. Для согласования входного и выходного сопротивлений каскадов усилителя ПЧ применены емкостные делители (С18С19 и С22С23). Это упрощает конструкцию тракта ПЧ. Для демодуляции сигнала применена симметричная схема детектора отношений. Напряжение НЧ снимается со средней точки нагрузки детектора (R18, R19).

Конструкция. Высокочастотная часть приемника заключена в экран из латуни (красной меди) размерами 80Х 55Х 33 мм, разделенный поперечными перегородками на три неравные части. В первом малом отсеке размещен входной контур L1L2 и относящиеся к нему конденсаторы. Средний большой отсек занимает смесительный каскад. В третьем узком отсеке размещены катушки L6, L7 и элементы развязки по ВЧ (Др и С13). Соединительные провода между отсеками проходят через фарфоровые втулочки, вмонтированные в экране. Выводы всех деталей, подлежащие заземлению, припаяны непосредственно к экрану. Усилитель ПЧ тоже заключен в коробчатый экран размерами 110Х 40X 29 мм, разделенный на три отсека — два малых и один большой. В первых двух отсеках размещены соответственно первый и второй каскады усилителя ПЧ, а в третьем, большом,— третий каскад усилителя ПЧ и демодулятор. Катушки контуров ПЧ намотаны на длинных каркасах, которые устанавливаются поперек всего коробчатого экрана, заменяющего шасси (каждый каркас устанавливается в своем отсеке). Концы каркасов вставляются в отверстия, просверленные в боковых стенках экрана.
Высокочастотный блок приемника привинчивается наглухо к коробчатому экрану усилителя ПЧ. Благодаря этому значительно укорачиваются соединительные провода и улучшается контакт между экранами. Собранные вместе блоки ВЧ и ПЧ представляют собой единую, вполне законченную конструкцию, которую можно использовать в любом приемнике (радиоле).
Конструкция контуров ПЧ и демодулятора показана на рис. 2. Для подстройки контуров использованы ферритовые сердечники. Начальная добротность контуров составляет 100.

В качестве антенны желательно использовать готовую фабричную телескопическую антенну. Корпус приемника можно склеить из пластмассы или использовать подходящий готовый футляр.
Намоточные данные катушек приемника приведены в таблице.

Перестройка приемника на отечественный диапазон УКВ ЧМ вещания 65ч-73 Мгц может быть осуществлена как увеличением емкости конденсаторов С2, С4, С12 в небольших пределах, так и изменением шага намотки контурных катушек L2, L3, L5.
Транзисторы типа GF130 — GF 132 можно заменить отечественными транзисторами типа П416. Диоды ОАА646 можно заменить диодами типа Д2В.





