ТРАНЗИСТОРНЫЙ СТАБИЛИЗАТОР НАПРЯЖЕНИЯ НА 150 вольт
А. Дружинин, Радио №7/1965, ст. 52
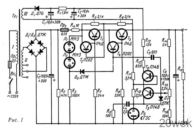
Стабилизированный источник питания, схема которого показана на рис. 1, представляет собой стабилизатор компенсационного типа с регулирующими транзисторами Т1 — Т4, однокаскадным усилителем постоянного тока Т5, T6 и источником опорного напряжения Л3. При изменении напряжения сети в пределах 200—245 в и тока нагрузки 0—200 ма выходное напряжение изменяется менее, чем на 0,1 в. Двойная амплитуда пульсации не превышает 10 мв. Напряжение, выпрямленное мостовым выпрямителем— Д2—Д5 через сопротивление R4 и два последовательно соединенных составных транзистора T1, Т2 и T3, T4 поступает на сопротивление нагрузки стабилизатора Rн, а также делитель R14 — R16 Этот делитель вместе с транзистором Т5 и стабилитроном Л3 образует схему сравнения. Часть выходного напряжения стабилизатора, снимаемая с сопротивлений R15, R16, сравнивается с опорным напряжением на стабилитроне Л3. Разность этих напряжений в отрицательной полярности приложена к переходу база—эмиттер транзистора Т5 и определяет величину тока цепи базы, а в конечном счете и величину сопротивления регулирующих транзисторов Т1 — T4.

Процесс стабилизации происходит следующим образом. При увеличении выпрямленного напряжения вследствие повышения напряжения питающей сети или уменьшения тока нагрузки напряжение на выходе стабилизатора также стремится увеличиться. Однако при этом происходит увеличение напряжения, подводимого к базе транзистора T5 с делителя R14 — R16, что вызывает возрастание тока цепи базы, а следовательно, и тока цепи коллектора T5. Сопротивление коллекторно-эмитерного перехода T5 и напряжение на нем уменьшаются. Вследствие этого увеличиваются базовый и коллекторный токи транзистора T6.
Коллекторная цепь Т6 и цепь базы T4 питаются от выпрямителя на диоде Д1 через общее сопротивление R13, поэтому увеличение тока цепи коллектора T6 вызывает уменьшение тока цепи базы транзистора T4. Сопротивление составного транзистора Т3, Т4 возрастает, падение напряжения на сопротивлениях коллекторно- эмиттерных переходов увеличивается. Одновременно растет падение напряжения на втором составном транзисторе T1, T2 Поскольку R5 = R6, напряжение между обоими составными транзисторами распределяется равномерно. Таким образом, увеличение выпрямленного напряжения на входе стабилизатора компенсируется возрастанием падения напряжения на регулирующих транзисторах T1—T4 и напряжение на выходе стабилизатора практически не изменяется. При уменьшении входного напряжения либо увеличении тока нагрузки происходит обратный процесс.
Транзисторы стабилизатора защищены от перенапряжений, возникающих во время переходных процессов при включении стабилизатора, резких колебаниях нагрузки и пр. Для этой цели служат лампы Л1, Л2, сопротивление R3, полупроводниковый диод Д6. Благодаря включению этих элементов напряжение на каждом транзисторе не возрастает выше 40 в. Напряжение зажигания двух неоновых ламп Л1, Л2 составляет около 80 V, поэтому, когда-напряжение между коллектором транзистора Т1 и базой транзистора T4 превысит эту величину, диод Д6 откроется, а базовый ток T4 увеличится. Последнее вызовет уменьшение общего сопротивления регулирующих транзисторов T1 — T4 и ограничит дальнейшее возрастание напряжения на них. Стабилизатор выходит из режима стабилизации, выходное напряжение начинает расти.
Величина сетевого напряжения, при котором начинается действие защиты, зависит от тока нагрузки. В самом неблагоприятном случае, при токе нагрузки равном нулю, это напряжение составляет 248 в (см. рис. 2). При номинальном токе нагрузки 200 ма режим стабилизации не нарушается даже при кратковременном возрастании напряжения сети на 20%. Длительные перенапряжения недопустимы, так как регулирующие транзисторы могут выйти из строя. Чтобы транзисторы Т5 — T6 не вышли из строя во время действия защиты (вследствие одновременного возрастания напряжения и тока цепи коллектора), включено сопротивление R12. Полупроводниковый диод Д7 защищает переход база—эмиттер транзистора Т5 от напряжения обратной полярности, возникающего в момент включения стабилизатора.

Транзисторные стабилизаторы с составным регулирующим транзистором и усилителем постоянного тока (при малой емкости на выходе) обычно самовозбуждаются на частотах порядка нескольких килогерц. Чтобы избежать этого, необходимо включить конденсатор С5, емкость которого подбирают экспериментально по отсутствию самовозбуждения стабилизатора (начиная с нескольких тысяч пикофарад). Чрезмерное увеличение этой емкости ухудшает стабилизацию выходного напряжения при быстрых изменениях тока нагрузки.
При токах нагрузки стабилизатора, близких к нулю, требуемая величина управляющего тока цепи базы транзистора Т3 может оказаться меньше неуправляемого тока цепи коллектора транзистора T4 и процесс стабилизации нарушится. Сопротивление R3 увеличивает коллекторный ток R4, уменьшая тем самым влияние тока /ко. С этой же целью включено сопротивление R7.
Налаживание стабилизатора несложно. Потенциометром R15 выходное напряжение устанавливают равным 150 в. Выбирают место отвода обмотки II трансформатора таким образом, чтобы при напряжении сети 200 в и токе нагрузки 200 ма падение напряжения на коллекторно-эмитерном переходе каждого из транзисторов T1, Т3 было около 2 — 3 в. Параметры неоновых ламп Л1, Л2 должны быть такими, чтобы сумма напряжений на них составляла около 80 в. Поскольку газовые стабилизаторы имеют большой разброс параметров, для уверенного ‘зажигания стабилитрона Л3 последовательно с диодом Д7 следует включить сопротивление 5—10 ком. Пределы и коэффициент стабилизации удобно проверять, пользуясь вольтметром с растянутой шкалой. Для проверки величины пульсации выходного напряжения и отсутствия паразитных колебаний необходим осциллограф.
Все транзисторы, которые будут применены в стабилизаторе, необходимо проверить. Для транзисторов П14Б IК0 не должен превышать 30 мка, для П4Д и П202 -— не более 400 мка. Желательно иметь транзисторы с возможно меньшей величиной этого тока.
Если от стабилизатора надо получить импульсный ток, амплитуда которого значительно превышает 200 ма (при условии, что его среднее значение сохраняется прежним), то следует увеличить емкость конденсатора С6. Если длительность импульсов, исчисляется микросекундами, параллельно электролитическому конденсатору C6 обладающему большим сопротивлением в области высоких частот, необходимо включить конденсатор 0,01—0,5 мкф со слюдяным или бумажным диэлектриком.
Обмотки трансформатора Тр1 намотаны на сердечнике из пластин Ш-20, толщина набора 40 мм (размер окна 20 X 50 мм). Обмотка I содержит 1250 витков провода ПЭВ 0,41, обмотка II — 870 -f- 30 + + 30 витков провода ПЭВ 0,41, обмотка III — 125 витков провода ПЭВ 0,12. Конденсаторы С4 и С5 металлобумажные, остальные—электролитические. Газовый стабилизатор СГЗС можно заменить на СГ2П. Стабилитроны СГ1П, СГ4С применять нельзя, так как их напряжение стабилизации (145—160 в) обычно выше требуемого.
Транзисторы T2 и T4 снабжены дюралюминиевыми радиаторами (пластины размерами 30X 80X 25 мм}. Для Т1, Т3 можно использовать готовые радиаторы, состоящие из 9 пластин размерами 6,5X6,5 см. При самостоятельном изготовлении достаточно использовать для каждого транзистора расположенную вертикально дюралюминиевую пластину размерами 19 X 7,5 см и толщиной 4— 8 мм. Место закрепления транзистора необходимо тщательно отшлифовать и смазать невысыхающим маслом.
Конструктивно все детали стабилизатора смонтированы на вертикальной панели размерами 300 X 150 мм. В нижней части расположен силовой трансформатор и конденсаторы фильтра, в средней части — монтажная плата с радиодеталями, а в верхней закреплены радиаторы транзисторов П4Д и стабилитрон. На лицевой стороне панели расположены тумблер включения сети, держатели предохранителей и неоновых ламп. Потенциометр R15 регулировки выходного напряжения на переднюю панель не выведен, так как им пользуются только при налаживании. Конструкция заключена в футляр размерами 300 X 150 X 90 мм, который имеет вентиляционные отверстия.
