ТРАНЗИСТОРНЫЙ СИГНАЛИЗАТОР РОЕНИЯ ПЧЕЛ
И. ГЛЫЗИН, Радио №4/1966, ст.55
Обычно из улья слышно беспорядочное гудение, состоящее на звуков различных частот в пределах 100—600 гц, а когда наступает период роения и пчелы закладывают на сотах маточники, в которых они воспитывают молодых маток, то сила и тон жужжания резко изменяются. Гудение становится монотонным и сосредоточивается в диапазоне частот 200— 280 гц. На эти частоты и настроен сигнальный транзисторный прибор, описанный ниже. Как только в улье появятся звуки этих частот, прибор включает световой сигнал, сообщающий о наступлении периода роения пчел. Пчеловод в зависимости от конкретных условий прекращает роение или применяет искусственное деление семей.

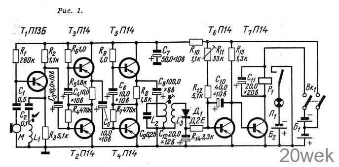
Принципиальная схема прибора показана на рис. 1. Звуки, издаваемые пчелами, улавливает микрофон М. Напряжение, развиваемое микрофоном, усиливает трехкаскадный усилитель на транзисторах Т1—Т5.

Первый каскад микрофонного усилителя охвачен частотно зависимой отрицательной обратной связью, остальные каскады представляют собой обычные апериодические усилители. Последовательный колебательный контур L1С2 настраивают на частоту 240 гц. Частотная характеристика усилителя в целом имеет подъем в полосе частот 200—280 гц благодаря резонансным свойствам контуров L1C2 и L2C9. На резонансной частоте контура L1C2 его сопротивление весьма мало, отрицательная обратная связь минимальна и усиление каскада максимально. На других частотах сопротивление контура L1C2 возрастает, а усиление каскада уменьшается. С увеличением емкости конденсатора С2 возрастает коэффициент усиления и расширяется полоса пропускания каскада.
Второй и третий каскады выполнены на двух транзисторах каждый. Верхний по схеме транзистор является нагрузкой нижнего по переменному току.
Усиленное напряжение с эмиттер- ной нагрузки транзистора Т5 через разделительный конденсатор С8 поступает на резонансный контур- фильтр L2C9. Напряжение звуковой частоты с катушки связи L3, выпрямленное полупроводниковым диодом Д1, через резистор R14 подается на базу транзистора T6 исполнительного каскада (Tб и T7).
В исходном состоянии Т6 открыт, а Т7 закрыт.
Порог срабатывания исполнительного каскада при заданном уровне напряжения на входе устанавливается R11 Электролитический конденсатор С11 используется для увеличения времени срабатывания реле, а также для сглаживания пульсаций.
Конструкция и детали. Весь прибор размещен в металлической коробке размерами 230Х 100Х 85 мм с крышкой. На верхней крышке установлен выключатель питания Вк1. Индикаторная лампа вмонтирована в корпус микрофона так, что во время работы с прибором она видна пчеловоду. В приборе использован микрофон типа МД-ЗЗА с сопротивлением катушки 50 ом. Монтаж выполнен печатным способом на плате 130Х 100 мм (рис. 2).

Катушки L1 и L2 насчитывают по 2000 витков, а катушка L3 — 800 витков провода ПЭЛШО 0,1 (L2 имеет отвод от 600 витка). Их сердечники набраны из пермаллоевых пластин Ш-8, толщина набора 6 мм, толщина воздушного зазора 0,5 мм. Фильтры настраивают на частоту 240 гц перемещением пер- маллоевой пластины в зазоре маг- нитопровода. После точной настройки фильтров пластины, вставленные в зазор, закрепляются краской или клеем.
В схеме применено реле типа РЭС-10 (PC 4524302). Питается прибор от четырех батарей КБС-0,5.
Налаживание прибора. Удобно настраивать прибор до окончательной сборки на предварительно собранной плате. Приступать к его регулировке можно только после тщательной проверки монтажа.
До подключения надо настроить резонансные контуры на частоту 240 гц. Для. настройки контура L1С2 на резонансную частоту следует отпаять вывод конденсатора С2 от вывода эмиттера транзистора T1 и подать на этот конденсатор сигнал с выхода генератора звуковой частоты включив последовательно в цепь генератора резистор сопротивлением около 1 ком (рис. 3). Затем следует настроить генератор на частоту 240 гц и подключить параллельно колебательному контуру ламповый вольтметр. Введением пермаллоевой пластины в зазор магнитопровода надо настроить этот контур на резонансную частоту, контролируя точность настройки по минимальному показанию вольтметра. Затем необходимо проверить полосу пропускания контура, которая должна быть около 80 гц.

При настройке контура-фильтра L2С9 на резонансную частоту следует отсоединить конденсатор С8, подсоединенный к эмиттеру Т5, подать через этот конденсатор на фильтр с генератора ЗГ сигнал частотой 240 гц и подключить параллельно колебательному контуру ламповый вольтметр. Меняя положение пластины в зазоре магнитопровода, нужно настроить этот контур на резонансную частоту, контролируя точность настройки по максимальному показанию вольтметра. Затем надо проверить ширину полосы пропускания фильтра в обе стороны от точки резонанса.
Далее подключают конденсатор С2 к эмиттеру транзистора Т1 и проверяют коэффициент усиления усилителя.
Затем на вход усилителя подается напряжение частотой 240 гц от генератора звуковой частоты, а к эмиттеру транзистора Тб через конденсатор С8 подключают вольтметр переменного тока. При напряжении на входе, равном 100—150 мкв, напряжение на выходе должно быть не менее 1 в. Подъем частотной характеристики должен быть в пределах 200—280 гц. При меньшем выходном напряжении необходимо подобрать сопротивления резисторов R4 и R7.
Наконец, устанавливают уровень срабатывания исполнительного каскада. Подключают конденсатор С8 к эмиттеру транзистора Т5, включают напряжение источника питания (Вк1). Изменяя сопротивление потенциометра R11, добиваются, чтобы сигнальная лампа загорелась и погасла. Это свидетельствует о том, что исполнительный каскад работает правильно. Сопротивление резистора R11 выбирается так, чтобы индикаторная лампа загорелась при минимальном уровне напряжения звуковых частот 200—280 гц.
Пользуются прибором следующим образом. Выключателем Вк1 включают источники питания и подносят микрофон к улью. Если пчелы находятся в стадии роения, загорается индикаторная лампа.





