ТРАНЗИСТОРНЫЙ КВ КОНВЕРТЕР
В. Луговой, Радио №3/1965, ст. 47
Транзисторный конвертер, сконструированный минским радиолюбителем т. Луговым, предназначен для приема любительских радиостанций в в диапазонах 14, 20 и 40 м (основная масса радиолюбителей-коротковолновиков всех стран мира работает в диапазонах 20 и 40 м.) Конвертер прост по конструкции, собрать и наладить его легко. Он присоединяется к любому приемнику, имеющему средневолновый диапазон и позволяет принимать не только телефонные, но и телеграфные передачи. При подключении конвертера к приемнику «Атмосфера-2» чувствительность этой системы будет не хуже 25 мкв, а ослабление помех по зеркальному каналу не менее 30 дб.
Конвертер имеет интересную особенность, а именно, в нем применена электронная настройка. Как осуществляется эта настройка, рассказано в статье.
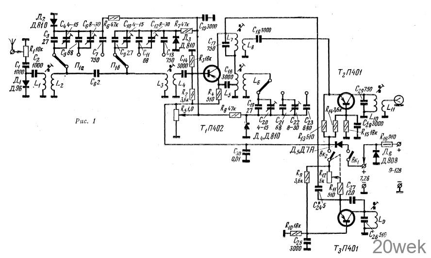
Схема (рис. 1). Конвертер имеет три каскада: преобразовательный на транзисторе П402 (T1), усилитель ПЧ на транзисторе П401 (Т2) и регенеративный усилитель ( Q — умножитель) на транзисторе П401 (Т3).

Напряжение сигнала радиостанции, наведенное в антенне, подключенной к конвертеру, поступает на ползунок потенциометра R1. Вращая этот ползунок, можно менять уровень ВЧ сигнала, поступающего в катушку связи входного контура конвертера. Диод Д9Б (Д1) установлен для того, чтобы напряжение сигнала на катушке L1 не превышало определенной величины (0,3 в). При напряжениях меньше 0,3 в этот диод заперт, и ток из антенны будет идти через потенциометр R1 конденсаторы C1 и С2 в катушку L1. При увеличении напряжения сигнала или помехи до 0,3 в и выше диод Д1 открывается, и ток с точки соединения конденсаторов C1 и С2 замкнется через диод на землю. Ограничение величины напряжения сигнала на выходе конвертера необходимо для предотвращения выхода из строя деталей конвертера (в особенности транзисторов и полупроводниковых диодов) при случайных перегрузках.
Для уменьшения искажений принимаемого сигнала входная цепь конвертера выполнена по сложной схеме. Она содержит два колебательных контура, настраиваемых в резонанс на принимаемую частоту. Первый контур состоит из катушки L2, конденсаторов С3—С7 и кремниевого стабилитрона Д810 (Д2), а второй — из катушки L3, конденсаторов С9— С13 и кремниевого стабилитрона Д810 (Д3). Контуры индуктивно связаны с антенной и базой транзистора Т1 преобразовательного каскада через катушки связи L1 и L4, а между собой — при помощи конденсатора малой емкости С8.
Для настройки контуров в резонанс вместо конденсаторов переменной емкости применены кремниевые стабилитроны Д810 (Д2 и Дз)- Такое необычное использование кремниевых стабилитронов оказалось возможным благодаря тому, что плоскостным полупроводниковым диодам присущ особый эффект, который состоит в следующем.
Полупроводниковый диод состоит из двух различных полупроводниковых материалов: с преобладанием отрицательных электронных зарядов (типа п) и положительных дырочных (типа р). На стыке полупроводников различных типов расположен слой, который называется р—п переходом. Присоединим к диоду источник внешнего напряжения отрицательным полюсом к полупроводнику типа р, а положительным — к полупроводнику типа п. Тогда электроны и дырки под действием внешнего электрического поля будут оттянуты к поверхностям полупроводников, противоположным р—п переходу. Около этого перехода образуется область с малым количеством зарядов, которую можно рассматривать как диэлектрик конденсатора. Обкладками этого конденсатора будут области Р и п полупроводников, богатые зарядами.
Меняя напряжение внешнего источника тока, можно менять емкость диода, работающего в качестве конденсатора. Чем больше напряжение, тем сильнее оттягиваются заряды от р—п перехода и тем меньше будет, емкость диода — конденсатора. Описанный выше эффект ярко выражен у полупроводниковых кремниевых диодов, основное назначение которых — стабилизация напряжения (кремниевых стабилитронов). Поэтому они и применены в конвертере.

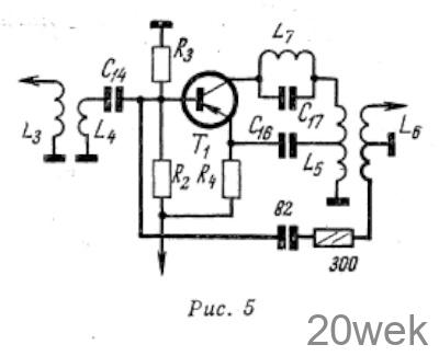
Преобразовательный каскад на транзисторе П402 (T1) собран по совмещенной (аддитивной) схеме, где в качестве преобразователя входного сигнала и гетеродина используется один и тот же транзистор. Упрощенная схема каскада приведена на рис. 2. Каскад работает следующим образом. Принимаемый сигнал подается на базу транзистора. Колебательный контур гетеродина, состоящий из катушки L6, сопрягающих конденсаторов С19—С23 и кремниевого стабилитрона Д810 (Д4), индуктивно связан с транзистором T1 при помощи катушки L5. Эта катушка имеет отвод, присоединенный через конденсатор С16 к эмиттеру Т1. Концы L5 присоединены к коллектору T1 (последовательно с катушкой L7 фильтра ПЧ) и минусу батареи питания, который в конвертере соединен с шасси. Таким образом получается широко известная трехточечная схема генератора. Теперь, если в контуре L6С19_23Д4 благодаря какому-либо внутреннему процессу возникнут колебания, они сразу же появятся в катушке L5 и возникнет непрерывная генерация.
На базу транзистора T1 поступают одновременно два напряжения — входного сигнала и гетеродина (последний через цепь общего минуса). Режим этого транзистора подобран так, что он работает на нелинейном участке характеристики. Благодаря этим причинам в коллекторном токе транзистора T1 появляются составляющие, частота которых равна сумме или разности частот входного сигнала и гетеродина. Одна из этих частот используется в качестве промежуточной. Она выделяется резонансным контуром и усиливается в каскаде усиления ПЧ, собранном по схеме с общей базой на транзисторе П401 (Т2). Этот каскад кроме усиления напряжения ПЧ отделяет преобразователь конвертера от входа приемника для того, чтобы не возникали паразитные связи, которые могут вызвать свисты в громкоговорителе.
Промежуточная частота в конвертере выбрана равной 1500 кгц, потому что на эту частоту можно настроить любой широковещательный приемник, предназначенный для работы с конвертером. Напряжение ПЧ с выхода конвертера подается на вход (гнезда «антенна» и «земля») широковещательного приемника и служит для него как бы напряжением сигнала, принимаемым с антенны. Для улучшения чувствительности и избирательности конвертера в него введен регенеративный усилитель (за рубежом такие усилители называют Q — умножителями). Этот усилитель собран на транзисторе П401 (T3). В коллекторную цепь транзистора включен колебательный контур L9С2б, настроенный на промежуточную частоту. Коллектор и эмиттер Т3 соединены между собой через конденсатор С27, чем осуществляется положительная обратная связь (регенерация). Ток эмиттера Т3 можно регулировать при помощи потенциометра R12, включенного как реостат. Когда ток эмиттера невелик, каскад не возбуждается. При постепенном увеличении тока эмиттера условия для возбуждения каскада (генерации) будут все более и более благоприятными и, наконец, генерация возникнет. Известно, что при подходе к порогу генерации увеличивается добротность контура (в данном случае L9C26) и усиление каскада, к которому подключен этот контур. Проследив по принципиальной схеме (рис. 1), можно легко увидеть, что контур L9С26 присоединен параллельно контуру фильтра ПЧ L7С17 через конденсатор С24. Контур L7С17 имеет малую добротность и, следовательно, широкую полосу пропускания (кривая а на рис. 3). При подключении к нему контура L9С2б с высокой добротностью на узкой части полосы пропускания (кривая б на рис. 3) усиление резко увеличится, что улучшит чувствительность и избирательность конвертера.

Если довести каскад регенеративного усилителя до генерации, то он будет работать как второй гетеродин, и на конвертер будет возможно принимать станции, работающие незатухающими колебаниями (CW) и на одной боковой полосе (SSB). При необходимости каскад может быть отключен выключателем Вк2.
Для того чтобы конвертер хорошо работал, напряжение источника его питания должно быть стабильным. Лучше всего питать конвертер от аккумулятора 7Д0,1.При питании приемника от батарей («Крона» или 2—3 штуки КБС-Л-0,5) необходимо включать их через простейший стабилизатор, состоящий из сопротивления R16 и кремниевого стабилитрона Д808 (Д6). Диод Д7А (Д5) предотвращает порчу транзисторов при случайном неправильном включении источника питания. Конвертер потребляет ток около 4,5 ма. Сопротивления R2—R4, R9—R15 образуют цепи температурной стабилизации транзисторов.

Конструкция. Конвертер монтируется на плате из изоляционного материала (гетинакс, текстолит, органическое стекло) толщиной 1,5 мм и размерами 210 X 70 мм. Расположение деталей на плате показано на рис. 4. Гнезда антенны и заземления, а также потенциометр и отверстие для выходного коаксиального кабеля находится на боковой стенке футляра. Отдельные каскады конвертера экранируются (экраны показаны на рис. 4 пунктиром). Катушки наматываются на полистироловых каркасах диаметром 7,5 мм и длиной 40 мм (можно использовать каркасы контуров телевизора «Рубин-102»). Данные катушек приведены в таблице. Для переключателя П1 используется одноплатный галетный переключатель на три положения (желательно керамический). Транзисторы должны иметь коэффициент усиления B=50-120. Конденсаторы С5, С7, С11, С13, С21, С23 необходимо устанавливать первого класса точности (с отклонением от номинальной емкости ±5%).
Кремниевые стабилитроны Д2, Д3 и Д4 отбираются так, чтобы их максимальная емкость была равна 560±5% пф. Отбор можно производить при помощи измерителя добротности (Q-метра) следующим образом. Выбрав подходящую эталонную катушку индуктивности из комплекта, прилагаемого к Q-метру, вставляют ее в гнезда «индуктивность». Емкость контура Q-метра устанавливают наименьшую (по соответствующей шкале). Затем по формуле

определяют резонансную частоту контура (в кгц), которая должна получиться при подключении к зажимам «емкость» стабилитрона с необходимой величиной максимальной емкости. В формулу подставляют величину индуктивности L (в мгн), обозначенную на футляре — экране эталонной катушки и минимальную емкость Q-метра Смин в пф. Найденную резонансную частоту устанавливают на соответствующей шкале Q — метра и, подключая к нему стабилитроны, отбирают те, при включении которых стрелка прибора- измерителя Q отклонится. Потенциометр настройки R5 должен быть хорошего качества. Лучше всего применять малогабаритный потенциометр типа СПО чешской фирмы «Тесла» с выключателем

Конвертер соединяется с приемником коаксиальным кабелем РК19 длиной 400 мм. Футляр конвертера размерами 213 X 73 X 30 мм сделан из алюминия толщиной 1,5 мм и окрашен серой нитрокраской.
Налаживание. Проверив монтаж, присоединяют к конвертеру источник питания напряжением 8—10 в через миллиамперметр. Если показания миллиамперметра будут в пределах 4-6 ма, то это значит, что транзисторы исправны, и режим их работы нормален. В противном случае нужно проверить транзисторы.
Не подключая конвертер к приемнику, включают последний и находят в участке средневолнового диапазона 1400—1600 кгц место, свободное от радиостанций. Подключив к приемнику сигнал-генератор и индикатор выхода по максимальному показанию последнего точно определяют частоту настройки приемника. Отключив сигнал-генератор от приемника, присоединяют к нему конвертер, а сигнал-генератор к базе транзистора T1 через конденсатор 100—200 пф и, вращая сердечники катушек L7 и L10, настраивают их на промежуточную частоту. Окончив настройку ПЧ, подгоняют диапазоны гетеродина. Для этого устанавливают на сигнал-генераторе поочередно частоты 21,0; 21,45; 14,0; 14,35; 7,0, 7,1 Мгц, Переключая конвертер на соответствующий диапазон и вращая движок потенциометра по показаниям индикатора выхода определяют, настраивается ли контур гетеродина на эти частоты. В противном случае подгонку производят обязательно сначала на 40-метровом диапазоне вращением сердечника катушки L6 и лишь потом на 14- и 20-метровых диапазонах соответственно подстроечными конденсаторами С20 и С22. После этого определяют граничные частоты диапазонов. Для этого устанавливают движок потенциометра R5 в одно из крайних положений, вращают ручку настройки сигнал-генератора до максимальных показаний индикатора выхода и записывают частоту по шкале настройки сигнал- генератора. Эту процедуру повторяют на всех диапазонах конвертера в обоих крайних положениях потенциометра R5.
Затем сигнал-генератор подключают к гнездам «антенна» и «земля» конвертера и производят настройку входных контуров при крайних положениях движка потенциометра R5. На сигнал-генераторе устанавливают заранее определенные граничные частоты. Настройка производится по максимальным показаниям индикатора выхода, сначала 40-метрового, а затем 14- и 20-метровых диапазонов соответственно сердечниками L2L3 и подстроечными конденсаторами С4С10; С6С12. При налаживании в конвертере может наступить самовозбуждение, что легко определить по наличию показаний индикатора выхода при отключенном сигнал-генераторе. В этом случае нужно ввести в преобразовательный каскад цепь нейтрализации по рис. 5 (обозначена жирными линиями).

Во время настройки каскад регенеративного усилителя должен быть выключен (выключателем Вк2). После окончания настройки включают этот каскад, настраивают конвертер на какую-либо слабо слышимую станцию и вращают сердечник катушки L9 до увеличения громкости приема этой станции. Затем, поворачивая движок потенциометра R12, проверяют по свисту во время приема телефонных станций* возникает ли генерация. На этом налаживание конвертера заканчивается
При работе с конвертером не рекомендуется производить подстройку ручкой настройки приемника. Если станции в пределах диапазона будут расположены очень тесно, нужно включить последовательно потенциометру R5 еще один с сопротивлением 5—10 ком. При помощи этого потенциометра можно получить очень плавную растяжку диапазона в любом месте
Радио №9/1965, ст.62

