ТРАНЗИСТОРНЫЕ ПРЕОБРАЗОВАТЕЛИ ДЛЯ ПИТАНИЯ АВТОМОБИЛЬНЫХ ПРИЕМНИКОВ
Радио №8/1965, ст. 28
В последних выпусках ламповых автомобильных радиоприемников для получения высокого (анодно-экранного) напряжения вместо вибропреобразователя используют преобразователи, собранные на транзисторах. Выпрямитель такого преобразователя выполняют на полупроводниковых диодах.
Транзисторный преобразователь значительно долговечнее механического, к.п.д. транзисторного преобразователя выше, он занимает значительно меньше места и легче, чем механический.
Существуют два типа ламповых приемников для автомобиля. Одни из них собраны целиком на лампах, в других— усилитель низкой частоты выполнен на транзисторах.
В зависимости от этого применяются и различные преобразователи.
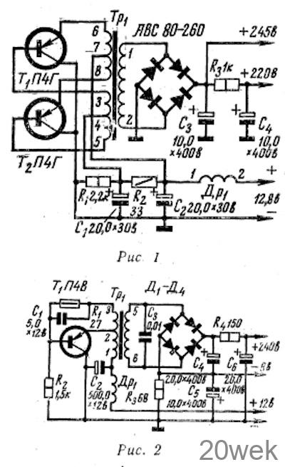
В первом типе приемников потребление тока анодно-экранными цепями больше, поэтому преобразователи собраны по двухтактной схеме. У приемников с транзисторным усилителем низкой частоты расход тока для питания анодно-экранных цепей значительно меньше, и поэтому в преобразователе достаточно одного транзистора. Схема двухтактного преобразователя напряжения для питания автомобильного приемника типа А-12 изображена на рис. 1. Транзисторы Т1 и Т2 работают в ключевом режиме и, попеременно открываясь, подключают низкое напряжение питания к первичной обмотке трансформатора Тр1. Пульсирующий ток в коллекторной обмотке создает переменное магнитное поле, которое во вторичной обмотке наводит высокое напряжение. После выпрямления напряжение поступает через колодку разъема в приемник для питания анодно-экранных цепей.

Конденсаторы С1 и С2 совместно с сопротивлениями R1 и R2 и дросселем Др1 образуют фильтр низкого напряжения, препятствующий проникновению помех от системы зажигания автомобиля, переключателей света и других источников. Напряжение для питания анодных цепей подается непосредственно с выпрямителя, а для питания экранирующих сеток — после обычного П-образного фильтра, состоящего из сопротивления R3 и конденсаторов С3 и С4.
Намоточные данные трансформатора Tp1 и дросселя Др1 приведены в таблице. При данных деталях и первичном напряжении, равном 12,8 V, преобразователь по первичной цепи потребляет ток порядка 2 а, давая на выходе анодное напряжение в 245 в при токе 30 ма и экранное напряжение 220 в при токе 26 ма. Однотактный преобразователь напряжения служит для питания комбинированного автомобильного радиоприемника типа А-18. Принципиальная схема преобразователя изображена на рис. 2. Здесь также транзистор T1 служит для создания прерывистого тока низкого напряжения в первичной обмотке трансформатора Тр1. Выпрямление переменного напряжения, образующегося на вторичной обмотке силового трансформатора, осуществляется мостиковым выпрямителем, собранным на четырех германиевых диодах. На сопротивлении R3 образуется отрицательное напряжение смещения за счет падения напряжения в общей минусовой цепи при прохождении по ней токов анодов и экранирующих сеток

Сопротивления R1 и R2 необходимы для создания определенного режима работы транзистора по постоянному току. Дроссель Др1 и конденсатор С2 являются фильтром низкого напряжения, а конденсаторы С4, С5, С6 и сопротивление R4 образуют фильтр анодного и сеточного напряжений.
Данные силового . трансформатора и дросселя Др1 помещены в таблице. При напряжении стартерного аккумулятора 12,8 в преобразователь потребляет около 1а, обеспечивая на выходе для питания анодно-экранных цепей 240 е при токе порядка 25 ма.





