ТРАНЗИСТОРНОЕ ПЕРЕГОВОРНОЕ УСТРОЙСТВО
Н. КРАВЦОВ, Радио №5/1967, ст.30
Система громкоговорящей связи, работающая в симплексном режиме (с переключением прием — передача) предназначена для двухсторонней связи между главным абонентом и другими абонентами по трехпроводной линии; одни провод — экранирующая оплетка
С целью упрощения и удешевления устройства как у главного, так и у других абонентов для приема и передачи служит один громкоговоритель типа 0,1 ГД-6, то есть используется обратимость электродинамических громкоговорителей. Применение громкоговорителей типа 0,1 ГД-6 предполагает малогабаритность переговорного устройства, однако могут быть использованы любые трансляционные громкоговорители с соответствующей перемоткой их трансформаторов.
Устройство имеет один усилитель, вход и выход которого коммутируются кнопочным переключателем, установленным в пульте главного абонента.
Главный абонент может одновременно подключать один или несколько абонентов, удаленных на расстояние до 100 м. Количество абонентов ограничивается конструкцией кнопочного переключателя и мощностью усилителя при одновременном вызове всех абонентов. В описываемом устройстве переключатель рассчитан на 6 абонентов, мощность усилителя устройства позволяет увеличить число абонентов до 20.
Блок-схема устройства, состоящего из шести абонентских устройств, усилителя главного абонента с пультом вызова, блока питания и линий связи, показана на 1-й стр. вкладки. В исходном состоянии усилитель главного абонента находится в режиме приема, вызов главного абонента осуществляется нажатием кнопок К1—K6, находящихся у абонентов.

Вызов любого из шести абонентов производится нажатием соответствующей кнопки, находящейся на пульте главного абонента, при этом громкоговоритель главного абонента контактами переключателя П1б-П6б подключается на вход усилителя и работает как микрофон, громкоговоритель вызываемого абонента контактами П1а—П6а подключается к выходу усилителя, при этом контакты П1в—П6в разрывают цепь кнопок абонентов К1—К6 и ни один из них не может подключиться ко входу усилителя и работать на передачу во время работы главного абонента. При отпускании кнопки у главного абонента усилитель вновь переключается на прием. Следовательно, как у главного, так и у других абонентов можно говорить, только нажав кнопку и удерживая ее в этом положении.
На блок-схеме сплошной оранжевой линией обозначен путь прохождения сигнала для случая, когда главный абонент работает на передачу, абонент №1 — на прием. Пунктирной линией показан случай, когда на передачу работает абонент № 6, на прием — главный абонент. В устройстве предусмотрена возможность одновременного вызова всех абонентов, в этом случае при нажатии на пульте специальной кнопки «Общий вызов» подается питание на обмотку реле P1 тина РКМП, имеющего шесть групп контактов, работающих на переключение
Контактами этого реле все абоненты включаются на прием, режим оконечного каскада форсируется повышением напряжения питания. При этом выходная мощность усилителя увеличивается с 0,12 вт до 1,0 вт. Контакт переключателя П7в блокирует вызывные кнопки всех абонентов
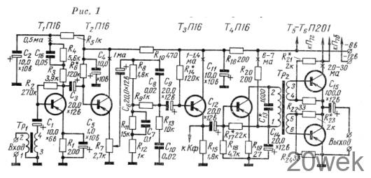
Усилитель, схема которого показана на рис. 1, имеет пять каскадов на транзисторах. Номинальная выходная мощность усилителя 0,12 вт, в форсированном режиме — 1-1,2 вт. Чувствительность с входа трансформатора Тр1 составляет 0,5-1,0 мв.

Повышающий трансформатор Тр1 служит для согласования небольшого сопротивления катушки динамического громкоговорителя с входным сопротивлением первого каскада усилителя.
Первый каскад усилителя на транзисторе Т1 с целью уменьшения частотных искажений, а также для увеличения входного сопротивления охвачен отрицательной обратной связью.
Используемые в абонентских устройствах громкоговорители типа 0,1 ГД-6, а также трансляционные громкоговорители в микрофонном режиме имеют резко выраженный завал верхних и нижних частот. Поэтому в усилителе применена коррекция верхних и нижних частот с помощью цепочки, состоящей из резисторов R8 R9, R11 Rl2 и R13 и конденсаторов С7, С8, C10 Для получения качественного звучания громкоговорителей необходимо, чтобы подъем на частоте 400 гц и 4000 гц был не менее 10 дб по отношению к частоте 1000 гц. G этой же целью коллекторная нагрузка первого каскада разделена и часть ее (резистор R4) зашунтирована конденсатором С16; резистор R1 в цепи эмиттера зашунтирован конденсатором сравнительно малой емкости (1 мкф).
Второй каскад на транзисторе Т2 является эмиттерным повторителем он согласовывает выходное сопротивление первого каскада со сравнительно низким сопротивлением корректирующей цепочки. В эмиттерную цепь транзистора Т.2 включен потенциометр R7, который является регулятором громкости.
Третий каскад на транзисторе Т3 является также эмиттерным повторителем, согласовывающим сравнительно высокое выходное сопротивление корректирующей цепочки с низким входным сопротивлением иредоконечного каскада.
Выходной каскад собран по бестрансформаторной двухтактной схеме на двух мощных транзисторах типа П201 (T5 и T6).
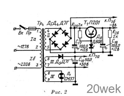
Питание всего переговорного устройства осуществляется от сети переменного тока 127/220 в через выпрямитель, смонтированный внутри корпуса усилителя главного абонента.» В качестве стабилизатора напряжения применен транзистор T7 типа П201, опорное напряжение создается на стабилитроне Д6 типа Д808, Принципиальная схема выпрямителя показана на рис. 2.

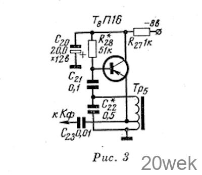
В переговорном устройстве имеется генератор, синусоидальных колебаний 400 гц, с помощью которого производится тональный вызов одного или одновременно нескольких абонентов. Генератор собран на транзисторе Т8 (рис. 3) по схеме с автотрансформаторной связью. Частота колебаний определяется данными резонансного контура, образованного индуктивностью обмотки Тр 5 и конденсатором С22.

Конструкция
Абонентские устройства смонтированы в стальных корпусах, общий вид которых показан на вкладке.
Усилитель с блоком питания собран на печатной плате А размером 190X110 мм. Мощные транзисторы Т5, T6 и T7 установлены непосредственно на печатной плате без радиаторов, так как они работают в облегченном режиме.
Для всех трансформаторов, кроме Тр4, использованы пластины и каркасы от малогабаритных согласующих или выходных трансформаторов. Данные трансформаторов приведены в таблице.

Конденсаторы С15, С17, С18, С19 могут быть составлены из нескольких конденсаторов, включенных параллельно. Резисторы могут быть типа МЛ Т-0,25 или УЛМ.
Транзисторы Т1—Т4 и Т8 типа П16, но могут быть применены транзисторы типа П13—П15 или П39-П41 (МП39—МП41). Коэффициент усиления транзисторов Т2— Т4, Т7 и Т8 может быть в пределах 20—40. Транзистор Т1 должен иметь коэффициент усиления 80—100 и малый коэффициент шума. Коэффициент усиления транзисторов T5 и Т8 может лежать в пределах 20— 40, для обоих транзисторов он должен быть примерно одинаковым, разница не должна превышать 30%. Вместо транзисторов типа П201 могут быть применены транзисторы типа П201А, П202, П203 с такими же коэффициентами усиления
Генератор смонтирован на печатной плате Б размером 45X45 мм и установлен в блоке над диодами Д1— Д4. Чертеж монтажной платы показан на вкладке. Если для абонентских устройств будут использованы трансляционные громкоговорители, их трансформаторы необходимо перемотать, первичная обмотка должна содержать 100 витков провода ПЭЛ или ПЭВ диаметром 0,4—0,5 мм, вторичная— 400 витков провода того же типа диаметром 0,15—0,2 мм.
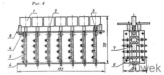
Конструкция кнопочного переключателя для пульта главного абонента, рассчитанного на подключение шести абонентов, показана на рис. 4. Чертежи деталей переключателя даны на рис. 5. В качестве неподвижных контактов можно применить контакты от галетного переключателя.


Налаживание
Налаживание переговорного устройства начинается с подгонки режимов по постоянному току. В зависимости от параметров примененных транзисторов может потребоваться подбор величин резисторов, отмеченных на схеме звездочкой.
Выпрямитель наладки не требует, необходимо только проверить величину пульсации на выходе фильтра при максимальном токе нагрузки. Для этого параллельно резистору R26 подключают резистор с сопротивлением 51 ом (при этом ток нагрузки будет равен 160 ма) и измеряют ламповым вольтметром переменное напряжение пульсации на нагрузке. Если напряжение пульсаций превышает величину 0,1 в, емкость конденсатора С18 следует увеличить. После этого можно подать питание от выпрямителя на усилитель и приступить к его настройке. Лучше настраивать усилитель с помощью звукового генератора и осциллографа. При отсутствии приборов усилитель можно настроить, тщательно подобрав режимы по постоянному току предоконечного и оконечного каскадов, так как первые три каскада некритичны к величинам резисторов, определяющих режим работы.
Рекомендуется следующий порядок налаживания усилителя. На первичную обмотку переходного трансформатора Тр2 через конденсатор емкостью 20—30 мкф подают напряжение звуковой частоты (1000 гц) величиной 4—5 в. На выход усилителя вместо громкоговорителя включают резистор сопротивлением 10 ом. Наблюдение за сигналом на выходе производят по экрану осциллографа, подключенного параллельно этому резистору. Подбором резисторов R21 и R23 необходимо добиться, чтобы на синусоиде не было «ступенек» и обе полуволны синусоиды были одинаковыми по величине, а ток покоя оконечных транзисторов был не более 20—30 ма (режим класса AB1). Неискаженное переменное напряжение на нагрузке должно быть порядка 1,8-5- 2,0 в при напряжении питания 8 в или 3-5-3,5 в при напряжении питания 12 в.
При отсутствии приборов правильность режима определяется величиной тока покоя и напряжения между коллектором и эмиттером транзистора Т6, при отсутствии сигнала оно должно быть равно половине напряжения источника питания.
После настройки оконечного каскада напряжение звуковой частоты 0,05 в подают на базу транзистора Т4 и изменением сопротивления резистора R17 добиваются наибольшего усиления при наименьших искажениях.
При настройке без приборов устанавливают коллекторный ток транзистора Т4 равным 6—7 ма. Режимы транзисторов T1Т2 и Т3 устанавливают подбором резисторов R2, R6 и R14 в базовых цепях этих транзисторов. Значения коллекторных токов этих транзисторов показаны на схеме (рис. 1).
После установки режимов транзисторов по постоянному току необходимо тщательно проверить частотную характеристику, так как от нее зависит качество звучания и разборчивость сигнала при использовании электродинамических громкоговорителей в качестве микрофона. Для этого напряжение звуковой частоты подают на вторичную обмотку трансформатора Tp1 а осциллограф подключают параллельно резистору R15 в эмиттерной цепи транзистора T3. В случае отсутствия требуемого подъема частотной характеристики на частотах 400 гц и 4000 гц необходимо ’ подобрать элементы корректирующей цепочки, а также корректирующие конденсаторы в первом каскаде усилителя. Для подъема характеристики в области низких частот (снижения коэффициента усиления в области средних частот) следует увеличить емкости С16 и С7; для подъема характеристики в области высоких частот следует уменьшить емкость С5 и С10
При настройке всего переговорного устройства в целом, особенно при большой длине и малом сечении соединительных проводов, необходимо учитывать, что во время передачи с главного пульта из-за большого тока сигнала, потребляемого абонентом (абонентское устройство представляет собой малое сопротивление нагрузки), на проводах линии будет происходить сравнительно большое падение напряжения сигнала. В режиме же передачи этим падением напряжения можно пренебречь, так как в данном случае сопротивление нагрузки (вход усилителя) значительно больше омического сопротивления соединяющих проводов. Поэтому в цепи сигнала «Передача» абонентов (кнопки К1—K6) необходимо установить потенциометры, при помощи которых можно ослабить сигнал, поступающий от абонента, чтобы громкоговоритель главного абонента работал без перегрузки.
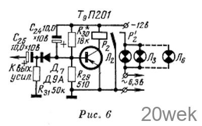
При настройке генератора синусоидальных колебаний (генератора тонального вызова) изменением сопротивления резистора R28 добиваются правильной синусоидальной формы генерируемых колебаний, а изменением емкости С22 устанавливают частоту генерации 400 ±50 гц. В заключение приводится описание небольшого дополнительного устройства (рис. 6), которое хотя и требует четвертого провода для соединения главного абонента с абонентами, но создает значительные удобства при эксплуатации переговорного устройства. Принцип действия этого устройства основан на том, что при любой связи на выходе усилителя имеется переменное напряжение НЧ. Это напряжение, приложенное к цепи базы транзистора Т9, вызывает изменение его коллекторного тока и срабатывание реле Р2 типа РЭС-6. Своими контактами реле замыкает цепь питания ламп, установленных в абонентских устройствах. Мигание ламп сигнализирует о том, что линия связи с главным абонентом занята.

