ТЕРМЕНВОКС НА ТРАНЗИСТОРАХ
Е. Бондаренко, Радио №10/1965, ст.33
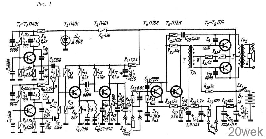
Транзисторный терменвокс (рис. 1), как и ламповый (см. «Радио», 1964, № 10), состоит из двух генераторов высокой частоты, детектора и манипулятора.

Оба высокочастотных генератора собраны на транзисторах Т1 и Т2 по схеме с общей базой и емкостной обратной связью. Для стабилизации режима генераторов в цепи баз включены делители напряжения, а коллекторное напряжение стабилизировано диодом Д808. Из нескольких экземпляров диодов Д808 желательно выбрать стабилитрон с самым низким напряжением стабилизации. Для уменьшения габаритов инструмента в схемах генераторов отсутствуют конденсаторы переменной емкости. Грубая настройка генераторов производится сердечниками катушек L1 и L2, а точная подстройка перед исполнением — изменением длины телескопической антенны А.
На транзисторе Т3 собран усилитель ВЧ. Его частотная характеристика имеет подъем на частотах настройки контуров в цепи эмиттера. Контур L4С17 выделяет первую гармонику, а контур L5C18 можно настраивать на высшие гармоники высокочастотных генераторов и тем самым изменять тембр звучания инструмента. С триодного детектора, собранного на транзисторе Т4, низкочастотный сигнал через педальный регулятор громкости R20 поступает на трехкаскадный усилитель НЧ. Схема этого усилителя аналогична схеме усилителя НЧ приемника «Спидола», причем транзисторы Т5 и Т6 играют роль манипулятора. Напряжение питания подводится к транзисторам через кнопку Kн1, позволяющую прекращать звучание инструмента на время пауз. Необходимо отметить, что выходная мощность примененного усилителя достаточна в условиях небольшой комнаты. При концертном исполнении выходное напряжение с гнезд Гр1 необходимо подавать на более мощный усилитель.

Все катушки инструмента намотаны на унифицированных полистироловых каркасах с сердечниками Ф-600. Катушки и L2 содержат по 4X55 витков провода ЛЭШО-5Х 0,05, L3 — 3X 1000 витков провода ПЭЛ-0,06, L4 — 4Х 60 витков провода ЛЭШО-5Х0.05 и L5—4X50 витков этого же провода. Низкочастотные трансформаторы Тр1 и Тр2, громкоговоритель Гр1 и антенна А — применены от приемника «Спидола». Трансформаторы собраны на сердечниках из пермаллоевых пластин Ш-8, толщина пакета 8 мм. Обмотка I трансформатора Тр1 содержит 2200 витков провода ПЭЛ-0,1, а обмотка II—2Х 480 витков провода ПЭЛ-0,14. Обмотка I трансформатора Тр2 состоит из 2X350 витков провода ПЭЛ-0,18, а обмотка II — из 92 витков провода ПЭЛ-2Х0,29. Громкоговоритель — типа 1ГД—1ВЭФ с сопротивлением звуковой катушки 3,5 ом. Телескопическая антенна состоит из 8 секций длиной по 120 мм. Конденсатор переменной емкости С18 можно применить от любого малогабаритного приемника, включив параллельно обе его секции.
Терменвокс питается от двух батарей типа КБС-Л-0,5, соединенных последовательно.
