ТЕРМЕНВОКС
И. СИМОНОВ, А. Шиванов, Радио №10/1964, ст.36
Начался концерт. В центре эстрады стоит небольшой ящик. С правой стороны этого ящика установлена вертикальная антенна (штырь). Слева — металлическое кольцо. К инструменту подходит музыкант. Его руки приближаются к антенне и кольцу, и вы слышите красивую, плавно льющуюся мелодию. Ее звучание напоминает то человеческий голос, то флекстон (сейчас этот инструмент почти забыт), а временами пилу, на которой играют смычком.
Каким же образом удалось музыканту управлять инструментом на расстоянии? Как работает этот «неприкасаемый» инструмент? Для ответа на эти вопросы нужно вспомнить, как возникают электрические колебания в генераторах звуковой частоты. Рассмотрим схему такого устройства (рис. 1). Генератор фиксированной частоты ГФ настроен на 100 000 гц. Частота второго генератора ГП изменяется конденсатором переменной емкости в пределах от 100 040 гц до 104 000 гц. Если выходы генераторов соединить со входом детектора Д, то наивысшая звуковая частота, полученная после детектора, будет равна 104 000—100 000 = 4 000 гц, а частота самого низкого звука 100 040—100 000 = 40 гц.

Спрашивается, нельзя ли взять готовый генератор звуковой частоты и, вращая его ручку настройки, сыграть мелодию? Лучше всего ответить на такой вопрос словами А. П. Чехова: «Можно, но не нужно». Дело в том, что, во-первых, для музыканта оказывается более удобным поступательное движение рук, а не вращательное. Во-вторых, для оживления мелодии нельзя даже на протяжении одного звука оставлять его частоту неизменной. Звук должен пульсировать, жить. Поэтому чтобы получить вибрирующий тон скрипач, например, покачивает пальцем (прием вибрато).
Как же управлять звуком интерференционного генератора, чтобы это было удобно для исполнителя-музыканта. Впервые ответ на этот вопрос дал в 1921 году советский физик Л. С. Термен. В инструменте, названном им терменвоксом, небольшой конденсатор образуется ладонью руки (одна пластина) и антенной (вторая пластина).
Конденсатор «человек — корпус инструмента» оказывается соединенным последовательно с конденсатором «человек — антенна», а оба они подключаются параллельно катушке индуктивности.
Эта катушка имеет достаточно сильную связь с контурной катушкой генератора инструмента, и в результате небольшие Изменения емкости конденсатора «человек —- антенна» позволяют изменять частоту генератора в нужных пределах.
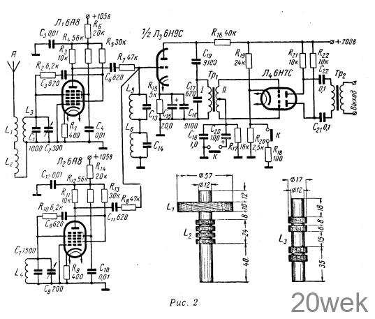
Теперь обратимся к принципиальной схеме терменовокса (рис. 2) Движением руки исполнитель управляет частотой транзитронного генератора, работающего на лампе Л1 Другой генератор, собранный на лампе Ля, дает фиксированную частоту порядка 100 кгц.

Выходы обоих генераторов соединены через конденсаторы С6 и С11 и сопротивления R7, R8, последние позволяют резко ослабить взаимодействие выходных цепей генераторов, которое может привести к захватыванию частоты. Конденсатор С8 предназначен для настройки инструмента.
Точка соединения сопротивлений R7 и R8 подключена ко входу анодного детектора, работающего на половине лампы Лз типа 6Н9С. Высокочастотная составляющая тока в анодной цепи детектора подавляется конденсатором C17 — 620 пф, емкость которого подбирается с таким расчетом, чтобы он представлял достаточное сопротивление для высших частот звукового диапазона (порядка 4 кгц).
На входе детектора включены контуры, с помощью которых можно управлять тембром. Контур L5C13 предназначен для выделения основной частоты (первой гармоники). Предположим, что этот контур настроен на частоту 102 000 гц. Если его добротность окажется не , больше 25, то неравномерность амплитуды (в полосе от 100 000 до 104 000 гц) будет не более 3 дб. На выходе детектора после фильтрации высокой частоты блокировочным конденсатором выделяется основной тон или первая гармоника частоты фиксированного генератора.
Второй контур LбС14 настроен на частоту, которая на октаву выше основной, на нем выделяется вторая гармоника частоты генератора. Усложнив этот инструмент, таким же образом можно выделить третью и другие гармоники. Но для этого необходимо, чтобы оба генератора давали на выходах не только основные частоты, но и все необходимые гармоники. Этого, по-видимому, можно добиться, снижая напряжения только на анодах генераторных ламп и не меняя его на остальных электродах.
На выходе детектора включена первичная обмотка межлампового трансформатора Тр1. С двух секций его вторичной обмотки подается противофазное напряжение на сетки лампы, работающей в двухтактном каскаде предварительного усиления звуковой частоты.
Включается и выключается звук в терменвоксе контактом K без каких-либо щелчков.
В исходном состоянии, когда контакт K разомкнут, на катод лампы Л4 подается большее положительное напряжение с делителя R19 и R20 и обе половины лампы Л4 заперты. При замыкании контакта K отрицательное напряжение на сетках ламп двухтактного каскада уменьшается и лампа Л4 отпирается. Время установки нормального анодного тока зависит от постоянной времени цепочки R17 C18.
Таким образом, здесь осуществляется мягкая атака звука (звук возникает плавно). Время атаки можно менять, изменяя величину конденсатора C18. В схеме манипулятора, выполненного на двойном триоде, трудно регулировать затухание звука. В этом отношении представляет интерес аналогичная схема на двух пентодах с переменной крутизной. Подобная схема была описана в журнале «Радио» №3 за 1963 г. в статье А. Степаньянца и В. Спицына «Электромузыкальный инструмент».
Антенна состоит из двух дюралевых трубок длиной 340 мм и 320 мм, одна из которых вставляется в другую. Трансформатор Тр1 намотан на сердечнике из пластин Ш15 толщина набора 16 мм. Его первичная обмотка I содержит 2700 витков провода ПЭЛ 0,07, а обмотка II — 4400-ф 4400 витков того же провода. Первичная обмотка выходного трансформатора Тр2 содержит 2X100 витков провода ПЭЛ0,1, а вторичная — 100 витков провода ПЭЛ0,64. Катушка L1 содержит 1600 витков провода ПЭЛ 0,15 (индуктивность 57 мгн), катушка L2—127×4 витков, a Ls—127×4 витков провода ЛЭШО 7×0,7. Для катушки L4 использованы катушки фильтра ПЧ от приемника „Урал-47“, у которых обмотки соединены последовательно. Катушка L5 содержит 250, a L6—160 витков провода ПЭВ 0,15. Обе катушки размещены в сердечниках типа СБ-2а. Конденсаторы С13 и С14 — по 200 пф





