Сувенир
В. БОРОДИН, В. ЕФРЕМЕНКО, В. ШИШКИН, Радио №1/1967, ст.41
Переносный радиоприемник «Сувенир» представляет собой супергетеродин, собранный на 10 транзисторах и двух кристаллических диодах, и предназначен для работы в длинноволновом, средневолновом и двух полурастянутых коротковолновых диапазонах.

Основные технические данные
Диапазон волн: длинные волны (ДВ) — 735,3-2000 м; средние волны (СВ) — 186,9-571,4 м; короткие волны КВ-II—46,1 — 77 м; КВ-1 — 24,8-44,1 м.
Реальная чувствительность по диапазонам (при отношении Uс/Uш>=10) не хуже: ДВ—2,0 мв/м; СВ — 1,0 мв/м; КВ — 100 мкв.
Избирательность по соседнему каналу при расстройке на + 10 кгц не хуже 40 дб.
Полоса воспроизводимых частот — 200-4000 гц. Номинальная выходная мощность 150 мвт. Ток, потребляемый приемником в режиме молчания при напряжении батареи 9 в, не более 6 мА, при номинальной выходной мощности — 40—50 ма.
Приемник питается от двух батарей КБС-Л-0,5, соединенных между собой последовательно. Работоспособность приемника сохраняется при напряжении источника питания не ниже 4 в.
Габариты приемника — 260 X 160 X 67 мм, вес с источником питания — 1,6 кг.
Принципиальная схема
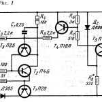
Принципиальная схема приемника приведена на рис. 1 на 3-й странице обложки.

В диапазонах длинных и средних волн прием осуществляется на магнитную антенну, выполненную на ферритовом стержне марки Ф-600, а на коротковолновых диапазонах — на выдвижную телескопическую антенну. Связь всех входных контуров со входом преобразовательного каскада трансформаторная.
Преобразовательный каскад собран на транзисторе T1 типа П423. Напряжение сигнала подается в цепь базы, а гетеродина — в цепь эмиттера (через конденсатор С31) транзистора Т1. Нагрузкой каскада служит контур L15С32, который для расширения полосы и повышения устойчивости работы преобразователя зашунтпрован резистором R17.
Гетеродин собран на отдельном транзисторе Т5 типа П423, включенном по схеме с общей базой. Напряжение гетеродина в цепь эмиттера преобразователя на диапазонах ДВ и СВ подается по автотрансформаторной схеме, на диапазонах КВ — по трансформаторной.
Для обеспечения необходимой избирательности в приемнике использован пьезокерамический фильтр типа ПФ1П-2, выполняющий роль фильтра сосредоточенной селекции. Полоса фильтра на уровне 6 дб — 8,5-12,5 кгц, избирательность при расстройке на + 10 кгц — 40 дб, средняя частота — 465 + 2 кгц, неравномерность в полосе фильтра 3 дб, сопротивление входное — 1,5 ком, выходное — 600 ом.
Усилитель ПЧ трехкаскадный. Он собран на транзисторах Т2— Т4 типа П422, включенных по схеме с общим эмиттером. Первый и третий каскады усилителя резонансные, второй — реостатный. Введение между первым и третьим каскадами УГПЧ реостатного каскада позволило повысить устойчивость работы усилителя и отказаться от применения цепей нейтрализации. Для расширения полосы тракта УПЧ и повышения его устойчивости контур L17С34 зашунтироваи резистором R21. Стабилизация режима транзисторов УПЧ осуществляется цепочками R20, R32, Сзз — в первом: R24, C37 — во втором и R27С39— в третьем каскадах усилителя, включенными в цепи эмиттеров, а также резисторами R19, R23 и R26, включенными в цени баз транзисторов.
Детектор выполнен на диоде Д2 типа Д2В. Для уменьшения нелинейных искажений при малых сигналах на диод подано в обратном направлении напряжение, создаваемое током эмиттера транзистора Т2 на резисторе R32.
Напряжение АРУ через фильтр R31 С45 подается на базу транзистора первого каскада УПЧ (T2).
Питание транзисторов усилителя ПЧ осуществляется от общего источника питания через фильтры R22 С35 (T2, T3) и R28C41(T4)- Напряжение смещения на эти транзисторы подается со стабилизатора напряжения, собранного на транзисторе T3 типа П40. Стабилизация осуществляется с помощью кремниевого диода Д1 (Д101), включенного в цепь база- эмиттер транзистора Т6 и резисторов R10 , R11. Стабилизатор служит также для стабилизации напряжения источника питания при разрядке батарей и питания стабилизированным напряжением коллекторных и базовых цепей каскадов преобразователя и гетеродина.
Усилитель НЧ состоит из двух каскадов предварительного усиления на транзисторах T7, T8 типа П41 и двухтактного оконечного каскада, собранного на транзисторах T9, T10 (П41). Первые два транзистора имеют гальваническую связь между собой, что обеспечивает высокую стабильность работы.
Напряжение начального смещения па базах транзисторов T7 и T9, T10 обеспечивается за счет напряжения, создаваемого на резисторах R40, R42 и R43 эмиттерным током транзистора T8. Частотная характеристика усилителя НЧ в области нижних звуковых частот определяется фильтром R41, С48, а коррекция частотной характеристики усилителя осуществляется конденсаторами С47, С52 и С53. Переменный резистор R38 является регулятором тембра по высоким частотам. На частоте 4000 гц регулировка тембра составляет не менее 6 дб.
Второй и оконечный каскады усилителя НЧ охвачены отрицательной обратной связью (R45, C51).
Конструкция и детали
Футляр приемника изготовлен из ударопрочного цветного полистирола. На передней панели расположена шкала приемника, проградуированная в метрах. Органы управления (регулятор громкости с выключателем питания, регулятор Тембра и ручка настройки) расположены на боковой стенке корпуса, а переключатель диапазонов — на его задней стенке. В правом верхнем углу корпуса расположена телескопическая антенна. Для переноски приемника имеется жесткая ручка, оформленная цветной пластмассой. В стационарных условиях ручка убирается в футляр. Гнезда «антенна» и «земля» расположены на: правой боковой стенке футляра, а гнездо для подключения телефона — на задней стенке.
Монтаж приемника выполнен на печатной плате из фольгированного гетинакса. Расположение деталей на плате показано на рис. 2 на 3-й странице обложки.
Антенные катушки диапазонов ДB и СВ намотаны на подвижных каркасах, размещенных на стержне из феррита Ф-600 диаметром 8 и длиной 160 мм. Конструкция катушек приведена на рис. 1.

Катушки входных контуров диапазонов КВ и гетеродинные катушки диапазонов ДВ, СВ и КВ намотаны на каркасах из полистирола. Катушки диапазонов ДВ и СВ имеют, подстроечные сердечники из феррита Ф-600, а диапазонов КВ — из феррита Ф-100. Конструкция катушек приведена на рис. 2.

Все контурные катушки фильтров ПЧ намотаны на броневых сердечниках из феррита Ф-600 с внешним диаметром 8 мм. Конструкция катушек показана на рис. 3. Намоточные данные всех катушек приведены в табл. 1

Согласующий трансформатор Тр1 выполнен на сердечнике из пермаллоевых пластин Ш6 X 6 мм, а выходной трансформатор — на сердечнике Ш6 X 12 мм. Намоточные данные трансформаторов приведены в табл. 2

В приемнике применены резисторы типа УЛМ, за исключением R33 (СПЗ-4в), R38 (СПЗ-4а) и R44 (проволочный); конденсаторы типа КТ-1а, К10-7В, ПМ-2, К50-3. Подстроечные конденсаторы C6, С7, С19, С20 — проволочные; С2, С5, С22, С24 — типа КПК-МП. Блок конденсаторов переменной емкости С9 — типа КПЕ-5 (9-280 пф).





