СТЕРЕОФОНИЧЕСКИЙ УСИЛИТЕЛЬ С АКУСТИЧЕСКИМ АГРЕГАТОМ
Ю. Романюк, Радио №10/1965, ст.47, №11/1965, ст.42
Электрические и акустические параметры усилителя удовлетворяют требованиям, предъявляемым к стереоусилителям высшего класса. Полоса эффективно воспроизводимых звуковых частот 30—15000 гц. Полоса пропускания электрического тракта каждого канала 20—30000 гц. Частота разделения спектра на низшие и высшие частоты равна 250 гц.
Номинальная выходная мощность общего усилителя низших частот 6 вт при коэффициенте нелинейных искажений не более 0,1%. Выходная мощность усилителей каналов высших частот 2 вт при коэффициенте нелинейных искажений 0,5%. Чувствительность по входу на частоте 1 кгц порядка 80 мв—200 мв (устанавливается для каждого источника сигнала отдельно). Уровень фона при открытом входе и максимальном усилении — 70 дб. Переходное затухание между каналами на всех частотах выше 300 гц не менее 40 дб.
Кроме раздельных регуляторов низших и высших частот, в усилителе применен трехступенчатый «селектор тембра». («Речь», «Концерт», «Бас»), что позволяет изменять частотную характеристику усилителя в очень широких пределах: от —10 до +30 дб на частоте 30 гц и от —25 до +25 дб на частоте 10000 гц.
Регулировка громкости плавная, частотнозависимая. Блок-схема стереоусилителя приведена на рис. 1. Усилитель имеет два канала усиления . высших частот и один канал усиления низших частот.

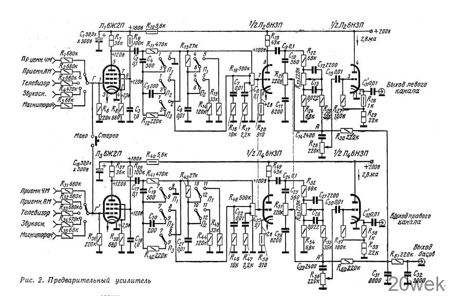
Предварительный усилитель. Каждый канал предварительного усилителя имеет три каскада (рис, 2). Первый каскад собран на пентоде 6Ж2П, он рассчитан на получение значительного усиления, чтобы, несмотря на потери в «селекторе тембра», получить на входе следующего каскада напряжение 500 мв (при частоте 1 кгц и напряжении на первой сетке 6Ж2П, равном 50 мв). Левый триод лампы 6НЗП в основном компенсирует потери в цепях плавной регулировки тембра (R21, R23 и R551, R53)- Катодный повторитель (правый триод 6НЗП) позволяет применить на выходе соединительный кабель любой длины без какого-либо влияния на частотный спектр передаваемого сигнала.

Фильтр низших частот, образованный сопротивлениями R30, R6О, R61 (220 ком) и конденсаторами С31, C32 (3000 пф), срезает верхние частоты (выше 250 гц) и пропускает на вход общего низкочастотного усилителя смесь низших частот обоих каналов. Цепи C14 R26 И C29 R56 пропускают частоты выше 250 гц, которые после катодных повторителей поступают к соответствующим оконечным усилителям стереоканалов.
Чувствительность предварительного усилителя со входа пьезоэлектрического звукоснимателя — 150. мв, со входа магнитофона—80 мв, со входов приемников AM, ЧМ и телевизора — 200 мв (значение чувствительности приводится для напряжения на выходе предварительного усилителя 500 мв при частоте 1000 гц.
Характеристики трехступенчатого селектора тембра приведены на рис, 3. Плавные регуляторы низших (R23 R53) и высших (R21, R51) частот производят дополнительные изменения (в пределах ±10 дб) частотной характеристики усилителя. Регулятор громкости R18, R48 для меньшей чувствительности к наводкам установлен на входе второго каскада, а плавные регуляторы тембра на его выходе. Цепи плавной регулировки тембра имеют малое общее сопротивление, чтобы монтажная емкость не вносила изменений в частотную характеристику.

Регулятор баланса позволяет уравновесить усиление обоих — каналов. Он состоит из потенциометров, (линейных) R26 R56 с концентрическими осями. При воспроизведении монофонических программ оба канала предварительного усилителя соединяются параллельно переключателем «моно-стерео».
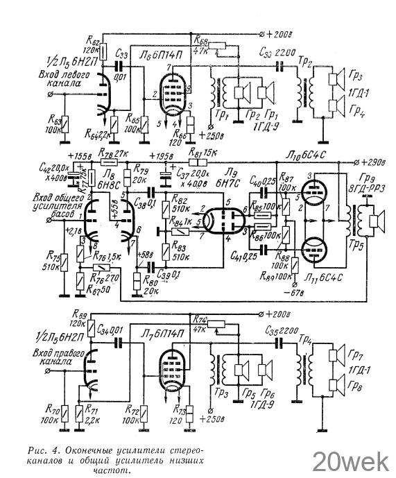
Оконечные усилители стереоканалов (рис. 4) Двухкаскадные. На одном триоде лампы 6Н2П собран усилитель напряжения. Усилитель мощности (пентод 6П14П) для уменьшения нелинейных искажений работает в режиме класса А. Со вторичных обмоток трансформаторов Тр1 и Тр3 через переменные резисторы сопротивлением 47 ком в катодные цепи лампы 6Н2П подается напряжение отрицательной обратной связи. Величина этой связи подбирается при регулировке так, чтобы получить номинальную выходную мощность каждого канала 2 вт при коэффициенте нелинейных искажений менее 1% и входном напряжении 500 мв (на частоте 1000 гц).

В целях расширения полезной зоны стереоэффекта на выходе каждого канала имеется четыре громкоговорителя, воспроизводящих определенный спектр частот. Среднечастотные громкоговорители Гр1, Гр2, Гр5, Гр6 (1 ГД-9) эффективно воспроизводят частоты от 250 гц до 10 кгц. Высшие частоты (5—15 кгц) подаются на высокочастотные громкоговорители Гр3, Гр4, Гр7, Гр8 (типа 1 ГД — 1 ВЭФ) с трансформаторов Тр2, Тр4, включенных в анодные цепи ламп 6П14П через конденсаторы емкостью 2200 пф. Наличие двух среднечастотных и двух высокочастотных громкоговорителей в каждом канале позволяет создать соответствующую характеристику направленности на высших звуковых частотах, что значительно улучшает художественность и качество восприятия музыкальных произведений, особенно исполняемых большими ансамблями (симфонические оркестры, хоры и т. п.). При этом следует иметь в виду, что при такой характеристике направленности стереоэффект ощутим лишь в помещениях площадью не менее 18—20 м2.
Общий усилитель низших частот
Наибольшие амплитуды звуковых колебаний приходятся на низшие частоты, поэтому оконечный усилитель НЧ должен быть нечувствителен к перегрузкам. Этого можно достигнуть, создав некоторый запас мощности усилителя, а также применив лампы с наибольшей площадью рабочей области характеристики, в которой лампа работает без искажений. Этими соображениями объясняется выбор ламп октальной серии типа 6Н8С, 6Н7С и 6С4С. При использовании триодов 6С4С, обладающих небольшим внутренним сопротивлением (840 ом), можно получить очень малое выходное сопротивление усилителя, которое хорошо согласуется с сопротивлением звуковой катушки, громкоговорителя, обеспечивает мягкое (без бубнения) воспроизведение низших частот. Левый триод лампы 6Н8С служит для усиления напряжения, правый является фазоинвертором. На лампе Л9 6Н7С собраны усилители, создающие напряжение, необходимое (около 30 в) для работы двухтактного каскада усилителя мощности на триодах 6С4С. Двухтактный каскад работает в режиме АВ1, при этом нелинейные искажения и анодный ток покоя незначительны.
Чувствительность усилителя 1в при выходной мощности 6 вт и обратной связи (со вторичной обмотки трансформатора, Тр5 в катодную цепь левого триода 6Н8С) глубиной 20 дб. Нелинейные искажения при этом менее 0,1%, а коэффициент демпфирования

В случае отсутствия ламп 6С4С в двухтактном каскаде можно применить две лампы 6Н6П (по два параллельно соединенных триода в каждом плече). При использовании ламп 6Н6П в усилителе производятся следующие незначительные изменения: напряжение питания уменьшается с 290 до 250 в; напряжение смещения снижается с —67 до —15 в; чтобы лампы 6Н6П не перегружались (для них требуется меньшее напряжение возбуждения), на входе усилителя лучше поставить делитель напряжения; с лампой 6Н6П вместо 6Н8С и 6Н7С хорошо работает лампа 6Н1П.
Акустический агрегат. Для эффективного воспроизведения низших частот в усилителе применен громкоговоритель 8ГД-РРЗ (от приемника «Рига-10»), имеющий диффузор диаметром 25 см и резонансную частоту 30 гц. Этот громкоговоритель установлен в фазоинверто- ре, который представляет собой закрытый ящик, имеющий вблизи громкоговорителя отверстие, примерно равное площади диффузора. Внутренняя поверхность фазоинвертора для устранения дополнительных резонансов покрыта звукопоглощающим материалом (войлоком, ватой). Ящик изготавливается из сухих еловых досок толщиной 25 см. При использовании другого громкоговорителя объем ящика и площадь от верстия должны быть изменены. Вполне достаточные сведения по этому вопросу можно найти в книге «Высококачественные акустические системы» (авторы А. Дольник и М. Эфрусси).
Среднечастотные громкоговорители 1ГД-9 каждого канала помещены в закрытый ящик размером 430 X 300 X 70 мм.
Высокочастотные громкоговорители 1ГД-1 устанавливаются в ящики замкнутого объема размером НО X 110Х 80 мм.
Конструкция. Весь усилитель состоит из трех блоков: блока предварительных усилителей, блока регулировок и блока оконечных усилителей

Предварительный усилитель смонтирован на гетинаксовой панели толщиной 1,5 мм с применением печатного монтажа. Размеры панели 180 X 160 мм. На этой панели размещаются лампы и детали, относящиеся к цепям питания.

Регуляторы громкости тембра и баланса вместе с относящимися к ним деталями и переключателями селектора тембра помещены в отдельном хорошо заэкранированном блоке небольших размеров. Один из возможных вариантов компоновки предварительного усилителя в радиокомбайне представлен на рис. 6. Все оконечные усилители монтируются на шасси из дюралюминия толщиной 1,5 мм (рис. 7). Общий вид блока оконечных усилителей показан на рис. 8.


Детали. Для плавной регулировки тембра в предварительном усилителе применены спаренные потенциометры на одной оси (типа СП-ЗА), разность величин которых не должна превышать 5 ком при любом значении угла поворота оси. Для регулировки громкости в усилителе применяются потенциометры R18, R48 с отводами (от приемников «Фестиваль», «Сакта»). Можно также применить и другие потенциометры сопротивлением от 470 до 680 ком, но обязательно с кривой изменения типа В. Эти потенциометры должны регулироваться одной осью и на одинаковую величину при любом повороте оси. Одна из возможных конструкций такого узла описана в журнале «Радио» 1965, № 7.
Регулятор баланса позволяет раздельно регулировать усиление каналов. Он состоит из потенциометров (линейных) R2б, R56 с концентрическими осями (можно также применить два отдельных потенциометра), выведенными под шлиц.
Трансформаторы Тр1 и Тр3 выполнены на сердечниках из пластин Ш12, толщина набора 24 мм. Первичная обмотка содержит 2800 витков провода ПЭЛ 0,13, вторичная — 74 витка провода ПЭЛ 0,74. Высокочастотные трансформаторы Тр2 и Тр4 применены от приемников «Люкс», «Дружба», «Волга». Размеры сердечника Ш9 X 12. Первичная обмотка состоит из 2000 витков провода ПЭЛ 0,12, а вторичная из 23 витков провода ПЭЛ 0,51.
Низкочастотный трансформатор Тр4 собирается из пластин Ш32, толщина набора — 45 мм. Первичная обмотка состоит из 1400 X 2 витков провода ПЭЛ 0,25, вторичная из 125 витков провода ПЭЛ 0,74 (сопротивление звуковой катушки громкоговорителя Гр9 равно 12 ом)
В таблице 1 приведены намоточные данные вторичной обмотки трансформатора Тр5 для различных нагрузок.

Налаживание. Специфической трудностью при налаживании стереофонических усилителей является необходимость получения одинаковых характеристик обоих стереоканалов, так как от этого во многом зависит ощутимость стереоэффекта. Налаживание усилителя значительно облегчается, если лампы, конденсаторы и сопротивления обоих стереоканалов предварительно проверить на идентичность. В описываемом усилителе разница уровней громкости не превышала 2 — 3 дб при изменении сопротивления регуляторов громкости R18, R48 (управляемых одной осью) от максимальной величины на 20 дб. Рассогласование частотных характеристик на частотах 100 гц—15 кгц не превышало ±2 дб при любом положении регуляторов тембра.
Предварительный усилитель лучше налаживать в такой последовательности:
- Убедившись в правильности монтажа, подключить усилитель к источнику питания и ламповым вольтметром измерить напряжения на электродах ламп. Величины этих напряжений не должны сколько- нибудь значительно отличаться от указанных на схеме;
- Переключатель селектора тембра установить в положение «Выключено» (все подвижные контакты в левом положении), а переключатель «Моно—Стерео» в положение «Моно». К подвижному контакту переключателя Г подвести от звукового, генератора сигнал частотой 1 кгц напряжением 200 мв. Регуляторы R18, R48 установить в положение максимальной громкости и временно отпаять от них конденсаторы С7, C8, C22, C23. Ламповым вольтметром измерить напряжение сигнала на аноде лампы Л1, а затем на аноде лампы Л3. Разница этих напряжений устраняется изменением в небольших пределах сопротивления R7 или R37. Затем последовательно измеряются напряжения сигнала на сетках левых половин ламп Л2 и Л4, при этом если имеют место равенства с точностью до 2-3% (R11 = R41, R13 = R43 И С6 = С21), то эти напряжения будут одинаковыми. Выполнению равенств между указанными элементами нужно уделить особое внимание, так как без этого получить одинаковые частотные характеристики обоих каналов будет очень трудно. Затем напряжение сигнала измеряется поочередно на анодах левых половин ламп Л2 и Л4. Разница этих напряжений укажет на необходимость подбора сопротивления R19 или R49. Далее поворотом оси уменьшают до 50 коm величины сопротивлений R38, Напряжения сигнала на анодах левых триодов ламп Л2, Л4 при изменении уровня громкости не должны отличаться более чем на 2 дб. Подсоединение цепочек тонкомпенсации к регулятору громкости не должно увеличивать это отличие при любом положении оси регулятора, в противном случае, изменяя величины сопротивлений, следует сделать равными постоянные времени С7*R16= С22 *R46 и С8 • R17 = С2з •R47;
- Следующим этапом является налаживание «селектора теябра». Переключатель следует установить в положение «Речь». К управляющим сеткам входных ламп подать от звукового генератора сигнал частотой от 20 гц до 20 кгц напряжением 200 мв. Ламповым вольтметром измеряются напряжения этих частот поочередно на анодах левых половин ламп Л2 и Л4. Снятые характеристики должны быть одинаковыми и соответствовать кривой «Речь», показанной на рис. 3. Если характеристики каналов отличаются одна от другой на низких частотах, то следует подобрать величину сопротивления R15 или R45; разница на высших частотах устраняется подбором емкости конденсаторов С4 или С19. После того, как определились величины конденсаторов С4 и С19, переключатель ставят в положение «Бас» и возможное рассогласование частотных характеристик каналов на высших частотах устраняют подбором величин резисторов R21 или R42. Наконец, переключатель устанавливают в положение «Концерт» и также снимают частотные характеристики обоих каналов. Если эти характеристики отличаются друг от друга, то на высших частотах их выравнивают изменением емкости конденсаторов С5 или С20, а на низших изменением сопротивлений R14 или R44;

4. После этого подбирают элементы плавной регулировки тембра. Управляющие сетки левых половин ламп Л2 и Л4 соединяют временно вместе, и от звукового генератора к ним подводят напряжение 200 мв различных частот от 20 гц до 20 кгц. Ламповый вольтметр поочередно присоединяют к точкам A и A’. Поставив движки регуляторов высших и низших частот в среднее положение, добиваются одинакового уровня средних частот в обоих каналах. Для этого подбирают величины сопротивлений R22, R24 или R52, R54, до тех пор, пока напряжения в точках A и A’ частот 400 гц—5 кгц будут отличаться не более чем на 2 дб. После этого поворотом оси потенциометров R21, R51 проверяют диапазоны регулировки высших частот в обоих каналах. Если эти диапазоны окажутся различными, то изменяют соотношения конденсаторов C10/C11 или C25/C26 При этом нужно иметь в виду, что увеличение этих соотношений повышает подъем высших частот в соответствующем канале, уменьшение — снижает. Аналогично проверяют пределы регулировки низших частот при повороте оси потенциометров R23, R53. Увеличение отношений C13/C12 и C28/C27 повышает подъем низших частот в соответствующем канале, уменьшение — снижает. Следует заметить, что больших пределов плавной регулировки высших и низших частот добиваться не следует, так как это уже достигнуто в «селекторе тембра», достаточен диапазон ±(6-10 дб). Гораздо важнее, чтобы пределы регулировки в обоих каналах были одинаковыми (с точностью до 2 дб);
5. Последний этап в налаживании предварительного усилителя — подбор элементов в фильтрах высших и низших частот. Временно отсоединяют точку A от сопротивлений R21, R25, а точку А’—от R51, R55.
Сигналы различных частот от 20 гц до 15 кгц напряжением до 1 б подводят к точке A (А’). Регуляторы R26 и R56 ставят в верхнее (по схеме) положение. Вольтметр подсоединяют к выходу левого (правого) канала. Полученная характеристика должна иметь вид, показанный на рис. 9. Если характеристика какого-нибудь канала отличается от изображенной на рис. 9, то изменяют величину емкости конденсаторов С14 или С29. Очень важно, чтобы частотная характеристика фильтра низших частот мало отличалась от изображенной на рис. 10. Если частоту среза этого фильтра сделать более высокой, а спад менее крутым, то это приведет к «пролезанию» высших звуковых частот в общий канал басов и к «смазыванию» стереоэффекта. Теперь, устранив все те временные изменения, которые приходилось делать в процессе регулировки, проверяют предварительный усилитель окончательно. Его параметры должны мало отличаться от тех, которые указаны в общей характеристике.

Оконечные усилители, если они собраны из элементов, мало отличающихся от указанных в схеме, начинают работать сразу, и налаживание их несложно. Вся регулировка практически сводится к проверке режима ламп и подбору величины обратной связи. Все же может быть, что при проверке на идентичность оконечных усилителей обоих стереоканалов величины некоторых деталей нужно будет подбирать.





