СТАБИЛИЗАТОР НАПРЯЖЕНИЯ, ЗАЩИЩЕННЫЙ ОТ ПЕРЕГРУЗОК
Е. ДОДОНОВ, Радио №1/1967, ст.40
Защите от коротких замыканий и перегрузок транзисторных стабилизаторов напряжения надо уделять большое внимание. При уменьшении сопротивления нагрузки ток через мощные проходные транзисторы и нагрузку увеличивается. Если сопротивление нагрузки продолжает уменьшаться, то может наступить такой момент, когда мощность, рассеиваемая на проходных транзисторах стабилизатора, достигнет предельно допустимого уровня. Тогда даже небольшое увеличение тока нагрузки выведет стабилизатор из строя
В настоящее время разработано много методов’ защиты стабилизаторов напряжения от перегрузок, но все они требуют введения дополнительных устройств. Соблюдая определенные условия при конструировании стабилизаторов напряжения, можно; не применяя дополнительных узлов и деталей, добиться того, чтобы при перегрузках на выходе стабилизатор запирался. Это свойство стабилизатора должно быть заложено в самом принципе его работы.

Работа стабилизатора, схема которого показана на рис. 1, заключается в следующем. Напряжение обратной связи/ возникающее при сравнении выходного напряжения с эталонным, в противофазе подается через усилитель на выходной каскад. Таким образом стабилизатор охвачен глубокой отрицательной обратной связью. Можно добиться, чтобы при перегрузке обратная связь меняла знак (из отрицательной становилась положительной). При этом напряжение на выходе будет стремиться не к заданному значению, соответствующему нормальной работе стабилизатора, а к нулю. Тогда с уменьшением выходного напряжения будет пропорционально уменьшаться и коэффициент обратной связи. Такой стабилизатор подобно триггеру будет иметь два устойчивых состояния. Следовательно, он может находиться как в открытом, так и в закрытом состоянии. На рис. 2 показаны нагрузочные характеристики трех разных стабилизаторов.

Характеристика стабилизатора без защиты от перегрузок показана пунктирной линией, с ограничением тока — тонкой сплошной линией и характеристика предлагаемого стабилизатора — жирной линией.
Участок АВ совпадает у всех стабилизаторов. При токе нагрузки, превышающем уровень точки В, стабилизаторы ведут себя по-разному. У первого начинает падать напряжение, но растет ток, у второго падает напряжение, а ток почти не меняется. Выходное напряжение рассматриваемого стабилизатора вследствие изменения знака обратной связи стремится к нулю.
Обратный ’процесс Перехода из закрытого состояния в открытое, происходит в момент включения входного напряжения Если в результате перегрузки выхода стабилизатор закрылся, то нужно выключить и вновь включить вход стабилизатора. При нормальной нагрузке на выходе стабилизатор возобновит работу.
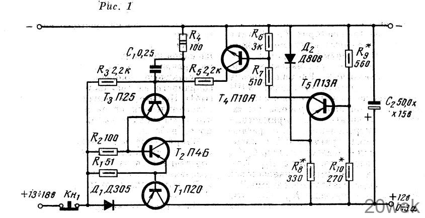
На рис. 1 показана конкретная схема стабилизатора, о котором только что говорилось. Он состоит из каскада сравнения выходного напряжения с эталонным (Т5); источника эталонного напряжения (диод Д2); трехкаскадного усилителя Т3, Т2) и выходного каскада (Т1). Чтобы стабилизатор работал по изложенному выше принципу, необходимо следующее. Каскад, в котором выходное напряжение сравнивается с эталонным (Т5), и стабилитрон (Д2) должны питаться только выходным напряжением стабилизатора. Ток выходного каскада (Т1) должен изменяться пропорционально току сравнивающего! каскада (Т5). Устойчивое состояние закрытого стабилизатора возникает в результате того, что транзистор выходного каскада (Т1) открывается при появлении выходного тока, отсутствующего, когда стабилизатор заперт. Чтобы стабилизатор перешел из закрытого состояния в рабочее, необходимо подать на выход стабилизатора начальное напряжение. Для этого служит конденсатор С1.
В момент включения входного напряжения конденсатор заряжается током цепи базы транзистора Т3. Импульс тока, возникший на конденсаторе и усиленный транзистором Т2, на короткое время откроет стабилизатор. Как только на выходе появится напряжение, через транзистор Т1 потечет ток, выходное напряжение будет стремиться увеличиться. С ростом выходного напряжения будет расти напряжение и на стабилитроне Д2., Как только стабилитрон откроется, дальнейший рост выходного напряжения прекратится, так как даже незначительный дальнейший рост напряжения вызовет запирание транзистора Т5. Конденсатор С1 не только служит источником запускающего импульса, но и устраняет самовозбуждение стабилизатора. Диод Д1 в цепи эмиттера транзистора Т1 нужен для создания смещения на базе этого транзистора. Это гарантирует устойчивость работы стабилизатора при малых, нагрузках на выходе.
Выходное напряжение можно регулировать подбором сопротивлений резисторов R9 и R10, которые в случае необходимости можно заменить потенциометрами. Предельное значение тока нагрузки, превышение которого вызовет запирание стабилизатора, можно изменять подбором сопротивления резистора R8.





