СПОРТИВНЫЙ КВ ПРИЕМНИК
И. ДЕМИДАСЮК, С. МАТЛИИ, Радио №9/1966, ст.18
Приемник позволяет наблюдать за работой любительских радиостанций на всех участках КВ диапазонов, отведенных для радиолюбителей: 3,5-3,65 Мгц (80 м); 7,0-7,1 МГц (40 м); 14,0-14,35 Мгц (20 м) и 21,0-21,45 Мгц (14 м), а также в диапазоне УКВ 28,0 -29,7 Мгц (10 м). Чтобы удобнее было настраивать его, все перечисленные участки диапазонов растянуты на всю шкалу. Чувствительность приемника на любом из указанных диапазонов во время приема телеграфных сигналов — не хуже 0,8 мкв, а во время приема телефонных сообщений — 2 мкв. При таких напряжениях на входе приемника (если при этом напряжение его собственных шумов меньше в 3 раза) к высокоомным головным телефонам (сопротивлением 2000 ом) подводится напряжение 13 в. Слышимость сигналов при этом хорошая.

Избирательность приемника характеризуется следующими данными: при расстройке на ±10 кгц сигнал ослабляется в 100 раз (40 дб). По зеркальному каналу (подробнее об этом рассказано ниже) ослабление достигает также 100 раз (40 дб)
Приемник собран на шести пальчиковых лампах по супергетероднииой схеме с двойным преобразованием частоты. Такая схема выбрана потому, что невозможно добиться нужной избирательности при одинарном преобразовании частоты, которое применяется, например, в супергетеродинах, предназначенных для приема вещательных станций.
Питание осуществляется от сети переменного тока напряжением 127 или 220 в, потребляемая мощность — 45 вт. Кроме высокоомных головных телефонов, к выходу приемника можно подключать внешний громкоговоритель типа 0,5ГД2.
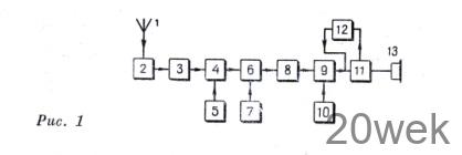
Блок-схема приемника изображена на рис. 1. Сигналы любительских радиостанций из антенны 1 поступают во входное устройство 2, которое выполняет функции предварительного выделения сигнала принимаемой станции из всех остальных. Выделенный сигнал поступает в каскад усиления высокой частоты 3. Этот каскад собран по не настраиваемой схеме.

Первый преобразовательный каскад состоит из смесителя 4 и гетеродина 5, которые собраны на одной сложной лампе (см. ниже). На вход этого каскада поступает усиленное напряжение сигнала с частотой fсиг. В смесителе это напряжение смешивается с напряжением гетеродина fгет 1. Частота гетеродина при любом значении частоты fсиг отличается от нее на 1600 кгц — первую промежуточную частоту fпр 1. Для достижения этого колебательный контур гетеродина 5 переключается и перестраивается одновременно с контуром входного устройства 2. Частота fпр х1 выделяется контуром, установленным на выходе смесителя 4. Непосредственно за первым преобразовательным каскадом следует второй такой же каскад, состоящий из второго смесителя 6 и второго гетеродина 7. Во втором преобразовательном каскаде использована сложная лампа такого же типа, что и в первом. В этом каскаде происходит также смешение двух частот, но так как на вход смесителя 6 поступает в любом случае одна и та же частота fпр 1 =1600 кгц, гетеродин 7 настроен на одну определенную (фиксированную) частоту fгет 2= = 1490 кгц. В результате на выходном контуре смесителя 6 выделяется вторая промежуточная частота fпр2 = 110 кгц.
Почему первая промежуточная частота сравнительно высока (1600 кгц), а вторая (110 кгц), наоборот, значительно ниже? Чем объясняется выбор таких частот? Попробуем разобраться в этом.
Способность приемника выделять из всех сигналов, наводимых в антенне, сигналы только одной радиостанции называется избирательностью. Во-первых, приемник должен обладать такими качествами, чтобы хорошо пропускать сигналы принимаемой радиостанции, но заграждать путь для сигналов радиостанций, близких ио частоте. О том, насколько успешно приемник справляется с этой задачей, судят по так называемой избирательности по соседнему каналу. Эта избирательность характеризуется числом, которое указывает, во сколько раз (или на сколько децибел) при прохождении через приемник будет ослаблен сигнал радиостанции, частота которой отличается на ±10 кгц от принимаемой.
Избирательность по соседнему каналу можно оценить по характеристике, которая показывает, как изменяется чувствительность приемника, если, не перестраивая его, подводить к входу (антенному гнезду) сигналы с различной частотой. На рис. 2 изображены две такие характеристики: одна (кривая 1) приемника с худшей избирательностью по соседнему каналу и другая (кривая 2) — с лучшей. По горизонтальной оси координат здесь отложены частоты, а по вертикальной — отношение коэффициента усиления приемника на любой частоте (К) к коэффициенту усиления на резонансной частоте (Ко). Эта величина ( К/Ко) обозначается буквой А.

Внимательно рассмотрев рис. 2, мы увидим, что в том случае, когда приемник имеет характеристику, выраженную кривой 1, радиостанции, отстоящие на ±10 кгц от принимаемой, будут ослаблены всего в два раза, или, говоря другими словами, избирательность по соседнему каналу S=1/A=K/Ko будет равна двум. Если характеристика приемника будет выражена кривой 2, то соответственно избирательность равна десяти. Чаще избирательность S указывают не в отвлеченных числах, а в логарифмических единицах — децибелах (дб). В нашем примере избирательность в децибелах для кривой 1 равна 6 дб, а для кривой 2—20 дб.
Получить хорошую характеристику избирательности приемника можно лишь в том случае, если в нем имеются контуры с узкой полосой пропускания. В описанном приемнике контуры входного устройства настраиваются на частоты 3,5 ±29,7 Мгц, а контур первой промежуточной частоты — на 1,6 Мгц. Полосы пропускания контуров на этих частотах широки и не могут обеспечить характеристики с высокой избирательностью по соседнему каналу. Поэтому в приемник введен преобразователь, на выходе которого выделяется вторая, значительно более низкая промежуточная частота 110 кгц. Контуры с такой резонансной частотой имеют узкую полосу пропускания.
Кроме того, при низкой ПЧ значительно облегчается задача разделения принимаемой и мешающей радиостанций. Рассмотрим это на примере.
Допустим, что на вход приемника воздействуют два сигнала: полезный с частотой 28 Мгц и мешающий по соседнему каналу, частота которого равна 28,01 Мгц. Мешающий сигнал отличается по частоте от полезного всего на 0,035% . В результате второго преобразования будут получены две промежуточные частоты: ПЧ сигнала мешающей станции будет равна 120 кгц, а полезного у сигнала 110 кгц. Эти частоты отличаются друг от друга уже на 9%.
Следовательно, относительная разница в процентах между частотами полезного и мешающего сигналов после второго преобразования увеличится в 250 раз (9 : 0,035^250). В результате этого появится возможность легче отстроиться от мешающей станции.
Итак, мы установили, что низкая вторая ПЧ необходима для повышения избирательности по соседнему каналу. А зачем тогда нужна первая ПЧ? Может быть, можно обойтись без нее? Оказывается, нет. Дело в том, что, кроме избирательности по соседнему каналу, в супергетеродинных приемниках нужно обеспечить еще избирательность по так называемому зеркальному каналу. Что же это за избирательность?
Как известно, для того чтобы получить на выходе преобразователя частоту fпр, гетеродин должен генерировать либо частоту, равную fсиг+fпр, либо fсиг—fпр. Допустим, что частота гетеродина больше частоты полезного сигнала, то есть fГет=fсиг+fпр Тогда если на частоте f3ерк=fсиг+2fПр работает радиостанция, то ее сигнал будет слышным вместе с полезным, так как разность частоты fзерк и частоты fгет будет также равна fпр, Тоесть: fзерк — fгет=(fсиг+2fпр)-(fсиг+fпр)=fпр
Расположение всех указанных выше частот на одной оси показано на рис. 3. Из этого рисунка видно, что частоты fсиг и f3ерк расположены симметрично относительно частоты fгет. Частота fзерк является как бы зеркальным изображением частоты fсиг. Поэтому описанная выше помеха называется помехой по зеркальному каналу.

Борьба с помехами по зеркальному каналу осуществляется созданием в приемнике должной избирательности до преобразователя, то есть во входном устройстве. Из рис. 3 видно, что зеркальная помеха с частотой fзерк заметно ослабляется входным контуром, резонансная характеристика которого показана пунктиром. Чем больше будет промежуточная частота fпр, тем дальше будет расположена зеркальная помеха fзерк от принимаемого сигнала fсиг, а следовательно, повысится избирательность По зеркальному каналу.
В приемнике с Двойным преобразованием частоты, который описывается в этой статье, использованы выгоды высокой и низкой промежуточных частот. Первая промежуточная частота выбрана высокой (1,6 Мгц), что позволило добиться хорошей избирательности по зеркальному каналу. Вторая промежуточная частота выбрана весьма низкой (110 кгц). Это обеспечило высокую избирательность по соседнему каналу. Напряжение второй ПЧ, выделенное в выходном контуре второго смесителя 6 (рис. 1), усиливается однокаскадным усилителем ПЧ 8. Усиленное ВЧ напряжение подается на вход детектора.
В описываемом приемнике применен сеточный детектор 9, который хорошо детектирует слабые сигналы и, кроме того, обладает способностью усиливать выделенное в результате детектирования напряжение НЧ сигнала. После детектора установлен усилитель НЧ 11, к выходу которого подключены телефоны и громкоговоритель.
В приемнике имеется переключатель рода работы, имеющий три положения: «ТЛФ», «ТГР-1» и «ТГР-2». Во время приема радиостанций, работающих телефоном, этот переключатель устанавливают в положении «ТЛФ» и в приемнике работают узлы, описанные ранее. Для приема телеграфных станций этот переключатель можно установить в любое из двух положений: «ТГР-1», или «ТГР-2». Тогда к входу детектирующего каскада 9 подключается третий гетеродин 10 и подводятся напряжения ВЧ колебаний двух частот: 110 кгц с выхода усилителя второй ПЧ и 109 кгц с третьего гетеродина.
Возникающие при этом биения имеют составляющую звуковой частоты 1 кгц (110—109—1 кгц), которая поступает в усилитель НЧ 11, позволяя осуществить прием телеграфных станций.
В положении «ТГР-1» переключателя рода работы детектирующий каскад и усилитель НЧ пропускают полосу частот шириной 3000 гц. Но в некоторых случаях радиостанции, которые работают на частотах, весьма близких к принимаемой, при такой ширине полосы НЧ будут создавать помехи, затрудняющие прием. Тогда переключатель устанавливают в положение «ТГР-2». В этом положении между усилителем НЧ и детектором включается фильтр 12, который сужает полосу пропускаемых низких частот до 200 гц, что помогает устранению помех.
Принципиальная схема приемника приведена на рис. 4. Переключатель П1 показан в положении, когда включен 10-метровый любительский диапазон (28— 29,7 Мгц).

Входные контуры приемника связаны с антенной индуктивно, через катушки связи (на 10-метровом диапазоне это катушка L2). Настройка входных контуров производится конденсатором переменной емкости С8, входящим в блок C8C30. Неработающие катушки связи с антенной и входных контуров замыкаются накоротко.
В антенную цепь включены разделительный конденсатор С1 и режекторный контур (фильтр-пробка) L1С2. Этот контур настроен на первую промежуточную частоту fпр1= 1600 кгц и представляет для токов этой частоты большое сопротивление. Основное назначение этого фильтра — не пропускать в приемник сигналы с частотой fпр1 или близкие к ней. Проникновение таких сигналов на управляющую сетку лампы первого преобразователя недопустимо, так как оно вызывает появление свистов и искажений. Усилитель ВЧ — ненастраиваемый. Он собран на лампе 6К4П (Л1). Нагрузкой анодной цепи лампы в диапазонах 20, 40 и 80 м является дроссель Др1. Части катушки индуктивности L17, включенные последовательно с дросселем Др1 и конденсатором связи С15, на частотах 3,5—14 Мгц заметного влияния на режим работы усилителя ВЧ не оказывают ввиду малого значения сопротивления катушки L17 на высокой частоте по сравнению с таким же сопротивлением дросселя Др1.
С повышением частоты принимаемого сигнала (диа* пазон 21—30 Мгц) из-за влияния межвитковой емкости дросселя Др1 и емкости монтажа полное сопротивление дросселя Др1 значительно падает. На этих частотах существенное сопротивление токам высокой частоты оказывает П-контур, образованный индуктивностью катушки L17, выходной емкостью лампы Л1, входной емкостью лампы Л2 и емкостью монтажа. Значение индуктивности катушки L17 подобрано таким образом, что П-контур настроен на частоту порядка 26 Мгц. Так как по высокой частоте П-контур зашунтирован дросселем Др1, он имеет широкую полосу пропускания и без заметного ослабления пропускает указанную выше полосу частот от 21 до 30 Мгц.
Напряжение на экранирующую сетку лампы подается с помощью делителя, образованного резисторами R5, R2, R4 и потенциометром R3. Конденсатор С10 блокирует экранирующую сетку по высокой частоте. Регулировка усиления каскада, а следовательно, и общей чувствительности приемника осуществляется изменением положения движка потенциометра R3, в результате чего меняется напряжение смещения на управляющей сетке лампы Л1.
Первый преобразовательный каскад выполнен на триод-гептоде 6И1П (Л2). Гетеродин собран на триодной части ламп Л2 по трехточечной схеме с емкостной обратной связью и параллельным питанием. Постоянное напряжение на анод триодной части лампы подается через резистор R11. Конденсатор С16 является разделительным. Он предотвращает короткое замыкание анодного напряжения на шасси через катушку индуктивности L16 при случайном замыкании подвижных и неподвижных пластин конденсатора переменной емкости С30. Цепь из конденсатора С18 и резистора R9 стабилизирует работу гетеродина. Резистор R10 служит для устранения возникающих иногда паразитных колебаний. Детали контуров гетеродина включены так, что разность частот настройки входных и гетеродинных контуров при любом положении ротора блока конденсаторов переменной емкости С8С30 равна первой промежуточной частоте. Этим обеспечивается равномерная чувствительность приемника в пределах диапазонов.
В данном приемнике частота гетеродина в диапазонах 14, 20, 40 и 80 м выбрана выше принимаемой на 1.6 Мгц, а в диапазоне 10 м — ниже принимаемой на 1,6 Мгц.
Смеситель собран на гептодной части лампы Л2. Напряжение гетеродина подается на третью сетку, а напряжение сигнала — на’ первую сетку гептода. В результате воздействия на электронный поток двух ВЧ напряжений в анодной цепи гептода появляется большое количество различных комбинационных частот, в числе которых будет составляющая первой промежуточной частоты, которая в нашем случае равна 1,6 Мгц.
Эта составляющая выделяется на контуре L18С13 полосового фильтра L18С13, L19C14, который настроен на частоту 1,6 Мгц. Все остальные составляющие анодного тока, появляющиеся в результате работы первого преобразователя, не вызовут заметного напряжения на контуре L18С13, так как он оказывается относительно их расстроенным.
Необходимый режим работы гептодной части лампы Л2 определяется резистором R6 и цепью автоматического смещения R9С18.
Второй преобразовательный каскад также работает на триод-гептоде 6И1Г1 (Л3). Гетеродин собран по схеме с индуктивной связью и параллельным питанием. Контур R25С39 определяет частоту второго гетеродина и органов перестройки не имеет, так как частота второго гетеродина остается всегда постоянной и равна 1,49 Мгц то есть она на 110 кгц ниже первой ПЧ. Работа каскада и назначение его деталей аналогичны первому преобразовательному каскаду. Напряжение второй ПЧ (110 кгц) выделяется в контуре L20C32 полосового фильтра L20C32 L21C32. С целью уменьшения амплитуды ВЧ составляющих других частот, протекающих в анодной цепи гентода лампы Л3, последовательно с контуром L20C32 включен фильтр Др2C42,. Этот фильтр, не создавая заметного сопротивления для второй ПЧ (110 кгц}, значительно ослабляет прочие высокочастотные составляющие анодного тока и тем самым уменьшает возможность возникновения различных свистов, нарушающих нормальную работу приемника.
Усилитель второй ПЧ собран на лампе 6К4П (Л4) по схеме последовательного питания. Напряжение второй ПЧ, подлежащее усилению, снимается с контура L21С33 и подается на управляющую сетку лампы Л4. Анодной нагрузкой лампы является контур L22C41 настроенный на частоту 110 кгц. На этом контуре выделяется усиленное напряжение второй ПЧ, которое через конденсатор С38 подается на вход детекторного каскада. Сеточный детектор собран на триоде сложной лампы — триод-пентода 6ФЗП (Л5). В результате детектирования в цепи резистора R18 будут протекать составляющие постоянного тока, тока высокой частоты и тока низкой частоты. Все эти составляющие создадут падение напряжения на резисторе R18. Постоянная составляющая напряжения создает отрицательное смещение на сетке триода, уменьшающее величину его анодного тока. ВЧ составляющая усиливается лампой, но так как это напряжение не используется в дальнейшем, оно замыкается через конденсатор C43 на катод триода. Резистор R20, установленный в цепи анода лампы, служит для улучшения фильтрации проникающего на нагрузочный резистор R19 ВЧ напряжения, которое может являться источником паразитной генерации. Полезная НЧ составляющая напряжения после усиления триодом лампы Л5 выделяется на резисторе R19.
Для приема радиостанций, работающих телеграфом, переключатель рода работ П6 устанавливается в положение «ТГР-1». В этом случае секцией включается напряжение на анод и экранирующую сетку лампы 6К4П (Л6) третьего гетеродина, который собран по схеме с емкостной обратной связью. Частота его колебаний определяется данными элементов контура L23C57C58^C59» подобранными таким образом, чтобы гетеродин перекрывал диапазон 108 — 109,5 кгц.
Настройка контура осуществляется с помощью конденсатора переменной емкости Ć59. Необходимый режим работы лампы Л6, при котором обеспечивается стабильная работа гетеродина и требуемая величина выходного переменного напряжения, устанавливается резисторами R32—R33. Напряжение третьего гетеродина снимается с резистора R32 и через конденсатор связи Ссв подается на вход сеточного детектора. На рис. 4 эта цепь показана пунктиром, так как обычно необходимая с детектором связь получается автоматически за счет емкости монтажа и надобности в конденсаторе связи Ссв нет. В результате подключения третьего гетеродина к входу детекторного каскада в цепи управляющей сетки триода лампы Л5 возникают биения, которые после преобразования создают на резисторе R19 падение напряжения с частотой около 1 кгц. Все другие ВЧ составляющие отфильтровываются фильтром R13С43.
Напряжение НЧ с резистора R19 через конденсатор С44 подается на регулятор громкости R21 и далее через контакты переключателя П6а и резистор R23 на управляющую сетку пентодной части лампы 6ФЗП (Л5).
Выходной каскад собран по стандартной схеме. Высокоомные головные телефоны ТЛФ через разделительный конденсатор С50 подключаются к аноду пентода, а громкоговоритель 0,5ГД2— через выходной трансформатор Тр1. Необходимое смещение на управляющую сетку пентода подается с помощью цепи R24С51, подключенной к его катоду.
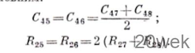
Для ослабления различных интерференционных свистов и помех от близко расположенных по частоте радиостанций, мешающих приему телеграфных сигналов между анодом и управляющей сеткой пентодной части лампы Л5 секцией Пба переключателя в положении «ТГР-2» последнего включается двойной Т-образный мост, образованный сопротивлениями R25—R28 и конденсаторами С45—С48. Такой мост ведет себя как фильтрпробка и характеризуется так называемой квазирезонансной частотой, которая зависит от величины конденсаторов и сопротивлений, входящих в мост. При указанных на схеме данных моста квазирезонансная частота равна 1110 гц.
Мост включен как элемент отрицательной обратной связи усилителя НЧ. При этом частотная характеристика цепи обратной связи будет определять избирательность усилительного каскада. На квазирезонансной частоте мост имеет максимальное сопротивление, поэтому отрицательная обратная связь практически будет равна нулю и усиление выходного каскада будет максимальным.
На частотах, отличных от квазирезонансной, сопротивление моста резко уменьшается. Это приводит к увеличению отрицательной обратной связи, а следовательно, к уменьшению усиления выходного каскада, которое при отклонении частоты на ±100 гц от квазирезонансной падает в 2 раза, а при отклонении на ±1000 гц — в 100 раз.
Питание анодно-экранных цепей ламп приемника производится с помощью двухполупериодного мостового выпрямителя на четырех полупроводниковых диодах Д7Ж (Д1—Д4). Для сглаживания пульсаций на выходе выпрямителя включен двухзвенный фильтр, образованный электролитическими конденсаторами С52—С54 и резисторами R34 и R29.
Радио №10/1966, ст.17
Переключатели. Для переключения контуров входной цепи и первого гетеродина используется широко распространенный семиклавишный переключатель заводского изготовления. На принципиальной схеме приемника (см. рис. 4) этот переключатель обозначен П1—П5. Для уменьшения места, занимаемого им на передней панели, клавиши и рычаги для выключения сети и включения проигрывателя снимаются. Можно и не снимать их. Тогда не будет нужен отдельный выключатель сети Вк1, но одна клавиша переключателя не будет использована.
На плате клавишного переключателя в специально выштампованных отверстиях устанавливают каркасы с намотанными на них катушками L2—L16. Каркасы приклеивают к плате полистироловым клеем (раствор полистирола в дихлорэтане). Кроме каркасов с катушками, на плате укрепляют конденсаторы, входящие в состав контуров входных цепей и первого гетеродина (см. фотографию переключателя на четвертой странице вкладки). Для уменьшения связи между входными и гетеродинными контурами их разделяют экраном, сделанным из латуни толщиной 0,5 мм, Этот экран хорошо виден па фотографии.

Переключатель рода работы П6— галетный, одноплатный, на три положения. Катушки приемника наматываются на различных каркасах, чертежи которых даны на рис. 5. Все намоточные данные катушек приведены в табл. 1. Катушки L18—L25 экранируются подходящими экранами промышленного производства или самодельными


Дроссели Др1 и Др2— самодельные. Дроссель Др1 наматывается на ферритовом сердечнике диаметром 2.5мм (можно использовать кусок ферритового сердечника, на который намотана катушка регулятора линейности строк, применяемого в телевизорах «Рубин-102» и «Радий» внавал секциями шириной 3 мм. Всего секций две. Каждая из них содержит по 65 витков провода ПЭЛ 0,08. Расстояние между секциями — 2 мм. Каркасом для намотки Др2 служит резистор типа ВС-0,25 сопротивлением не менее 510 ком. На этот резистор наматывается в один слой виток к витку 120 витков провода ПЭЛ 0,1. Дроссель Др2 располагается в экране полосового фИЛЬТра -L20C32L21C33
Конденсаторы переменной емкости. В качестве блока конденсаторов переменной емкости С8С30, при помощи которого производится настройка контуров входных цепей и первого гетеродина, используют УКВ секции промышленного блока конденсаторов переменной емкости, которые применяются в широковещательных приемниках второго класса с УКВ диапазоном. Такие блоки очень часто бывают в продаже. Блок не переделывается, а его секции для настройки ДВ и СВ диапазонов не используются.
Конденсатор С59 для настройки третьего гетеродина — подстроечный, с воздушным диэлектриком типа КПВ. Можно также использовать керамический подстроечный конденсатор типа КПК емкостью 6— 25 пф. В случае применения последнего нужно приклеить к торцу его ротора кольцо из органического стекла и вывести ребро этого кольца на переднюю панель приемника.
Данные трансформаторов приемника приведены в табл. 2.

КОНСТРУКЦИЯ
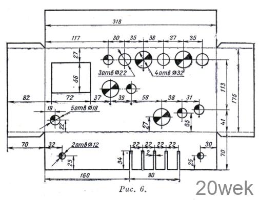
Приемник смонтирован на коробчатом шасси из дюралюминия толщиной 1,5 мм или мягкой стали толщиной 0,8- 1,0 мм. К шасси болтами прикреплена передняя панель. Чертежи развертки шасси и передней панели приведены на рис. 6 и 7. В том случае, если радиолюбителем, собирающим приемник, применены не те детали, которые рекомендованы в разделе «Основные детали приемника», а другие, размеры шасси могут быть изменены. Следует лишь придерживаться того расположения деталей, которое показано на фотографиях вкладки и на рис. 8 (вид приемника спереди), рис. 9 (вид сзади) и рис. 10 (вид сверху).





При скреплении передней панели с шасси нужно следить, чтобы вырезы для рычагов клавишного переключателя на шасси (рис. 6) совпали с окном для этих рычагов на передней панели. Кроме того, должны совпасть отверстия для осей переключателя П6 и потенциометра R3.
Расположение деталей на шасси хорошо видно на фотографиях подвала шасси и клавишного переключателя (см. вкладку), а также на рис. 8—10.
Приемник должен иметь хороший верньер с замедлением не менее чем 1 : 100. Конструкция верньера не приводится, так как она зависит от возможностей радиолюбителя, примененных деталей и других обстоятельств.
Для хорошего внешнего вида к передней панели приемника прикрепляется фальшпанель из дюралюминия толщиной 1,5 мм. Чертеж фальшпанели приведен на рис. 11. На фальшпанели укрепляются конденсатор переменной емкости С59, потенциометр R21 выключатель Вk1, а также (при возможности) часы. Для большей жесткости фалынпанели к ее краям следует приклепать дюралюминиевые уголки. Как фальшпанель прикрепляется к передней панели, видно на фотографии подвала шасси на вкладке, Во избежание перекосов при креплении отверстия а, б, в, г на фальшпанели и а’, б’, в’, г’ на передней панели должны совпадать.

Налаживание приемника производят, пользуясь любым авометром, генератором стандартных сигналов ГСС-6 и звуковым генератором ЗГ-10 или другим. Эти приборы имеются в радиоклубах ДОСААФ. Как обычно, налаживание производят покаскадно, начиная с «конца», то есть блока питания, и кончая входными цепями приемника.
Клавишный переключатель с установленными на нем катушками и конденсаторами на первом этапе налаживания из подвала шасси удаляется.
Прежде чем включить приемник в сеть переменного тока, необходимо проверить по принципиальной схеме правильность всех соединений отсутствие короткого замыкания в цепях анодно-экранного питания и накала и установить переключатель рода работ П6 в положение «ТЛФ».
Включив приемник в сеть, проверяют, все ли лампы накаливаются, с помощью авометра измеряют напряжение на выходе выпрямителя, а также на электродах ламп и сравнивают результаты измерений с напряжениями, указанными на принципиальной схеме.
Отклонение измеренных напряжений на ±20% по сравнению с указанными существенного влияния на работу приемника не оказывает. Проверив работу силовой части радиоприемника и режимы работы ламп, переходят к налаживанию усилителя НЧ. Для этого в соответствующие гнезда вставляют штепсельные вилки от громкоговорителя Гр и телефонов. Параллельно телефонам подключают авометр, включенный на измерение переменного напряжения в диапазоне 15—20 в. Авометр остается включенным, таким образом, в течение всего процесса налаживания. Затем к управляющей сетке пентодной части лампы Л5 через конденсатор емкостью 0,01 мкф от звукового генератора (ЗГ) подают напряжение с частотой 1000 гц. Если выходной каскад исправен, то при напряжении 800 мв, поданном от ЗГ, показания авометра должны быть равны 12 в (это напряжение в дальнейшем мы будем называть контрольным, так как по нему проверяется работа каскадов приемника в процессе всего налаживания).
Чтобы проверить работоспособность всего усилителя НЧ, надо напряжение от ЗГ подать на сетку триодной части лампы Л5. При этом движок потенциометра R21 должен быть установлен в верхнее (по схеме) положение.
Если усилитель НЧ исправен, напряжение на телефонах должно быть равно контрольному, когда на вход усилителя подается от ЗГ напряжение величиной 16 мв.
Когда при работе усилителя НЧ наблюдается большой фон переменного тока, необходимо проверить, заземлен ли сердечник силового трансформатора Тр2, нет ли потери емкости у электролитических конденсаторов С54, С 53, С52, заземлены ли экранированные проводники. Сеточный детектор отдельного налаживания не требует.
Для налаживания фильтра НЧ переключатель рода работы Пб устанавливают в положение «ТГР-2», лампу Л6 вынимают из панели, резистор R28 временно заменяют потенциометром сопротивлением 150 ком и временно отсоединяют конденсатор С38 от анода лампы Л4. ЗГ остается подключенным к сетке триода Л5. Налаживают фильтр следующим образом.
Ручками управления ЗГ устанавливают величину его выходного напряжения 60 мв, а частоту меняют в пределах 900—1100 гц. Определяют частоту резонанса фильтра по максимальным показаниям авометра^ включенного параллельно телефонам. Если максимум усиления получается не на частоте 1000 гц, изменяют величину сопротивления потенциометра, заменяющего резистор Т?28, и резонансную частоту определяют вновь. При значительной расстройке фильтра или неправильном выборе его элементов селективный усилитель может легко перейти в режим самовозбуждения и работать как генератор НЧ. Для предотвращения этого необходимо подобрать детали для фильтра так, чтобы они удовлетворяли следующим условиям:

При небольшой расстройке фильтра самовозбуждение устраняется подбором величины сопротивления потенциометра. При налаживании фильтра следует иметь в виду, что когда усилитель НЧ находится на пороге возбуждения, он имеет наиболее узкую полосу пропускания, которая может достигать нескольких герц.
При хорошо налаженном фильтре контрольное напряжение на выходе приемника получается при подаче на вход сеточного детектора напряжения 60 мв (частота 1000 гц). Полоса пропускания при этом должна быть не более 150—200 гц. Канал ПЧ, гетеродин и входные цепи приемника настраиваются по обычной методике, принятой для всех супергетеродинных приемников, которая много раз подробно описывалась в радполнтературе, например в книгах Большова В. М. «Налаживание радиоприемников», М., изд-во «Энергия», 1963 (серия «Массовая радиобиблиотека», вып. 457), Костикова В. Ф. «Как построить радиоприемник», М., изд-во ДОСААФ, 1964 и других.
Необходимые сведения по настройке приведены в табл. 3. Настраивать каскады следует в том порядке, в каком они указаны в этой таблице. Перед началом настройки гетеродинов нужно проверить, работают ли они. Для этого авометр, переключенный на измерение постоянного тока, включают между верхним (по принципиальной схеме) выводом резистора R15(R11) и шиной анодного напряжения и контур соответствующего гетеродина замыкается на шасси. Если гетеродин генерирует, то показания авометра при каждом замыкании контура должны увеличиваться.

Налаживание третьего гетеродина сводится к получению требуемой частоты генерации (109 или 111 кгц) и подбору связи с детектором. Рекомендуется следующий порядок налаживания этого узла.
Установив переключатель рода работ в положение «ТГР-1» и лампу Л6 в панель, проверяют, работает ли гетеродин. Затем на вход сеточного детектора от ГСС подают напряжение с частотой 110 кгц и величиной порядка 800 мкв, конденсатор С59 устанавливают в среднее положение и вращением сердечника катушки L23 добиваются на слух получения биений с частотой около 1 кгц. При сильной связи третьего гетеродина со входом детектора наблюдается явление «затягивания», не позволяющее получить низкий тон биений. В этом случае надо тщательно экранировать детали гетеродина, как это показано на принципиальной схеме.
При испытании приемника на него было принято большое количество любительских радиостанций Советского Союза и других стран





