РЕГУЛЯТОР ТЕМПЕРАТУРЫ СО ЗВУКОВОЙ СИГНАЛИЗАЦИЕЙ
Б. Буханэц, П. Гавриленко, Радио №9/1965, ст. 60
Вниманию читателей предлагается простая система регулировки температуры с весьма малым запаздыванием (примерно 5 сек.) и высокой точностью, нашедшая применение при регулировке и измерении температуры воздуха.
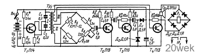
В регуляторе использованы мало-инеоционные термосопротивления типа КМТ-12(510). Особенностью схемы регулятора является уравновешенный мост, питаемый переменным током (рис. 1). Применение моста дает возможность получить весьма высокую точность измерений.

Выходное напряжение генератора (Т1) через трансформатор Тр1 приложено к диагонали моста. В одно плечо моста включен измерительный термистор R5, а в противоположное — проволочный потенциометр R8. Последний имеет проградуированную в единицах температуры шкалу. Если мост разбалансирован, напряжение с его диагонали подается на усилитель (Т2, Т3). Затем оно выпрямляется диодами Д1, Д2 и в положительной полярности подается на транзистор Т4, работающий в режиме ключа, запирая его. Обмотка реле Р1 обесточена.
Если температура достигнет заданной величины, которую заранее устанавливают по шкале потенциометра R8, наступает баланс моста. Напряжение на выходе усилителя становится равным 0, транзистор Т4 открывается, раздается звуковой сигнал, срабатывает реле Р1 и включает исполнительный механизм.
Диапазон регулировки температуры при указанных на схеме данных — 15—70°С, точность — 0,5°С. Регулятор прост в налаживании Необходимо подобрать лишь величины сопротивлений, отмеченных звездочкой. Реле типа РП5 (РС4522006). Обмотки трансформатора Тр1 намотаны на ферритовом кольце Ф-600 диаметром 16 мм и содержат: I—700 витков провода ПЭВ 0,05; II—300 витков, а III—200 витков того же провода. Описанное устройство можно использовать как малоинерционный сигнализатор температуры с ручной регулировкой, исключив реле Р1. Габариты такого сигнализатора 93X58X30 мм, а вес не превышает 170 г. Регулятор температуры можно использовать в переносной испытательной аппаратуре





