РАДИОПРИЕМНИК «СОНАТА»
А. АМОСОВ, А. МЕЗЕНЕВ, Ю. КАБАНОВ, И. МОГИЛЬНИКОВ, Радио №9/1966, ст.33
Одним из предприятий Министерства радиопромышленности СССР разработан и освоен в серийном производстве новый переносный четырех диапазонный транзисторный радиоприемник «Соната». Приемник отличается современным внешним оформлением, хорошим качеством звучания и достаточно высокими электрическими и эксплуатационными параметрами.

Краткая техническая характеристика
- Диапазоны волн: длинные волны (ДВ) — 150—408кгц (2000—735 м); средние волны (СВ) — 525—1605кгц (571,2—187,0 м); короткие волны: КВ 1 — 3,95— 7,4 Мгц (75—41м), КВ2—9,0—12,1 Мгц (31—25 м).
- Максимальная чувствительность в диапазоне ДВ не хуже 1,0 мв/м’, СВ— 0,5 мв/м’, КВ—50 мкв.
- Реальная чувствительность соответственно 2,0 мв/м’, 1,0 мв/м’, 200 мкв.
- Избирательность по соседнему каналу в диапазонах ДВ и СВ не менее 34 дб.
- Избирательность по зеркальному каналу в диапазонах ДВ— не менее 32 дб‘, СВ—26 дб’, КВ—12 дб.
- Промежуточная частота — 465 ± 2 кгц.
- Номинальная выходная мощность приемника 150 мвт’, к.п.д. при максимальной выходной мощности не менее 40%;
- коэффициент нелинейных искажений по всему тракту не более 8%;
- частотная характеристика по звуковому давлению всего тракта в диапазонах СВ и ДВ 200—4000 гц (при неравномерности соответствен по 14 и 18 дб).
Радиоприемник имеет регулятор тембра верхних частот, обеспечивающий завал частотной характеристики на частоте 4000 гц — 10— 12 дб. Регулятор громкости обеспечивает регулировку в пределах 40 дб. Питание приемника осуществляется от двух соединенных последовательно батарей типа КБС-Л-0,5. Основные параметры приемника сохраняются при снижении напряжения источника питания до 7,2 в, а работоспособность — при напряжении питания 5,6 в.
Размеры приемника — 252X143X Х68 мм’, вес с источником питания — 1,9 кг.
В приемнике предусмотрена возможность подключения: телефона или дополнительного громкоговорителя (вместо основного громкоговорителя); внешнего источника питания (вместо батареи приемника); внешней антенны и заземления.
Нормальная работа приемника обеспечивается в диапазоне температур от —10° до +45° С.
Принципиальная схема
В диапазонах ДВ и СВ прием осуществляется на магнитную антенну (ферритовый стержень Ф-600 диаметром 8 и длиной 160 мм). Для повышения действующей высоты антенны и упрощения коммутации в диапазоне ДВ последовательно с антенной катушкой ДВ (L7) подключается антенная катушка СВ (L5). Связь входной цепи с нагрузкой в диапазоне ДВ индуктивно-емкостная, в диапазоне СВ — трансформаторная.
В диапазонах KBI и KBII в качестве антенны используется телескопический штырь длиной 1,2 м. Контурные катушки входных цепей диапазонов КВ намотаны на каркасах из полистирола и имеют сердечники из феррита марки Ф-100. Связь антенны с входными цепями коротковолновых диапазонов — автотрансформаторная, а входных цепей с нагрузкой — трансформаторная.

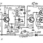
В качестве смесителя в приемнике применен транзистор типа П423 (Т2), включенный по схеме с общим эмиттером.
Гетеродин собран на отдельном транзисторе Т1 типа П423, включенном по схеме с общей базой (с трансформаторной обратной связью). Схема с отдельным гетеродином позволила упростить настройку приемника за счет значительного ослабления связи между гетеродинными и входными цепями (особенно в диапазонах коротких волн). Неполное включение контура гетеродина в коллекторную цепь транзистора в диапазоне СВ вызвано необходимостью уменьшить емкость Ск-б вносимую в контур гетеродина.
Усилитель промежуточной частоты — трехкаскадный, широкополосный (Т3—Т5). Нагрузкой каскадов служат резонансные контуры. Для обеспечения необходимой устойчивости работы усилителя ПЧ контуры первого и второго каскадов зашунтированы резисторами R16, R21.
Особенностью схем каскадов ПЧ является развязка базовых и коллекторных цепей непосредственно на эмиттеры транзисторов. Смещение в базовых цепях второго и третьего каскадов ПЧ стабилизировано. Напряжение смещения снимается с резистора R25, включенного в цепь эмиттера транзистора T10 стабилизатора напряжения.
Усилитель низкой частоты тоже трехкаскадный. Его первый каскад собран на транзисторе типа П40 (T6), включенном по схеме с общим эмиттером. Связь между первым и вторым каскадами усилителя непосредственная. Начальное смещение на базу транзистора Tб образуется на резисторе R42, и поступает — через резисторы Rз6 и R40. Таким образом, между первыми двумя каскадами усилителя НЧ имеется отрицательная обратная связь, за счет которой обеспечивается необходимая стабильность режима каскадов усилителя в заданном диапазоне температур.
Предоконечный каскад собран на транзисторе типа П41 (T7), включенном по схеме с общим эмиттером. Нагрузкой каскада является согласующий трансформатор Tp1 (CT-1А). Цепочка R44, С63, R41 обеспечивает отрицательную обратную связь глубиной 10—12 дб.
Двухтактный оконечный каскад собран на транзисторах типа П41 (T8, T9), работающих в режиме, близком к классу «В». Нагрузкой каскада служит трансформатор Тр2 (ТВ-1В), согласующий сопротивление громкоговорителя 0,5 ГД-10 с выходным сопротивлением каскада.
Смещение на базы транзисторов выходного каскада (0,02—0,08 в) снимается с эмиттерного резистора R43 предоконечного каскада. Режимы транзисторов Тб и T7 выбраны такими, что напряжение на резисторе R43 при изменении температуры изменяется с постоянной скоростью около 2 мв/оС. Это обеспечивает необходимую температурную стабильность выходного каскада.
Конденсаторы С64 и С65 служат для предотвращения генерации усилителя НЧ на ультразвуковых и высоких частотах.
Чувствительность усилителя НЧ со входа при номинальной выходной мощности 150 мвт составляет 20— 30 мв, Еходное сопротивление на частоте 1000 гц — 3—4 ком, коэффициент нелинейных искажений в диапазоне частот 200—4000 гц — не более 3— 4%.
Стабилизатор напряжения выполнен на транзисторе типа П40 (Т10) и диоде типа Д101 (Д2).
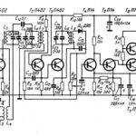
Принципиальная схема приемника приведена на рис. 1, а режимы всех транзисторов — в таблице 1.

Конструкция, узлы и детали Радиоприемник собран в прямоугольном разъемном корпусе из литого ударопрочного полистирола марки УП или сополимера типа СНП.
Основные органы управления (регулятор громкости с выключателем питания, ручка настройки и ручка регулировки тембра) находятся на передней панели. Ручка переключателя диапазонов выведена на правую боковую стенку корпуса. Гнезда для подключения антенны, земли, дополнительного громкоговорителя и внешнего источника питания расположены на левой боковой стенке. Все эти гнезда размещены на отдельной панели размерами25 X 57 мм.
Телескопическая антенна расположена в левой части приемника.
Шкала диапазонов ДВ и СВ градуирована в килогерцах, а диапазонов КВ — в мегагерцах.
В нижней части корпуса приемника имеется пенал для размещения источника питания. Для подключения батарей имеются две контактные колодки. На передней стенке корпуса укреплен громкоговоритель типа 0,5ГД-10. Платы печатного монтажа, регулятор громкости, тембра и ручка настройки крепятся на металлическом шасси.
Монтаж радиоприемника выполнен на двух печатных платах.. На плате ПЧ, НЧ смонтированы узлы и детали усилителей низкой и промежуточной частоты, а также каскад стабилизатора напряжения. На этой же плате смонтирована телескопическая антенна. На плате ВЧ размещены узлы и детали входной цепи, гетеродина и смесителя.
Блок конденсаторов переменной емкости крепится к плате на амортизаторах. Это позволило повысить устойчивость радиоприемника к микрофонному эффекту. Конструкция верньерного устройства обеспечивает 12-кратное замедление передачи с ручки настройки на ось конденсатора настройки.
Расположение узлов и деталей на плате ВЧ показано на рис. 1, а\ на плате ПЧ, НЧ — на рис. 1, б; общая компановка узлов и деталей в корпусе приемника — на рис. 2; конструкция контуров ПЧ и гетеродинов ДВ и СВ — на рис. 3; общий вид переключателя диапазонов (П) — на рис. 4 на четвертой странице вкладки. Распайка выводов обмоток контуров и трансформаторов ВЧ и ПЧ показана на рис. 2 в тексте. Намоточные данные и основные параметры всех катушек приведены в таблице 2.



В приемнике применены резисторы типа УЛМ, конденсаторы типов КТ- la, КЛС, К-50-6, ПМ-2, подстроечные конденсаторы типа КТ-4-2 и конденсатор переменной емкости (КПЕ) типа K1IBM с воздушным диэлектриком. Минимальная емкость конденсатора 9,5 пф, максимальная — 260±5пф. Тангенс угла потерь КПЕ при емкости 120 пф на частоте 1 Мгц не превышает 0,0007. Температурный коэффициент емкости КПЕ не более +-400-10-6.
Переключатель диапазонов приемника — галетного типа на четыре положения (8 направлений). Его внешний вид показан на рис. 5 на четвертой странице вкладки. Емкость между незамкнутыми контактами переключателя не более 1 пф’, тангенс угла диэлектрических потерь на частоте 1 Мгц не более 0,025.
Телескопическая антенна типа А-12 имеет длину 1200 мм, наибольший диаметр 12 мм, наименьший — 3 мм. Антенна из 10 штырей (колен).
В приемнике применен громкоговоритель типа 0,5 ГД-10. Номинальная мощность громкоговорителя 0,5 вт’, полное электрическое сопротивление звуковой катушки 4,5 ом +- 10%; номинальный диапазон частот при неравномерности частотной характеристики 15 дб — 150—7000 гц; среднее звуковое давление 0,23 H/m2.
В качестве низкочастотных трансформаторов Тр1 и Тр2 применены соответственно трансформаторы типов СТ-1А и ТВ-1В. Оба трансформатора выполнены на сердечниках из пермаллоя марки 50Н с сечением магнитопровода 6X6,5 мм. Индуктивность первичной обмотки согласующего трансформатора (Тр1) при токе подмагничивания 1,5 ма составляет 2,3 гн, а выходного трансформатора (Тр2) — 0,8 гн.

Трансформаторы СТ-1А и ТВ-1В имеют необходимый запас по мощности и хорошую фазочастотную характеристику. Их намоточные данные приведены в таблице 3; распайка выводов обмоток трансформатора СТ-1А показана на рис. 3, а; трансформатора ТВ-1В — на рис. 3,6 в тексте.





